Редуктор моста КАМАЗ 43118 и его устройство
Главная » Редуктор КАМАЗ 43118
Редуктор КАМАЗ 43118 выпускается в вариантах 49 до 50 зубьев под полуось на 20 шлицов. Наличие МКБ блокировки позволяет автомобилю преодолевать любые препятствия. Цена на эту передачу среднего и заднего моста указана в нашем каталоге:
Новые разделы с полезными материалами
Документация и эксплуатация
Неисправности редукторов
Ремонт редукторов
Вопросы и ответы
Устройство редуктора КамАЗ 43118 не имеет существенных отличий от остальных механизмов подобного типа. Хотя сейчас выпускается большое количество этих агрегатов, многие из них унифицированы и могут применяться на разных грузовиках Камского Автомобильного Завода.
Для переднего ведущего моста, как редуктор на КамАЗ 43118 успешно используется деталь от КамАЗа 43114. На средний мост также подойдёт редуктор от этого же авто. Также можно использовать комплектующие, устанавливаемые на грузовиках без переднего привода (КамАЗ 65115, 65117 и прочие).
Конструктивно, данные узлы были спроектированы очень удачно, поэтому не претерпели серьёзных изменений. За годы эксплуатации они зарекомендовали себя надёжными и неприхотливыми в работе.
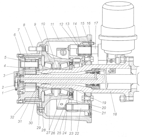
Редуктор КамАЗ 43118 преобразовывает вращение двигателя, снижая его частоту и, соответственно, повышая силу. В его состав входят элементы главной передачи и межколёсного дифференциала. Конструкция главной передачи позволяет установить ось моста на 90 градусов по отношению к карданному валу.
Состоит редуктор КамАЗ 43118 из картера, в котором находятся подвижные части механизма. Ведущие валы переднего и заднего мостов имеют на одном конце фланец для присоединения коленчатого вала. Средний мост снабжён валом с фланцами на обоих концах – для соединения с межосевым дифференциалом.
Большая коническая шестерня находится на промежуточном валу, вместе с ведущей цилиндрической шестернёй. Большая цилиндрическая шестерня (ведомая) своего вала не имеет и собрана как один узел с межколёсным дифференциалом.Механизм межколёсного дифференциала, вмонтированный в редуктор КамАЗ 43118, выполняет роль распределения момента вращения между колёсами. Состоит он из двух чаш, соединяемых с большой цилиндрической шестернёй. Внутри этой конструкции расположены крестовина с сателлитами на концах и две полуосевые шестерни. Узкая часть чаш дифференциала снабжена роликовыми подшипниками.
На поворотах дороги, когда колёса с одной стороны автомобиля проходят большую дистанцию, чем с другой, начинает работать дифференциал. Сателлиты начинают вращаться вокруг своей оси, и увеличивают обороты одной полуосевой шестерни, замедляя другую. Входящие с ними в зацепление полуоси, вращаются с той же частотой, далее крутящий момент передаётся колёсам.
Редуктор автомобиля КамАЗ 43118 оборудован системой блокировки дифференциала.
Для этого левая его чашка выполнена со шлицами, на которые устанавливают муфту блокировки. В условиях скользкой или мокрой грунтовой дороги колёса могут пробуксовывать, и проходимость автомобиля снижается. При включённой блокировке обе полуоси вращаются с одинаковой скоростью, и пробуксовка исключается.
Грузовой автомобиль КамАЗ 43118 создан для работы в трудных дорожных условиях, поэтому для него важны хорошие тяговые характеристики. Для этого редуктор моста КамАЗ 43118 имеет передаточное число 6,53 или 7,22. Это соответствует применению большой цилиндрической шестерни на 49 или 50 зубов.
Крепится картер редуктора в центральной части среднего и заднего мостов. В переднем ведущем мосту он сдвинут влево от середины. В полость картера, через специальное отверстие, заливается 7 литров трансмиссионного масла – для смазки подшипников и трущихся поверхностей механизма. Отверстие закрывается пробкой. Внизу имеется сливное отверстие – для замены отработанного масла.
Купить двигатель камаз
Ваше имя
Ваш e-mail
Телефон
Сообщение
×
Купить блок цилиндров камаз
Ваше имя
Ваш e-mail
Телефон
Сообщение
×
Купить вал коленчатый камаз
Ваше имя
Ваш e-mail
Телефон
Сообщение
×
Купить редуктор камаз
Ваше имя
Ваш e-mail
Телефон
Сообщение
Купить мост камаз
Ваше имя
Ваш e-mail
Телефон
Сообщение
×
Купить коробку передач камаз
Ваше имя
Ваш e-mail
Телефон
Сообщение
×
Купить вал карданный камаз
Вы можете написать нам сообщение и мы в ближайшее время свяжемся с вами
или позвоните по телефону 8 (926) 442-81-73
Ваше имя
Ваш e-mail
Телефон
Сообщение
×
Купить кабину камаз
Ваше имя
Ваш e-mail
Телефон
Сообщение
×
Купить коробку раздаточную
Ваше имя
Ваш e-mail
Телефон
Сообщение
×
Обмен старого двигателя
Ваше имя
Ваш e-mail
Телефон
Сообщение
×
Заказать запчасть
Ваше имя
Ваш e-mail
Телефон
Сообщение
×
Редуктор моста КАМАЗ 43118 и его устройство
Редуктор КАМАЗ 43118
Редуктор КАМАЗ 43118 выпускается в вариантах 49 до 50 зубьев под полуось на 20 шлицов.
Наличие МКБ блокировки позволяет автомобилю преодолевать любые препятствия. Цена на эту передачу среднего и заднего моста указана в нашем каталоге:
Новые разделы с полезными материалами
Документация и эксплуатация
Устройство редуктора КамАЗ 43118 не имеет существенных отличий от остальных механизмов подобного типа. Хотя сейчас выпускается большое количество этих агрегатов, многие из них унифицированы и могут применяться на разных грузовиках Камского Автомобильного Завода.
Для переднего ведущего моста, как редуктор на КамАЗ 43118 успешно используется деталь от КамАЗа 43114. На средний мост также подойдёт редуктор от этого же авто. Также можно использовать комплектующие, устанавливаемые на грузовиках без переднего привода (КамАЗ 65115, 65117 и прочие). Как редуктор заднего моста КамАЗ 43118 применяются механизмы главных передач всей линейки авто Евростандарта, снабжённые блокировкой межколёсного дифференциала.
Конструктивно, данные узлы были спроектированы очень удачно, поэтому не претерпели серьёзных изменений.
За годы эксплуатации они зарекомендовали себя надёжными и неприхотливыми в работе.
Редуктор КамАЗ 43118 преобразовывает вращение двигателя, снижая его частоту и, соответственно, повышая силу. В его состав входят элементы главной передачи и межколёсного дифференциала. Конструкция главной передачи позволяет установить ось моста на 90 градусов по отношению к карданному валу.
Состоит редуктор КамАЗ 43118 из картера, в котором находятся подвижные части механизма. Ведущие валы переднего и заднего мостов имеют на одном конце фланец для присоединения коленчатого вала. Средний мост снабжён валом с фланцами на обоих концах – для соединения с межосевым дифференциалом. На шлицах ведущего вала устанавливается малая коническая шестерня, она же является ведущей. Большая коническая шестерня находится на промежуточном валу, вместе с ведущей цилиндрической шестернёй. Большая цилиндрическая шестерня (ведомая) своего вала не имеет и собрана как один узел с межколёсным дифференциалом. Механизм межколёсного дифференциала, вмонтированный в редуктор КамАЗ 43118, выполняет роль распределения момента вращения между колёсами.
Состоит он из двух чаш, соединяемых с большой цилиндрической шестернёй. Внутри этой конструкции расположены крестовина с сателлитами на концах и две полуосевые шестерни. Узкая часть чаш дифференциала снабжена роликовыми подшипниками.
На поворотах дороги, когда колёса с одной стороны автомобиля проходят большую дистанцию, чем с другой, начинает работать дифференциал. Сателлиты начинают вращаться вокруг своей оси, и увеличивают обороты одной полуосевой шестерни, замедляя другую. Входящие с ними в зацепление полуоси, вращаются с той же частотой, далее крутящий момент передаётся колёсам.
Редуктор автомобиля КамАЗ 43118 оборудован системой блокировки дифференциала. Для этого левая его чашка выполнена со шлицами, на которые устанавливают муфту блокировки. В условиях скользкой или мокрой грунтовой дороги колёса могут пробуксовывать, и проходимость автомобиля снижается. При включённой блокировке обе полуоси вращаются с одинаковой скоростью, и пробуксовка исключается.
Грузовой автомобиль КамАЗ 43118 создан для работы в трудных дорожных условиях, поэтому для него важны хорошие тяговые характеристики.
ГРУЗОВЫЕ АВТОМОБИЛИ ГАЗ, ЗИЛ, КАМАЗ, УРАЛ, МАЗ, КРАЗ
_________________________________________________________________________________________
Обслуживание редуктора и ступиц ведущих мостов Камаз-4310
Редуктор мостов автомобилей Камаз-4310, 55111, 43118
Главные передачи редуктора мостов автомобилей Камаз-4310, 55111, 43118 подлежат замене при следующих неисправностях: — Повышенный шум и стуки при работе, а также заклинивание в результате износа или разрушения подшипников и зубьев зубчатых колес.
— Механические повреждения, нарушающие их нормальную работу (пробоины, трещины обломы картера главной передачи, срыв резьбы под шпильки и болты крепления крышек и др.). Снятие редуктора переднего моста Камаз-4310, 55111, 43118 — Выверните пробку сливного отверстия и слейте масло из картера главной передачи переднего моста. Очистите магнит пробки от металлических частиц и вверните пробку — Закройте краны запора воздуха централизованной системы регулирования давления в шинах всех колес — Отверните гайки М12 и выверните болты М8 крепления защитного кожуха гибкого шланга подвода воздуха, снимите пружинные шайбы и защитный кожух — Выверните болты М8 крепления крана к полуоси, снимите кран с прокладкой и отведите его в сторону — Отверните гайки крепления фланцев полуосей, снимите пружинные шайбы и разжимные втулки — С помощью технологических болтов выпрессуйте фланец полуоси и снимите прокладку — Ослабьте гайки крепления колес — Затормозите стояночной тормозной системой колеса заднего и промежуточного мостов Камаз-4310, 55111, 43118, вывесите переднюю часть автомобиля и поставьте подставки под раму.
— Отверните гайки крепления колес и снимите колеса — Отверните контргайку, снимите замочную шайбу, отверните гайку подшипников ступицы — Установите съемник и спрессуйте ступицу колеса с цапфы — Отсоедините шланги системы регулирования давления воздуха в шинах — Расшплинтуйте оси тормозных колодок, снимите пружины тормозных колодок и колодки — Отверните гайки шпилек крепления суппорта и цапфы к корпусу поворотного кулака, снимите пружинные шайбы, суппорт, цапфу с наружным кулаком и диском шарнира равных угловых скоростей в сборе — Выньте полуось с внутренним кулаком Камаз-4310, 55111, 43118 в сборе — Отсоедините карданный вал привода переднего моста от фланца ведущего вала главной передачи, отвернув гайки и вынув болты М14 — Отсоедините поперечную рулевую тягу, расшплинтовав и отвернув гайку левого шарового пальца — Отверните гайки шпилек крепления картера редуктора к картеру моста Камаз-4310, 55111, 43118 — Закатите тележку под автомобиль (с левой стороны). Выньте главную передачу из картера моста, опустите ее на тележку и выкатите из-под автомобиля.
Установка редуктора переднего моста Камаз-4310, 55111, 43118 — Смажьте прокладку уплотняющей пастой с обеих сторон. Установите прокладку и главную передачу на картер переднего моста, наденьте на шпильки пружинные шайбы, наверните н затяните гайки М14 с моментом 137—157 Нм (14—16 кг/см). — Установите полуоси переднего моста Камаз-4310, 55111, 43118 с внутренними кулаками — Установите цапфу, суппорт, наружный кулак, диск шарнира и закрепите к корпусу поворотного кулака — Установите тормозные колодки на оси и пружины тормозных колодок — Подсоедините шланги системы регулирования давления воздуха в шинах. Скручивание шлангов не допускается — Выверните пробку и заполните полость поворотного кулака смазкой — Отрегулируйте. подшипники ступиц колес — Установите и закрепите ведущий фланец полуоси Камаз-4310, 55111, 43118 — Установите поперечную рулевую тягу, вставив палец в отверстие левого поворотного рычага, наверните гайку с моментом 245—314 Нм (25—32 кг/см) и зашплинтуйте ее — Соедините карданный вал привода переднего моста с фланцем ведущего вала главной передачи.
Момент затяжки гаек болтов 78—88 Нм (8—9 кг/см) — Установите колеса переднего моста, наверните гайки. — Поднимите переднюю часть автомобиля, уберите подставку и опустите автомобиль на колеса. — Затяните гайки колес с моментом 392—490 Нм (40—50 кг/см) — Смажьте уплотняющей пастой прокладку с обеих сторон, положите ее на корпус крана запора воздуха. Установите корпус крана на фланец полуоси и закрепите четырьмя болтами — Установите и закрепите защитный кожух шланга подкачки шин — Откройте краны централизованной системы регулирования давления в шинах всех колес — Выверните заливную и контрольную пробки, залейте масло, вверните пробки. Снятие редуктора заднего / промежуточного моста Камаз-4310, 55111, 43118 — Выверните пробку сливного отверстия и слейте масло из картера моста. Очистите магнитную пробку от металлических частей и вверните ее — Закройте краны централизованной системы регулирования давления в шинах всех колес. — Отверните гайки М12 и выверните болт М8 крепления защитного кожуха гибкого шланга подвода воздуха, снимите пружинные шайбы и защитный кожух — Выверните болты М8 крепления корпуса крана, снимите кран и отведите его в сторону — Отверните гайки крепления полуоси, снимите пружинные шайбы и разжимные втулки — С помощью технологических болтов выпрессуйте и выньте полуоси, снимите прокладки полуосей — Снимите два щита пола платформы, находящиеся над главной передачей, отвернув гайки М8 крепления прижимов — Отверните гайки М8 крепления усилителя пола платформы и снимите его — Отверните гайки М10 болтов крепления фланца карданного вала привода промежуточного моста Камаз-4310, 55111, 43118 к фланцу главной передачи промежуточного моста, выньте болты и отведите карданный вал в сторону — Отверните гайки М14 болтов крепления фланца карданного вала привода заднего моста к фланцу заднего (промежуточного) моста, выньте болты и отведите карданный вал в сторону) — Отверните гайки М20 крепления рычага верхней реактивной штанги, снимите пружинные шайбы и разжимные втулки и отведите штангу вверх — Отверните гайки М16 шпилек крепления главной передачи, снимите пружинные шайбы, разжимные втулки, тройник развода воздуха для подкачки шин заднего (промежуточного) моста — Зачальте главную передачу Камаз-4310, 55111, 43118 за монтажную петлю и концы главной передачи, снимите и установите ее на подставку.
Установка главной передачи редуктора заднего (промежуточного) моста Камаз-4310, 55111, 43118 — Смажьте прокладку уплотняющей пастой с обеих сторон и установите ее на мост. Зачальте главную передачу чалочным приспособлением и установите его на задний (промежуточный) мост. Снимите чалочное приспособление и выкатите кран. — Наденьте на шпильки разжимные втулки, угольник развода воздуха подкачки шин заднего (промежуточного) моста Камаз-4310, 55111, 43118, пружинные шайбы, наверните гайки М16 и затяните их с моментом 157—176 Нм (16—18 кг/см) — Поднимите карданный вал привода заднего моста и присоедините его к фланцу главной передачи заднего (промежуточного) моста, вставьте в отверстия болты Ml4, наденьте пружинные шайбы, наверните гайки и затяните их с моментом 78—88Нм (8—9 кг/см) — Поднимите карданный вал привода промежуточного моста и присоедините его к фланцу главной передачи промежуточного моста. Момент затяжки 59—69 Нм (6—7 кг/см) — Наденьте рычаг верхней реактивной штанги на шпильки, поставьте разжимные втулки, пружинные шайбы, наверните гайки и затяните их с моментом 353—392 Нм (36—40 кг/см) — Нанесите слой уплотняющей пасты на прокладку полуоси с обеих сторон, наденьте ее на шпильки крепления полуоси.
Вставьте полуось в картер заднего (промежуточного) моста Камаз-4310, 55111, 43118, поставьте на шпильки разжимные втулки и пружинные шайбы, наверните гайки Ml2 и затяните их с моментом 64—78 Нм (6,5—8 кг/см) — Установите и закрепите корпус крана запора воздуха к фланцу полуоси, предварительно смазав прокладку уплотняющей пастой — Откройте краны запора воздуха централизованной системы регулирования давления в шинах всех колес — Установите защитный кожух гибкого шланга и закрепите его — Выверните заливную и контрольную пробки заднего (промежуточного) моста, залейте масло в картер моста до уровня, заверните контрольную и заливную пробки — Установите усилитель пола платформы и закрепите его — Установите щиты пола платформы и закрепите их Шаровая опора и ступицы мостов Камаз-4310, 55111, 43118 Снятие шаровой опоры Камаз-4310, 55111, 43118 (сальников, внутреннего и наружного кулаков) — Снимите колесо, ступицу с тормозным барабаном Камаз-4310, 55111, 43118 в сборе — Снимите тормозные камеры — Снимите тормозные колодки, суппорт и разжимной кулак — Снимите цапфу — Выньте из цапфы наружный кулак 30 (см.
рис.1) с вкладышем — Выньте из шаровой опоры внутренний кулак 13 с вкладышем 15 и диском 16 — Отверните гайки шпилек крепления нижней накладки 18 корпуса 7 поворотного кулака. Снимите пружинные шайбы, накладку 18, регулировочные прокладки, наружное кольцо подшипника — Выверните болты крепления крышки сальника 17 к корпусу 7 поворотного кулака — Выпрессуйте съемником роликоподшипник 19, как показано на рис. 48. — Установите под поворотный кулак Камаз-4310, 55111, 43118 подставку — Отверните гайки шпилек крепления рычага 9 (рис.1) поворотного кулака (верхней накладки правого поворотного кулака). Снимите пружинные шайбы, разжимные втулки, рычаг 9 (верхнюю накладку), регулировочные прокладки, наружное кольцо роликоподшипника 19 — Выпрессуйте роликоподшипник — Отсоедините корпус 7 от шаровой опоры, поверните его и установите на подставку. Снимите сальник 17. — Отверните гайки и выверните болт крепления шаровой опоры к картеру моста — Выпрессуйте шаровую опору, ввернув технологические болты.
— Выньте сальник шаровой опоры 12
Рис.1. Мост передний Камаз-4310, 55111, 43118 1 — колодка переднего тормозного механизма; 2 — ролик колодки; 3 — кулак разжимной левый- 4 — штуцер ввертный; 5-штуцер переходной; 5-головка подвода воздуха; 7— корпус поворотного кулака; 8-масленка; 9-рычаг поворотного кулака; 10 —передача главная переднего моста; 11 — рычаг регулировочный; 12 — опора шаровая поворотного кулака; 13 — кулак шарнира внутренний левый; 14-пробка; 15-вкладыш кулака шарнира; 16 — диск шарнира; 17 — сальник; 18-накладка кулака нижняя; 19, 24, 34 — подшипники; 20 — манжета; 21 — щиток тормозного механизма; 22 — суппорт переднего тормозного механизма; 23 — ось тормозных колодок; 25 — цапфа поворотного кулака левая; 26 — ступица с тормозным барабаном; 27, 32 — шайбы замковые; 28 — фланец ведущий; 29-кран запора воздуха; 30 — кулак шарнира наружный; 31 — контргайка подшипников; 33 —гайка подшипников Установка шаровой опоры Камаз-4310, 55111, 43118 (сальников, внутреннего и наружного кулаков) — Установите шаровую опору 12 в корпус 7 поворотного кулака.
Напрессуйте подшипники 19 на шкворни поворотного кулака — Установите наружные кольца подшипников, прокладки, накладки 18 нижнюю и верхнюю (рычага 9). Заверните гайки шпилек крепления накладок (рычага). — Запрессуйте в гнездо шаровой опоры сальник. — Наденьте сальник 17 на поворотный кулак, вверните болты крепления крышки сальника 17. Заложите в кромки манжеты сальника смазку. — Проверьте момент проворачивания поворотного кулака Камаз-4310, 55111, 43118. Момент проворачивания должен быть 4,9—7,7 Нм (0,5—0,3 кг/см). Регулируйте подбором регулировочных прокладок 5. Разница в толщине пакетов регулировочных прокладок должна быть не более 0,05 мм. — Установите поворотный кулак с шаровой опорой в сборе в гнездо картера моста. Заверните гайки и вверните болт крепления шаровой опоры. — Вставьте внутренний кулак 13 в сборе с вкладышем 15 во втулку шаровой опоры, поворачивая кулак и совмещая шлицы кулака со шлицами полуосевого зубчатого колеса-дифференциала Камаз-4310, 55111, 43118 — Выдвиньте внутренний кулак 13 из шаровой опоры и, поддерживая диск 16, направьте поворотную цапфу в сборе с наружным кулаком так, чтобы диск вошел в пазы вкладышей — Наденьте цапфу на шпильки, вверните болты крепления цапфы.
— Наденьте на цапфу суппорт сальник наружный. Заверните гайки крепления суппорта, сальника к корпусу 7 поворотного кулака — Установите разжимной кулак и тормозные колодки — Установите тормозные камеры — Установите ступицу с тормозным барабаном в сборе — Отрегулируйте тормозные механизмы — Установите ведущий фланец, колесо, кран запора воздуха — Заправьте полость шаровой опоры смазкой Снятие ступицы с тормозным барабаном, подшипников и манжеты ступицы Камаз-4310, 55111, 43118 — Ослабьте гайки крепления колеса на ступице, вывесите колесо, установите под картер моста подставку — Отверните гайки, снимите защитный кожух и кран 29 (см. рис.1) запора воздуха — Отверните гайки и снимите колесо. — Поднимите кабину в первое положение и застопорите. — Растормозите колесный механизм Камаз-4310, 55111, 43118, отвернув винт механического растормаживания энергоаккумулятора. — Отверните гайки шпилек крепления ведущего фланца 28 переднего моста, снимите пружинные шайбы и разжимные втулки — Вверните технологические болты и снимите фланец 28 ведущий переднего моста, выверните технологические болты и снимите прокладку ведущего фланца.
Удалите смазку из гнезда ступицы под наружный подшипник — Разогните замковую шайбу 32 контргайки, отверните контргайку 31 подшипника ступицы, снимите замковые шайбы 27, 32, отверните гайку 33 — Съемником снимите с цапфы ступицу 26 (см. рис.1) с тормозным барабаном, подшипниками 24, 34 и манжетой 20 в сборе. — Выньте из ступицы Камаз-4310, 55111, 43118 внутреннее кольцо наружного подшипника 34 — Выньте манжету 20, внутреннее кольцо внутреннего подшипника 24 Установка ступицы с тормозным барабаном, подшипников и манжеты ступицы Камаз-4310, 55111, 43118 — Протрите и смажьте наружные кольца внутреннего и наружного подшипников. — Установите внутреннее кольцо внутреннего подшипника 24 — Смажьте рабочую кромку манжеты 20 — Запрессуйте манжету 20 в ступицу. — Установите ступицу в сборе с тормозным барабаном, внутренним подшипником и манжетой на цапфу 25 поворотного кулака Камаз-4310, 55111, 43118. — Установите на цапфу внутреннее кольцо наружного подшипника ступицы — Заверните до отказа гайку 33 подшипников ступицы и отпустите ее на 1/8 оборота.
При затяжке гайки поворачивайте ступицу Камаз-4310, 55111, 43118 в обоих направлениях, чтобы ролики подшипников заняли правильное положение — Установите замковую шайбу 27 так, чтобы штифт гайки совпал с одним из отверстий шайбы. Если отверстия не совпадут, то отверните гайку до совпадения ближайшего отверстия со штифтом — Установите замковую шайбу 32, заверните контргайку 31 с моментом 137,2—156,8 Нм (14—16 кг/см). Отогните замковую шайбу — Установите до упора ведущий фланец 28 переднего моста, проверив наличие и исправность уплотнительной прокладки, предварительно смазанной уплотнительной пастой — Установите на шпильки крепления ведущего фланца, разжимные втулки, пружинные шайбы и заверните гайки -Вверните винт механического растормаживания энергоаккумулятора. — Наденьте на шпильки ступицы колесо, наверните гайки. — Установите и закрепите кран 29 запора воздуха и защитный кожух — Уберите подставку и опустите мост. Затяните гайки крепления колеса с моментом 392—490 Нм (40—50 кг/см)
_________________________________________________________________________________________
- Техобслуживание сцепления ГАЗ-3307
- Система рулевого управления ГАЗ-3307
- Детали КПП автомобиля ГАЗ-3307
- Обслуживание заднего моста ГАЗ-3307
- Обслуживание топливной системы дизельного двигателя Д-245
- Сцепление ГАЗ-3309 с дизельным двигателем
- Операции по разборке коробки передач ГАЗ-3309
- Сервис переднего моста ГАЗ-3309
- Ремонт карданных валов автомобилей ГАЗ-3309
_________________________________________________________________________________________
_________________________________________________________________________________________
- Операции по сборке базовых компонентов двигателя ЗИЛ-130
- Операции по сервису и ремонту КПП ЗИЛ-130
- Техобслуживание и ремонт сцепления ЗИЛ-130
- Ремонт и регулировки заднего моста ЗИЛ-130
_________________________________________________________________________________________
- КАМАЗ-4310, 43118, 43114
- КАМАЗ-5320, 55111, 53212, 5511, 55102
- КАМАЗ-65115, 6520, 65117
- КАМАЗ-4308
- Двигатель КАМАЗ-740
_________________________________________________________________________________________
- Детали блока цилиндров и головки двигателя ЯМЗ-236
- Сервисное обслуживание поршневой группы и коленвала ЯМЗ-236
- Диагностика и технические регулировки двигателя ЯМЗ-236
- Устройство и регулировки ТНВД и форсунок двигателя ЯМЗ-236
- Блок цилиндров и поршневая ЯМЗ-238
- Компоненты системы питания топливом дизеля ЯМЗ-238
- Устройство и регулировки ТНВД дизеля ЯМЗ-238
- Техническая конструкция коробки передач ЯМЗ-239
_________________________________________________________________________________________
- Компоненты переднего моста и рулевые тяги автомобиля Маз-5516, 5440
- Система рулевого управления автомобилей Маз-5516, 5440
- Детали сцепления и коробки передач Маз-5516, 5440
- Техническое обслуживание ведущих мостов автомобилей Маз-5516, 5440
- Гидроусилитель рулевого управления автомобилей Маз-5551, 5335
- Обслуживание карданной передачи автомобилей Маз-5551, 5335
- Техбслуживание и регулировка сцепления Маз-5551, 5335
- Ремонт и сервис заднего моста автомобилей Маз-5551, 5335
_________________________________________________________________________________________
- Коробка переключения передач Урал-4320
- Устройство и регулировки мостов Урал-4320
- Обслуживание раздаточной коробки Урал-4320
- Компоненты рулевого управления Урал-4320
_________________________________________________________________________________________
- Обслуживание коробки передач КРАЗ-255, 260
- Рулевой механизм и ГУР Краз-255, 260
- Регулировки и ремонт цилиндра ГУР и рулевых тяг автомобиля Краз
- Компоненты ведущего моста и карданные валы Краз-255, 260
| Вес и грузоподъемность: Снаряженная масса автомобиля, кг ……………………………. ………..10400 Нагрузка на переднюю ось, кг………………….. ………………………..4700 Нагрузка на заднюю ось, кг………………….. ………………………………..5700 Грузоподъемность автомобиля, кг……………………………10000 Полная масса, кг…… …………………………………………. ..20700 Нагрузка на переднюю ось, кг………………………………………….. …………….5550 Нагрузка на заднюю ось, кг……………………. ………………………..15150 Полная масса прицепа, кг………….. ……………………………12000 Полная масса автопоезда, кг……… ………………. …………..32700 Двигатель: Модель ………………………………… ……………..740.13-260 (E-1) Тип……………………. ………………………..дизель с турбонаддувом Номинальная мощность, кВт (л.с.)……… …………………………..191 (260) при частоте вращения коленчатого вала, об/мин…………….. …………………………..2200 Максимальный крутящий момент, Fm (кгсм)………… …………………………..931 (95) при частоте вращения коленчатого вала, об/мин…………….. ………………..1300-1500 Расположение и количество цилиндров……………….V-образное, 8 Рабочий объем, л……………… …………………………………………10,85 Диаметр цилиндра и ход поршня, мм……………………………120/120 Степень сжатия……………………………. ………………………………..17 Топливная система: Емкость топливных баков, л. ………………………….. ……..350+210 Электрика: Напряжение, В……………………………….. …………………………..24 Аккумуляторные батареи, В/Ач…………………………………… ……2?2 Генератор, В/мас………………….. ………………….28/2000 Муфта: Тип ……………………………………………… мембранная, двухдисковая, модель 17 Привод…………………………..Гидравлический с пневмоусилителем Коробка передач: Тип ………………………………… …….Механическая, 10-ступенчатая Управление……………………………. …………..Механический, дистанционный Передаточные числа на передачах: 1 2 3 4 5 обр. 7,82 4,03 2,5 1,53 1,00 7,38 6,38 3,29 2,04 1,25 0,815 6,02 | Раздаточная коробка: Тип. ………………………………….механическая, двухступенчатая с блокируемым межосевым дифференциалом Управление……………………………….. …………………. Пневматический Передаточные числа: -первая передача (пониженная)………….. ………………………………..1,692 -вторая передача (высокая)………………………………….. ……….0,917 Бортовая передача: Передаточное отношение ………………………………………… …………………………..7.22 Тормоза: Привод………………………………. …………………………..пневматический Размер: диаметр барабана, мм……………… ……………………………400 Ширина тормозных накладок, мм……… ……………………………..140 Тормозные накладки общая площадь, кв.см……………………………6300 Колеса и шины: Тип колеса. ……………………………… ………………………диск Тип шины……………..Пневматическая , с регулировкой давления Размер обода…………………………………………… …..12,2-20,9 (310-533) Размер шин …………………………… ..425/85R1 (1260×425-533P) Кабина: Тип………………………………….Передняя, над двигателем, 3 места Опция ………………………………………………………. ……….со шпалом Платформа………………………………. Боковая часть, металлическая, с откидными бортами,съемная рама и навес Внутренний размер, мм………………………………………………………… 6100×2320 Спецификация автомобиля полной массой 20700 кг: Максимальная скорость, не менее, км/ч………………………. ……….90 Максимальный уклон, не менее, %…………………………. …. ……..28 Внешний радиус поворота, м…………………………………….. …. 11,5 |
Kamaz_military_vehicles-Flip Ebook Pages 1-50
Многоцелевые
Транспортные средства
Быстрые и сильные
Общие размеры (длина, ширина, высот)
. -осное шасси
Четырехосное шасси
Двигатель
Экологический стандарт
Максимальная скорость, не менее
СОДЕРЖАНИЕ
Нагрузка на ось, тонн Модель Стр.
Легкая 6-я категория ПВО «Мустанг» 8
Средняя 6-я категория 16
Тяжелая 8-я категория КАМАЗ 4326 (4х4) 24
8 КАМАЗ 43114 (6х6) 36
8 КАМАЗ 434502 (4х4)02 (4х4) 44
8 КАМАЗ 4911 (4×4) 52
10..13 КАМАЗ 43118 (6×6) 62
10..13 Камаз 63501 (8×8) 72
КАМАЗ 65224 (6×6)
10..13. 656060 (6×6)
10..13 kmaMARZ 656006006006060606060606060606060606060 (6×6)
10..13. ..13
Приложение 88
98
Седельные тягачи
111
КАМАЗ 65226 (6×6)
КАМАЗ 65228 (8×8)
Технические характеристики
7615 х 2500 x 3290 мм
3210 кг
КАМАЗ 4326 (4х4)
КАМАЗ-740.
11-240, КАМАЗ-740.31-240
ЕВРО-1, ЕВРО-2
а/м полной массой 8 16600 кг)
БЫСТРЫЙ И СИЛЬНЫЙ 4326многоцелевой автомобиль
Новый полноприводной КАМАЗ 4326
оборонный автомобиль грузоподъемностью 3,2 тонны
построен на базе автомобиля КАМАЗ 43114
в короткие сроки благодаря хорошей практике эксплуатации.
т/год автомобилей КАМАЗ с ВС,
Собственная сервисная сеть КАМАЗ и некоторые проектные допуски.
КАМАЗ 4326 имеет новый двигатель, оригинальную
раму и подвеску. Остальные
узлов и установок унифицированы с
таковыми серийного КАМАЗ 43114: коробка передач-б
модели 142, сцепление двухдисковое, картер раздаточной
модели 43114, рулевое управление модели 43114,
шины КАМА-1260. , кабина с высокой крышей, платформа 4800×2420
мм.
Военные специалисты пограничных войск, которые
, отвечающие за полигонные испытания автомобилей, констатировали, что
«автомобили
полностью соответствуют
требованиям, предъявляемым к автомобилям, которые
состоят на вооружении пограничных войск».
Также
отметили замечательную надежность, высокую маневренность
, плавность хода и высокую управляемость
автомобилей КАМАЗ 4326.
БЫСТРЫЙ И ПРОЧНЫЙ
КАМАЗ 4326 11
БЫСТРЫЙ И ПРОЧНЫЙ
КАМАЗ 4326 13
Вес и грузоподъемность:
Грузоподъемность автомобиля, кг 3210
Снаряженная масса автомобиля, кг 8090
Полная масса, кг 11600
Нагрузка на переднюю ось, кг 5600
Нагрузка на заднюю тележку, кг 6000
Полная масса автопоезда1 Двигатель:
Модель 740.11-240 (Евро-1)
Тип дизельный, турбированный,
V8
Номинальная мощность, кВт (л.с.) 176 (240)
Номинальная мощность, (нетто) кВт (19 л.с.) 230)
при частоте вращения коленчатого вала, об/мин 2200
Максимальный крутящий момент, (нетто) Н·м (кгс·м) 814 (83,1)
Рабочий объем, л 10,85
Модель 740.31-240 (Евро-2)
Тип дизельный, с турбонаддувом,
V8
0 Rw, мощность
0 л.
с. л.с.) 176 (240)
Номинальная мощность, (нетто) кВт (л.с.) 165 (225)
при вращении коленчатого вала, об/мин 2200
Максимальный крутящий момент, (нетто) Нм (кгс·м) 912 (93)
Рабочий объем, л 10,85
Коробка передач:
Модель 142
Число скоростей 5
Управление механическое
Низкие передачи 7,82
Высокие передачи 1
Корпус переноса:
Модель 43114
Количество скорости 2
Низкие шестерни 1 692
High Gears
.
Тип шины камера, давление
Регулировка
Размер шин 425/85 R21
Кабина:
Тип спереди, над двигателем
Исполнение с односпальным спальным местом
Платформа:
Внутренняя геометрия: 4900×2470×750
FAST AND STRONG длина × ширина × высота, мм
Спецификация полной массы автомобиля 16600 кг:
Максимальная скорость, не менее, км/ч 80
Максимальный уклон, не менее, % 36 (20°)
КАМАЗ 4326 15
43114автомобиль многоцелевой
Усовершенствованная компоновка и конструктивные
поправки модели
предыдущего поколения КАМАЗ 4310 предусматривали основательное обновление
этого автомобиля.
В результате КАМАЗ 43114 деф-9Автомобиль 0007 Fence разработан в 1991 году.
Новый автомобиль, напоминающий своих предшественников
, автомобиль КАМАЗ-4310, имеет новый и надежный двигатель
, доработанную коробку передач
модели 142, коробку передач с межосевой и
межколесной передачей. дифференциалы, система централизованной подкачки шин
, модифицированная раздаточная коробка, усиленные карданные валы
, новый механизм переключения низшей и высшей передач
, дополнительный топливный бак, кабина
с высокой крышей, КАМА-1260-1 широкого сечения шины
увеличенная вместимость. Все вышеперечисленные особенности
обеспечивают высокую маневренность на самых сложных полях.
7965 х 2500 x 3290 мм быстро и сильная
5785 кг
Kamaz 43114 (6×6)
Kamaz-740.13-260, Kamaz-740.31-240
8-260, EURAZ-740.31-240
8.1388.11288.1388.1388.138.138-260. с полной массой автомобиля
22920 кг)
17
БЫСТРЫЙ И СИЛЬНЫЙ
КАМАЗ 43114 19
БЫСТРЫЙ И СИЛЬНЫЙ
КАМАЗ 43114 21
Масса и грузоподъемность:
Грузоподъемность автомобиля, кг 5785
Снаряженная масса автомобиля, кг 9335
Полная масса, кг 15420
Нагрузка на переднюю ось, кг 5490
Нагрузка на заднюю тележку, кг 23 GTW 190 9 0 0 масса поезда, кг 22920
Двигатель:
Модель 740.
13-260 (Евро-1)
Тип дизельный, турбированный,
V8
Номинальная мощность, кВт (л.с.) 191,2 (260)
) кВт (л.с.) 183 (248,8)
при вращении коленчатого вала, об/мин 2200
Максимальный крутящий момент, (нетто) Н·м (кгс·м) 914 (93,3)
Рабочий объем, л 10,85
Модель 740.31-240 (Еврозаряд-2)
, дизельный V8
Номинальная мощность, кВт (л.с.) 176 (240)
Номинальная мощность, (нетто) кВт (л.с.) 165 (225)
при вращении коленчатого вала, об/мин 2200
Максимальный крутящий момент, (нетто) Нм (кгс·м) 912 (93)
Рабочий объем, л 10,85
Коробка передач:
Модель 142
Количество скорости 5
МЕХАНИЧЕСКИЕ МЕХАНИЧЕСКИЕ ПЕРЕДАЧИ
Низкие передачи 7,82
Высокие передачи 1
Трансфер:
Модель 43114
Номер скорости 2
Модель 43114
. Колеса и шины:
Тип колеса дисковый
Тип шины камера, давление
Регулировка
Размер шин 425/85 R21
Кабина:
Тип спереди, над двигателем
Исполнение одноместное спальное место
Платформа:
Внутренняя геометрия: 4900×2480×750
FAST AND STRONG длина × ширина × высота, мм
Спецификация полной массы автомобиля 22920 кг:
Максимальная скорость, не менее, км/ч 80
0
0
Максимальный уклон, не менее, % 36 (20°)
КАМАЗ 43114 23
7950х 2500 x 3035 мм
4500 кг
КАМАЗ 43502 (4×4)
КАМАЗ-740.
30-260 км/ч (с полной массой автопоезда 19700 кг)
БЫСТРЫЙ И СИЛЬНЫЙ 43502многоцелевой автомобиль
КАМАЗ 43502, тягач 4х4 двухосный высокобортной полноприводный
ед
предназначен для перевозки различных грузов, людей (при необходимости),
для буксировки прицепов и тягачей по любым дорогам
и местность. Автомобиль может работать в любых
климатических зонах и гористой местности до
4000м над уровнем моря, высота перевала
до 4655м.
Благодаря мощному двигателю и десятиступенчатой коробке передач
КАМАЗ 43502 обладает высокими мощностными и
динамическими характеристиками и низким расходом топлива.
Автомобиль оснащен двигателем КАМАЗ 740.30-260
мощностью 191 кВт (260 л.с.), соответствующим экологическим нормам
Евро-2.
Ведущие мосты имеют блокировку межколесного дифференциала
. Это значительно повышает проходимость
грузовика и безопасность движения.
На грузовые автомобили устанавливаются камерные шины 425/85 R 21 или 390/80R20
(по выбору заказчика) (опция
: бескамерные шины).
По Вашему запросу можем поставить шасси-
другой конфигурации, рассчитанные на ин-с
стоянка оборудования общего или специального назначения-
.
25
FAST AND STRONG
KAMAZ 43502 27
FAST AND STRONG
KAMAZ 43502 29
FAST AND STRONG
KAMAZ 43502 31
FAST AND STRONG
KAMAZ 43502 33
Weights and Load Capacitiy:
Грузоподъемность автомобиля, кг 4500
Снаряженная масса автомобиля, кг 8200
Полная масса, кг 12700
Нагрузка на переднюю ось, кг 5400
Нагрузка на заднюю тележку, кг 7300
Полная масса автопоезда, кг 19700
Двигатель:
Модель 740.30-260 (Евро-2)
Тип дизельный,
турбированный, V8
0 л.с. 191 (260)
Номинальная мощность, (нетто) кВт (л.с.) 180 (245)
при вращении коленчатого вала, об/мин 2200
Максимальный крутящий момент, (нетто) Нм (кгс·м) 1078 (110)
Рабочий объем, л 10 ,85
Коробка передач:
Модель 154
Число скоростей 10
Control mechanical
Low gears 7.
82
High gears 0.815
Transfer Case:
Model 65111
Number of speed 2
Low gears 1,692
High gears 0,917
Wheels and Tyres:
Wheel type disc
Тип шины камера, давление
регулировка
Размер шин 425/85 R21
Кабина:
Тип спереди, над двигателем
Исполнение с односпальным спальным местом
Платформа:
Внутренняя геометрия: 4890×2480×750
длина × ширина × высота, мм
Спецификация полной массы автомобиля 19700 кг:
Максимальная скорость, не менее, км/ч 100
FAST AND STRONG Максимальный уклон, не менее , % 60 (31°)
КАМАЗ 43502 35
7300 х 2500 x 3590 мм 4911автомобиль многоцелевой
5600 кг КАМАЗ 4911, 4х4 двухосный полноприводной 90 19АМ 49007 привод спецназначения 4х4) предназначен для буксировочных работ, для срочных
ела доставку различных грузов (людей при необходимости-
ЯМЗ 7Э846), буксировать прицепы и тягачи
по любым дорогам и местности.
Автомобиль
ЕВРО-1 может быть использован в качестве шасси под установку обще- или спец.
165 км/ч (с полным оборудованием спецназначения.
масса 15600 кг)
Все автомобили КАМАЗ этого семейства имеют
мощный пневматические тормоза, система централизованной подкачки шин
. Для повышения безопасности кабина оснащена
дополнительным интегрированным каркасом безопасности.
Задний ведущий мост имеет блокировку межколесного
дифференциала. Это значительно повышает проходимость грузовика по пересеченной местности и безопасность движения.
На грузовики установлены камерные шины Кама 1260, размер
: 425/85 R 21. Опция: Бескамерные шины MICHELIN
, модель XZL, размер: 14.00 R20, установленные на легкосплавные диски
.
В вашем распоряжении
преимущества мощного, функционального, надежного и крепкого КАМАЗ 4911. Это грузовик, который вам нужен.
Fast and Strong
37
Fast and Strong
Kamaz 4911 39
FAST и сильные
KAMAZ 4911 41
Веса и нагрузка
0128.
Нагрузка на переднюю ось, кг 7800
Нагрузка на заднюю тележку, кг 7800
Двигатель:
Модель ЯМЗ 7Э846 (Евро-1)
Тип дизельный,
турбированный, V8 л.с. 730)
при вращении коленчатого вала, RPM 2500
Максимальный крутящий момент, (net) NM (KGFM) 2700 (276)
При вращении коленчатого вала, RPM 1300–1400
.
Число скоростей 16
Управление механическое
Низкие передачи 13,74
Высокие передачи 0,84
Колеса и шины:
Колеса дисковые
Тип шин бескамерные (опция:
регулировка давления 7 090 камеры)0130
Размер шин 425/85 R21
(опция: 14,00 R20)
Кабина:
ТИПОВЫЙ ПЕРЕДНЯЯ × высота, мм
Спецификация полной массы автомобиля 15600 кг:
FAST AND STRONG Максимальная скорость, не менее, км/ч 165*
Максимальный уклон, не менее, % 60 (31°)
* с бескамерными шинами MICHELIN шины, модель XZL 14.00 R20
КАМАЗ 4911 43
43118автомобиль многоцелевой
Многоцелевой автомобиль КАМАЗ 43118 (6х6)
зарекомендовал себя при согласовании с заводами применения
автомобилей КАМАЗ для использования в составе модифицированного или вновь создаваемого военного парка
изготовление продукции
для Минобороны РФ-
.

Россия(id:60993) Подробнее о товаре — Посмотреть Грузовой автомобиль КАМАЗ — 43118 (6×6) 10 тонн. Россия от KAMAZ VEHICLE Sa., ( ATLANTIC GROUP )
…………..32700
………………………….. ……..350+210
………………………………….механическая, двухступенчатая с
……………………………… ………………………диск
…. ……..28