Page not found — РЕНО ЛОГАН. Блог
- Ремонт РЕНО ЛОГАН своими руками
- РАЗМЕРЫ
- Технические характеристики
- Паспортные данные Рено Логан
- Комбинация приборов
- Ключи зажигания с пультом сигнализации
- Замок зажигания Renault Logan 2005
- Блок управления вентиляцией, отоплением и кондиционированием
- Подрулевые переключатели Рено Логан
- Выключатель подушки безопасности переднего пассажира
- ЗАМЕНА ЛАМП
- Расположение основных узлов и агрегатов
- РЕГУЛИРОВКА СЦЕПЛЕНИЯ
- Замена ремня привода вспомогательных агрегатов
- ЗАМЕНА МАСЛА И МАСЛЯНОГО ФИЛЬТРА
- Замена охлаждающей жидкости
- ЗАМЕНА ТОПЛИВНОГО ФИЛЬТРА
- Проверка уровня и доливка масла в коробку передач
- Регламент технического обслуживания
- ПРОКАЧКА ТОРМОЗНОЙ СИСТЕМЫ (ТОРМОЗОВ)
- Проверка уровня жидкости в бачке гидропривода тормозной системы
- Двигатель Рено Логан. Описание конструкции
- ЗАМЕНА ПРОКЛАДКИ КРЫШКИ ГОЛОВКИ БЛОКА ЦИЛИНДРОВ
- РЕГУЛИРОВКА КЛАПАНОВ
- ЗАМЕНА САЛЬНИКА РАСПРЕДЕЛИТЕЛЬНОГО ВАЛА
- Замена прокладки выпускного коллектора двигателя
- Замена переднего сальника коленчатого вала
- Замена заднего сальника коленчатого вала двигателя
- ЗАМЕНА ДАТЧИКА МАСЛА
- ЗАМЕНА ПРОКЛАДКИ ПОДДОНА КАРТЕРА
- СНЯТИЕ МАСЛЯНОГО НАСОСА
- ЗАМЕНА ОПОР ДВИГАТЕЛЯ
- СНЯТИЕ И УСТАНОВКА ДВИГАТЕЛЯ
- ПРОВЕРКА И ЗАМЕНА РЕМНЯ ГРМ
- Система управления двигателем
- Снятие электронного блока управления
- ЗАМЕНА ДАТЧИКА ПОЛОЖЕНИЯ КОЛЕНЧАТОГО ВАЛА
- Снятие датчика температуры охлаждающей жидкости
- ЗАМЕНА ДАТЧИКА ПОЛОЖЕНИЯ ДРОССЕЛЬНОЙ ЗАСЛОНКИ
- ЗАМЕНА ДАТЧИКА ДЕТОНАЦИИ
- ЗАМЕНА ДАТЧИКА ТЕМПЕРАТУРЫ
- Снятие датчика абсолютного давления воздуха
- Снятие датчика концентрации кислорода
- ЗАМЕНА ДАТЧИКА СКОРОСТИ
- ЗАМЕНА КАТУШКИ ЗАЖИГАНИЯ
- СНЯТИЕ И РАЗБОРКА БЕНЗОНАСОСА
- ЗАМЕНА ВОЗДУШНОГО ФИЛЬТРА
- СНЯТИЕ ТОПЛИВНОЙ РАМПЫ И ФОРСУНОК
- ЗАМЕНА РЕГУЛЯТОРА ХОЛОСТОГО ХОДА
- СНЯТИЕ ДРОССЕЛЬНОГО УЗЛА
- Снятие впускного трубопровода, замена прокладок
- Снятие топливного бака Рено Логан
- ЗАМЕНА АДСОРБЕРА
- ЗАМЕНА ТРОСА ДРОССЕЛЬНОЙ ЗАСЛОНКИ
- СИСТЕМА ОХЛАЖДЕНИЯ ДВИГАТЕЛЯ
- ЗАМЕНА ТЕРМОСТАТА
- ЗАМЕНА ВЕНТИЛЯТОРА РАДИАТОРА
- ЗАМЕНА РАДИАТОРА
- ЗАМЕНА ВОДЯНОГО НАСОСА
- Замена троса привода выключения сцепления
- СЦЕПЛЕНИЕ.
ОПИСАНИЕ - СИСТЕМА ОХЛАЖДЕНИЕ
- Система выпуска отработавших газов
- ЗАМЕНА СЦЕПЛЕНИЯ
- КОРОБКА ПЕРЕДАЧ.ОПИСАНИЕ
- Замена втулок рычага переключения передач КП
- Снятие рычага переключения передач
- Снятие тяги управления коробкой передач
- Замена сальника привода правого колеса
- СНЯТИЕ КОРОБКИ ПЕРЕДАЧ
- Приводы передних колес
- Снятие приводов передних колес
- ЗАМЕНА ПЫЛЬНИКА ШРУСА
- Замена чехла и подшипника внутреннего шарнира привода правого колеса
- Замена грязезащитного чехла наружного шарнира привода колеса
- ПЕРЕДНЯЯ ПОДВЕСКА
- СНЯТИЕ ПЕРЕДНЕЙ СТОЙКИ
- Замена элементов стабилизатора поперечной устойчивости
- Снятие рычага передней подвески
- ЗАМЕНА ШАРОВОЙ ОПОРЫ
- Снятие подрамника передней подвески
- ЗАМЕНА СТУПЕНЧАТОГО ПОДШИПНИКА ПЕРЕДНЕГО КОЛЕСА
- ЗАДНЯЯ ПОДВЕСКА.ОПИСАНИЕ
- ЗАМЕНА ЗАДНЕЙ СТОЙКИ
- ЗАМЕНА ПРУЖИНЫ ЗАДНЕЙ ПОДВЕСКИ
- Замена сайлент-блока рычага балки
- Замена подшипника заднего колеса
- РУЛЕВОЕ УПРАВЛЕНИЕ
- Снятие рулевого колеса
- Снятие рулевой колонки
- ЗАМЕНА НАКОНЕЧНИКА РУЛЕВОЙ ТЯГИ
- Замена чехла рулевого механизма
- СНЯТИЕ РУЛЕВОЙ РЕЙКИ
- СНЯТИЕ НАСОСА ГИДРОУСИЛИТЕЛЯ РУЛЯ
- ПРОКАЧКА ГИДРОУСИЛИТЕЛЯ РУЛЯ
- ТОРМОЗНАЯ СИСТЕМА.
ОПИСАНИЕ - ЗАМЕНА ПЕРЕДНИХ ТОРМОЗНЫХ КОЛОДОК
- Замена защитного чехла поршня тормозного механизма переднего колеса
- ЗАМЕНА ЗАДНИХ ТОРМОЗНЫХ КОЛОДОК
- Снятие главного тормозного цилиндра
- Снятие обратного клапана вакуумного усилителя тормозов
- ЗАМЕНА ВАКУУМНОГО УСИЛИТЕЛЯ ТОРМОЗОВ
- Замена шланга тормозного механизма переднего колеса
- Замена диска тормозного механизма переднего колеса
- Замена колесного цилиндра тормозного механизма заднего колеса
- Замена шланга тормозного механизма заднего колеса
- ЗАМЕНА ТРОСОВ РУЧНИКА
- Регулировка привода стояночного тормоза
- Снятие датчика скорости вращения переднего колеса
- Снятие датчика скорости вращения заднего колеса
- Снятие блока АБС
- Электрооборудование Рено Логан
- ЗАМЕНА ПРЕДОХРАНИТЕЛЕЙ
- Снятие реле и предохранителей
- Замена катушки иммобилайзера и выключателя зажигания
- Снятие генератора, замена регулятора напряжения и выпрямительного блока
- СНЯТИЕ И РАЗБОРКА СТАРТЕРА
- ЗАМЕНА ЛАМП В БЛОК-ФАРЕ
- ЗАМЕНА БЛОК-ФАРЫ
- Снятие исполнительного механизма регулятора направления пучков света фар
- Замена лампы противотуманной фары
- ЗАМЕНА ЛАМПЫ БОКОВОГО УКАЗАТЕЛЯ ПОВОРОТА
- Снятие выключателя света заднего хода
- ЗАМЕНА ЛАМП В ЗАДНЕМ ФОНОРЕ
- Замена лампы в дополнительном сигнале торможения
- Снятие фонаря освещения заднего номерного знака, замена лампы
- Замена ламп плафона освещения салона, снятие плафона
- Снятие подрулевых переключателей
- Снятие звуковых сигналов
- Снятие выключателей на консоли панели приборов
- Снятие мотор-редуктора очистителя ветрового стекла
- Снятие электронасоса омывателя ветрового стекла
- Снятие комбинации приборов
- Снятие коммутационного блока
- Снятие блока управления подушками безопасности
- Снятие грязезащитных щитков переднего бампера
- Снятие грязезащитных щитков моторного отсека
- Снятие брызговиков и подкрылков передних колес
- СНЯТИЕ ЗАДНЕГО БАМПЕРА
- СНЯТИЕ ПЕРЕДНЕГО БАМПЕРА
- Снятие обивки передней двери
- Снятие наружного зеркала заднего вида
- Снятие стекла передней двери
- Снятие механизма электростеклоподъемника передней двери
- Снятие замка и наружной ручки передней двери
- СНЯТИЕ ОБИВКИ ЗАДНЕЙ ДВЕРИ
- СНЯТИЕ СТЕКЛА ЗАДНЕЙ ДВЕРИ
- Снятие механизма cтеклоподъемника задней двери
- Снятие нижней обивки панели приборов
- СНЯТИЕ ПАНЕЛИ ПРИБОРОВ
- Система вентиляции, отопления и кондиционирования
- Снятие блока управления вентиляцией, отоплением и кондиционированием воздуха
- Снятие вентилятора отопителя
- Снятие дополнительного резистора вентилятора отопителя
- СНЯТИЕ РАДИАТОРА ПЕЧКИ
- СНЯТИЕ КОМПРЕССОРА КОНДИЦИОНЕРА
- Поддельный ремень ГРМ(Видео)
Unfortunately the page you’re looking doesn’t exist (anymore) or there was an error in the link you followed or typed.
This way to the home page.
- Ремонт РЕНО ЛОГАН своими руками
- РАЗМЕРЫ
- Технические характеристики
- Паспортные данные Рено Логан
- Комбинация приборов
- Ключи зажигания с пультом сигнализации
- Замок зажигания Renault Logan 2005
- Блок управления вентиляцией, отоплением и кондиционированием
- Подрулевые переключатели Рено Логан
- Выключатель подушки безопасности переднего пассажира
- ЗАМЕНА ЛАМП
- Расположение основных узлов и агрегатов
- РЕГУЛИРОВКА СЦЕПЛЕНИЯ
- Замена ремня привода вспомогательных агрегатов
- ЗАМЕНА МАСЛА И МАСЛЯНОГО ФИЛЬТРА
- Замена охлаждающей жидкости
- ЗАМЕНА ТОПЛИВНОГО ФИЛЬТРА
- Проверка уровня и доливка масла в коробку передач
- Регламент технического обслуживания
- ПРОКАЧКА ТОРМОЗНОЙ СИСТЕМЫ (ТОРМОЗОВ)
- Проверка уровня жидкости в бачке гидропривода тормозной системы
- Двигатель Рено Логан. Описание конструкции
- ЗАМЕНА ПРОКЛАДКИ КРЫШКИ ГОЛОВКИ БЛОКА ЦИЛИНДРОВ
- РЕГУЛИРОВКА КЛАПАНОВ
- ЗАМЕНА САЛЬНИКА РАСПРЕДЕЛИТЕЛЬНОГО ВАЛА
- Замена прокладки выпускного коллектора двигателя
- Замена переднего сальника коленчатого вала
- Замена заднего сальника коленчатого вала двигателя
- ЗАМЕНА ДАТЧИКА МАСЛА
- ЗАМЕНА ПРОКЛАДКИ ПОДДОНА КАРТЕРА
- СНЯТИЕ МАСЛЯНОГО НАСОСА
- ЗАМЕНА ОПОР ДВИГАТЕЛЯ
- СНЯТИЕ И УСТАНОВКА ДВИГАТЕЛЯ
- ПРОВЕРКА И ЗАМЕНА РЕМНЯ ГРМ
- Система управления двигателем
- Снятие электронного блока управления
- ЗАМЕНА ДАТЧИКА ПОЛОЖЕНИЯ КОЛЕНЧАТОГО ВАЛА
- Снятие датчика температуры охлаждающей жидкости
- ЗАМЕНА ДАТЧИКА ПОЛОЖЕНИЯ ДРОССЕЛЬНОЙ ЗАСЛОНКИ
- ЗАМЕНА ДАТЧИКА ДЕТОНАЦИИ
- ЗАМЕНА ДАТЧИКА ТЕМПЕРАТУРЫ
- Снятие датчика абсолютного давления воздуха
- Снятие датчика концентрации кислорода
- ЗАМЕНА ДАТЧИКА СКОРОСТИ
- ЗАМЕНА КАТУШКИ ЗАЖИГАНИЯ
- СНЯТИЕ И РАЗБОРКА БЕНЗОНАСОСА
- ЗАМЕНА ВОЗДУШНОГО ФИЛЬТРА
- СНЯТИЕ ТОПЛИВНОЙ РАМПЫ И ФОРСУНОК
- ЗАМЕНА РЕГУЛЯТОРА ХОЛОСТОГО ХОДА
- СНЯТИЕ ДРОССЕЛЬНОГО УЗЛА
- Снятие впускного трубопровода, замена прокладок
- Снятие топливного бака Рено Логан
- ЗАМЕНА АДСОРБЕРА
- ЗАМЕНА ТРОСА ДРОССЕЛЬНОЙ ЗАСЛОНКИ
- СИСТЕМА ОХЛАЖДЕНИЯ ДВИГАТЕЛЯ
- ЗАМЕНА ТЕРМОСТАТА
- ЗАМЕНА ВЕНТИЛЯТОРА РАДИАТОРА
- ЗАМЕНА РАДИАТОРА
- ЗАМЕНА ВОДЯНОГО НАСОСА
- Замена троса привода выключения сцепления
- СЦЕПЛЕНИЕ.
ОПИСАНИЕ - СИСТЕМА ОХЛАЖДЕНИЕ
- Система выпуска отработавших газов
- ЗАМЕНА СЦЕПЛЕНИЯ
- КОРОБКА ПЕРЕДАЧ.ОПИСАНИЕ
- Замена втулок рычага переключения передач КП
- Снятие рычага переключения передач
- Снятие тяги управления коробкой передач
- Замена сальника привода правого колеса
- СНЯТИЕ КОРОБКИ ПЕРЕДАЧ
- Приводы передних колес
- Снятие приводов передних колес
- ЗАМЕНА ПЫЛЬНИКА ШРУСА
- Замена чехла и подшипника внутреннего шарнира привода правого колеса
- Замена грязезащитного чехла наружного шарнира привода колеса
- ПЕРЕДНЯЯ ПОДВЕСКА
- СНЯТИЕ ПЕРЕДНЕЙ СТОЙКИ
- Замена элементов стабилизатора поперечной устойчивости
- Снятие рычага передней подвески
- ЗАМЕНА ШАРОВОЙ ОПОРЫ
- Снятие подрамника передней подвески
- ЗАМЕНА СТУПЕНЧАТОГО ПОДШИПНИКА ПЕРЕДНЕГО КОЛЕСА
- ЗАДНЯЯ ПОДВЕСКА.ОПИСАНИЕ
- ЗАМЕНА ЗАДНЕЙ СТОЙКИ
- ЗАМЕНА ПРУЖИНЫ ЗАДНЕЙ ПОДВЕСКИ
- Замена сайлент-блока рычага балки
Замена подшипника заднего колеса- РУЛЕВОЕ УПРАВЛЕНИЕ
- Снятие рулевого колеса
- Снятие рулевой колонки
- ЗАМЕНА НАКОНЕЧНИКА РУЛЕВОЙ ТЯГИ
- Замена чехла рулевого механизма
- СНЯТИЕ РУЛЕВОЙ РЕЙКИ
- СНЯТИЕ НАСОСА ГИДРОУСИЛИТЕЛЯ РУЛЯ
- ПРОКАЧКА ГИДРОУСИЛИТЕЛЯ РУЛЯ
- ТОРМОЗНАЯ СИСТЕМА.
ОПИСАНИЕ - ЗАМЕНА ПЕРЕДНИХ ТОРМОЗНЫХ КОЛОДОК
- Замена защитного чехла поршня тормозного механизма переднего колеса
- ЗАМЕНА ЗАДНИХ ТОРМОЗНЫХ КОЛОДОК
- Снятие главного тормозного цилиндра
- Снятие обратного клапана вакуумного усилителя тормозов
- ЗАМЕНА ВАКУУМНОГО УСИЛИТЕЛЯ ТОРМОЗОВ
- Замена шланга тормозного механизма переднего колеса
- Замена диска тормозного механизма переднего колеса
- Замена колесного цилиндра тормозного механизма заднего колеса
- Замена шланга тормозного механизма заднего колеса
- ЗАМЕНА ТРОСОВ РУЧНИКА
- Регулировка привода стояночного тормоза
- Снятие датчика скорости вращения переднего колеса
- Снятие датчика скорости вращения заднего колеса
- Снятие блока АБС
- Электрооборудование Рено Логан
- ЗАМЕНА ПРЕДОХРАНИТЕЛЕЙ
- Снятие реле и предохранителей
- Замена катушки иммобилайзера и выключателя зажигания
- Снятие генератора, замена регулятора напряжения и выпрямительного блока
- СНЯТИЕ И РАЗБОРКА СТАРТЕРА
- ЗАМЕНА ЛАМП В БЛОК-ФАРЕ
- ЗАМЕНА БЛОК-ФАРЫ
- Снятие исполнительного механизма регулятора направления пучков света фар
- Замена лампы противотуманной фары
- ЗАМЕНА ЛАМПЫ БОКОВОГО УКАЗАТЕЛЯ ПОВОРОТА
- Снятие выключателя света заднего хода
- ЗАМЕНА ЛАМП В ЗАДНЕМ ФОНОРЕ
- Замена лампы в дополнительном сигнале торможения
- Снятие фонаря освещения заднего номерного знака, замена лампы
- Замена ламп плафона освещения салона, снятие плафона
- Снятие подрулевых переключателей
- Снятие звуковых сигналов
- Снятие выключателей на консоли панели приборов
- Снятие мотор-редуктора очистителя ветрового стекла
- Снятие электронасоса омывателя ветрового стекла
- Снятие комбинации приборов
- Снятие коммутационного блока
- Снятие блока управления подушками безопасности
- Снятие грязезащитных щитков переднего бампера
- Снятие грязезащитных щитков моторного отсека
- Снятие брызговиков и подкрылков передних колес
- СНЯТИЕ ЗАДНЕГО БАМПЕРА
- СНЯТИЕ ПЕРЕДНЕГО БАМПЕРА
- Снятие обивки передней двери
- Снятие наружного зеркала заднего вида
- Снятие стекла передней двери
- Снятие механизма электростеклоподъемника передней двери
- Снятие замка и наружной ручки передней двери
- СНЯТИЕ ОБИВКИ ЗАДНЕЙ ДВЕРИ
- СНЯТИЕ СТЕКЛА ЗАДНЕЙ ДВЕРИ
- Снятие механизма cтеклоподъемника задней двери
- Снятие нижней обивки панели приборов
- СНЯТИЕ ПАНЕЛИ ПРИБОРОВ
- Система вентиляции, отопления и кондиционирования
- Снятие блока управления вентиляцией, отоплением и кондиционированием воздуха
- Снятие вентилятора отопителя
- Снятие дополнительного резистора вентилятора отопителя
- СНЯТИЕ РАДИАТОРА ПЕЧКИ
- СНЯТИЕ КОМПРЕССОРА КОНДИЦИОНЕРА
- Поддельный ремень ГРМ(Видео)
Рулевое управление рено логан схема.
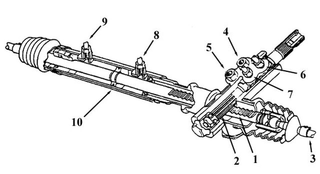
Про рулевую систему. Самостоятельный ремонт или довериться профессионаламСистема рулевого управления с гидроусилителем руля: 1 — рулевое колесо; 2 — рулевая колонка; 3 — левый поворотный кулак в сборе со ступицей; 4 — левый наконечник рулевой тяги; 5 — промежуточный вал; 6 — болты крепления картера рулевого механизма к подрамнику; 7 — картер рулевого механизма; 8 — сливная магистраль гидроусилителя; 9 — бачок гидроусилителя; 10 — наполнительная магистраль гидроусилителя; 11 — нагнетательная магистраль гидроусилителя; 12 — датчик давления жидкости гидроусилителя; 13 — насос гидроусилителя; 14 — подрамник; 15 — правый наконечник рулевой тяги; 16 — правый поворотный кулак в сборе со ступицей
Насос гидроусилителя рулевого управления
Безмолвие, конечно, немного больше, но в сочетании с относительно легким двигателем не является чрезмерным. Рейд порядочный, поэтому парковка с этим автомобилем в замкнутых пространствах удивительно удобна. Рулевое управление с обычным жидкостным усилителем является простым, смещение с длинным рычагом переключения передач, напоминающим пресловутое смешивание теста, но вы не будете искать качество после надлежащего обучения.
Тормоза с барабанами 228 мм на задних и вентилируемых дисках диаметром всего 259 мм спереди не имеют большого размера, но вы можете полностью опираться на них даже при полной загрузке.
Рулевое управление автомобиля — с травмобезопасной рулевой колонкой. Рулевой механизм типа «шестерня-рейка» 1 . Картер рулевого механизма крепится к подрамнику двумя болтами. В картере рулевого механизма рейка поджимается к приводной шестерне через упор. Регулировку бокового зазора между шестерней и рейкой выполняют вращением регулировочной пробки. Регулировку проводят только при сборке рулевого механизма на заводе-изготовителе. В эксплуатации зазор регулировке не подлежит.
Симптомы неисправности рулевой рейки
Нужно добавить, что этот автомобиль действительно не соблазняет вас быстрой ездой, но вы не остановите его. В плане есть также минивэн, полезная версия и поместье, которое будет выпущено в пяти местах по всему миру, производя в общей сложности 000 автомобилей в год. Изображение новых или некоторых известных брендов с ярлыками строится на маленьких мошенниках.
Распределение по восьмому клапану выгодно с точки зрения более плоской характеристики крутящего момента.
Более сильное осушение заслуживает таких подборов, которые, по меньшей мере, защищены пластиковыми наполнителями от механических повреждений. Для более высокой динамики или больших нагрузок потребление увеличится примерно до восьми литров. Мы могли бы тянуть за весь автомобиль. Есть много деталей для вас, и свойство автомобиля выглядит странным или, по крайней мере, неестественным.
Рулевой механизм автомобиля с гидроусилителем руля: 1 — правый наконечник рулевой тяги; 2 — рулевая тяга; 3 — чехол тяги; 4 — картер рулевого механизма; 5 — соединительные трубки гидроусилителя; 6 — приводная шестерня; 7 — левый наконечник рулевой тяги
Регулировочная пробка 2 зафиксирована на картере рулевого механизма 1 стопорной шайбой 3 , приклепанной к пробке. Буртик шайбы в двух местах вдавлен в пазы картера
Сегодня это короткий отрезок, отличный от большинства автомобилей, где вы можете чувствовать себя как дома на несколько миль за рулем.
Во время первой встречи с Логаном мы критиковали сцепление с высоким сцеплением. Это было не позором, потому что во второй раз мы провели ту же самую казнь. Через два дня с машиной мы не прочь так много. Мы не хотим, чтобы этот недостаток Логана был несовершенным, но мы с большей вероятностью будем жить в коже водителя, чтобы рассматривать покупку Логана. Логан должен идти на компромисс, но это не так больно, как он мог на первый взгляд или сначала попробовать.
Рулевая тяга в сборе с рейкой рулевого механизма:
1 — рейка; 2 — шаровой шарнир таги; 3 — рулевая тяга
Наконечник рулевой тяги
На правом наконечнике рулевой тяги нанесена одна метка..
.
Приводные свойства настроены на удобную ноту. Дачия настаивала на неправильном восточноевропейском пути, не боится писем и грязи. Шасси можно отфильтровывать вне поля зрения, между прочим, благодаря более высокому уровню освещенности и большему подъему колес. Нельзя сказать, что это будет типичный французский автомобиль, луки в шишки великолепны, но компромисс между обработкой и комфортом настроен хорошо.
Большинство продаж автомобилей в Европе находятся в диапазоне от 35 до 40 метров тормозных путей. От поездки по городу мы взяли опыт с плохой ориентацией вокруг автомобиля. Они могут обнаружить, что они даже не стилистически оправданы. Другим фактором является большая толщина панелей кузова, особенно если они не отменены или, по крайней мере, сокращены.
…а на левом — две метки
Рулевой привод состоит из двух рулевых тяг, соединенных с рейкой рулевого механизма и рычагами поворотных кулаков. Каждая тяга крепится внутренним концом к рулевой рейке через неразборный шаровой шарнир — резьбовой наконечник шарнира вворачивается в отверстие рейки. В средней части рулевой тяги выполнен шестигранник под ключ «на 13», а на наружном конце — резьба (правая), на которую наворачивается наконечник тяги. В наконечнике рулевой тяги имеется неразборный шаровой шарнир, не требующий пополнения запаса смазки, заложенной внутрь него на весь срок службы. Правая и левая рулевые тяги одинаковые, а наконечники — разные.
Соединение рейки рулевого механизма и шарового шарнира рулевой тяги защищено от грязи и влаги гофрированным резиновым чехлом. Чехол закреплен пластмассовым хомутом на картере рулевого механизма, а на рулевой тяге чехол держится за счет упругости резины — при этом узкий поясок чехла должен совпасть с проточкой, выполненной на рулевой тяге.
Поскольку наша последняя таблица, составленная из самых дешевых автомобилей на чешском рынке, больше не предлагает Логану, чем конкурировать. Цены в двадцать два сотни раз имеют потенциал для стимулирования спроса на дорогие версии, которые предлагают значительно лучшие наряды. Таким образом, вы можете добавить до 9 различных предметов.
Конкурентные модели супербайков не имеют этих элементов ни в предложении, ни у них в драматически дорогих версиях и нарядах. Не в восторге от первого поколения этой модели, в прошлом году увидела вторую улучшенную версию автомобиля, сочетающую преимущества легковых автомобилей и местности.
При сборке рулевого механизма на заводе резьбовое соединение наконечника шарнира рулевой тяги рейкой законтрено от отворачивания
.
..обжатием конца рейки.
При обжатии конца рейки геометрия резьбового соединения нарушается.
Для замены рулевой тяги необхоходимо вывернуть наконечни шарнира из отверстия в рейке (шестигранник на корпусе шарнира под ключ «на 32» и лыска на конце рейки под ключ «на 18»). В этом случае резьба в отверстии рулевой рейки, скорее всего, будет повреждена. Если повреждение резьбы в отверстии рулевой рейки будет незначительным, ее можно «прогнать» метчиком — в противном случае лучше заменить рулевой механизм в сборе. Вал рулевой колонки крепится к приводной шестерне рулевого механизма через промежуточный вал — 2 с двумя карданными шарнирами. На шлицах в верхней части вала рулевой колонки установлено рулевое колесо, закрепленное винтом. Рулевая колонка прикрелена к кронштейну поперечной балки, расположенной под панелью приборов. На часть автомобилей устанавливается гидравлический усилитель (гидроусилитель) рулевого управления — 3 . В систему гидроусилителя входят: рулевой механизм, насос, бачок для рабочей жидкости и соединительные трубки магистралей.
В нагнетательной магистрали установлен датчик давления жидкости для выдачи сигнала на электронный блок управления двигателем.
Концы рулевых тяг привинчены к наконечникам и крепятся
посредством контргаек. Ослабляя контргайки и поворачивая
рулевые тяги на левой и (или) правой стороне автомобиля,
можно регулировать угол положительного схождения колёс.
Каждый наконечник крепится к поворотному кулаку ступицы
посредством зажимной гайки. Внутренние концы рулевых
тяг являются неразборным соединением.
Изменения стиля больше всего видны на передней части автомобиля. Осевые фары теперь намного более узкие, и двойной воздухозаборник первого поколения моделей был заменен одним шестигранным хромированным грилем с логотипом, расположенным в центре. В соответствии с текущим способом указатели поворота перемещались со сторон кузова в корпус зеркала. В задней части только переделанные компоненты — увеличенный спойлер крыши и конструкция бампера. Идеальное освещение пятиместной каюты обеспечивает панорамную стеклянную крышу площадью 0, 75 м².
На Рено Логан реализовано рулевое управление с гидравлическим усилителем . Основными компонентами
гидравлического привода являются: регулирующий
клапан, гидравлический сервопривод, управляющий
гидравлический цилиндр, гидравлический насос и
резервуар для гидравлической жидкости.
Гидравлическая жидкость из резервуара нагнетается насосом в
систему и поступает в регулирующий клапан. В зависимости от
того, в каком положении находится руль, гидравлическая
жидкость поступает в левую, или в правую часть гидравличе ского
сервопривода (цилиндра). Жидкость, нах одящаяся под давлением
давит на поршень, расположенный внутри гидравлического
цилиндра, тем самым обеспечивает дополнительное усилие на
рулевую передачу, облегчая водителю управление автомобилем.
Все механические (движущиеся) компоненты рулевой системы
смазаны маслами высокой вязкости (литол, солидол и т.п.) и
защищены резиновыми уплотнителями (пыльниками, гофрами и
т.д.).
Рулевая передача установлена на переднюю нижнюю раму и
соединена двумя поперечными рулевыми тягами с
рулевыми наконечниками.
Рулевые наконечники
соединяются шарнирно с поворотным кулаком передней
ступицы. Рулевые тяги имеют на конце резьбу для
регулировки углов установки колёс. Рулевые тяги соединены
шаровыми шарнирами с реечной рулевой передачей.
Давление, необходимое для управления гидравлической
системой, обеспечивается гидравлическим насосом,
управляемым ременным приводом. Ременный привод в
свою очередь управляется шкивом коленвала. Рулевая
колонка имеет на конце универсальный шарнир карданного
типа. Через карданный шарнир и промежуточный вал,
рулевая колонка соединяется с регулирующим клапаном.
Посадочное место на оси регулирующего клапана
является шлицевым соединением. Промежуточный вал
крепится к шлицевому соединению зажимным болтом.
У всех пассажиров достаточно места для своих коленей и над головой. Сиденье водителя также спроектировано с максимальной простотой использования. Часы на приборной панели чистые, все кнопки на центральной консоли интуитивно расположены. Размещение экрана навигации в специальном отсеке позволяет легко читать даже при сильном солнечном свете.
Колесо багажа составляет 450 литров. Двойная дверь багажного отделения — это интересное решение, которое, с одной стороны, облегчает доступ к багажу, когда нет места за автомобилем, в то время как нижний багажник затрудняет доступ к объектам, расположенным ближе всего к задней части задних сидений.
1 . Рулевой механизм типа «шестерня-рейка» . В картере рулевого механизма на двух подшипниках установлена приводная шестерня, находящаяся в зацеплении с зубчатой рейкой. При повороте рулевого колеса поворачивается вал рулевой колонки, который через промежуточный вал (на концах которого имеются карданные шарниры) соединен с приводной шестерней. Шестерня перемещает рейку, которая через рулевые тяги с наконечниками и соединенные с ними рычаги поворотных кулаков поворачивает управпяемые колеса автомобиля.
Задняя крышка сиденья вместимостью 200 кг также может использоваться в качестве места во время поездки на выходные. Любая неравномерность подавляется очень хорошо, но внезапное торможение или внезапные изменения направления движения подвержены значительным наклонам тела.
Увеличенный зазор и привод к обеим осям позволяют погружаться с мощеных дорог и пробовать руку на земле. В автоматическом положении привод автоматически разделяется между осями.
При хороших условиях тяги привод передается на колеса передней оси, так что, если передние колеса скользят, до 50% мощности передается на заднюю ось. Системы подъема и подъема будут также способствовать подъему и контролю скорости в гору. Первый активируется автоматически при наклоне более 10%, что препятствует прокатке автомобиля, второе — активируется водителем и поддерживает постоянную скорость на выходе спуска.
2 . Промежуточный вал. Для обеспечения травмобезопасности выполнен составным. При фронтальном ударе автомобиля во время аварии рулевая колонка не должна перемещаться к водителю. Это достигается за счет шлицевого соединения в средней части вала.
3. Гидроусилитель
рулевого управления. Устройство, создающее
за счет разницы давлений рабочей жидкости
дополнительное усилие на рулевой привод.
Служит для облегчения управления автомобилем, повышения его
маневренности и безопасности движения.
4 . Распределительное устройство. Предназначено следить за рассогласованием углов поворота рулевого колеса и вала приводной шестерни рулевого механизма и строго дозированно изменять давление жидкости в камерах испопнительного механизма.
Возможные неисправности рулевого управления
(без гидроусилителя)
Рено Логан — автомобиль, выпускаемый с 2005 года. Более чем за 10 лет продаж модель так и не утратила популярности. С появлением в 2014 году второго поколения Renault Logan обрел «новое дыхание» и стал еще более востребованным среди автовладельцев. Причина высоких продаж — надежность автомобиля, неприхотливость в обслуживании и солидный дизайн. Отдельного внимания заслуживает рулевая система Рено, которая отличается простотой конструкции и легкостью в эксплуатации.
Как устроена рулевая система?
На автомобилях Рено Логан смонтирован надежный рулевой механизм по типу «шестеренка-рейка».
Привод устройства формируется из пары рулевых тяг, которые объединяются с кулаками с помощью шаровых шарниров. Главная особенность автомобиля — наличие продуманной рулевой колонки, которая «складывается» в случае аварии и не травмирует водителя.
Большая часть рулевых систем Рено Логан комплектуется гидроусилителем — системой, которая упрощает процесс вращения рулевого колеса водителем. Главными элементами узла является клапан регулировки, сервопривод, емкость для рабочей жидкости, а также гидравлический насос и цилиндр. Давление в системе создается, благодаря работе лопастей насоса, вращение которого обеспечивается через специальный ремень (поликлиновый или клиновый).
Масло из емкости ГУР с помощью насоса подается в систему и идет к клапану регулировки. Направление движения жидкости зависит от позиции руля. Своим давлением рабочая жидкость воздействует на цилиндр системы и создает давление на передачу рулевой системы. При этом вращать руль легче.
«Все вращающиеся элементы системы обработаны с помощью специальных масел, имеющих достаточный уровень вязкости, а также закрыты пыльниками».
В случае отказа ГУР возможность управления транспортным средством сохраняется. Единственное изменение — необходимость прикладывания большего усилия при вращении. Обязательное условие для продления срока службы системы — контроль уровня рабочей жидкости. Если он падает ниже отметки «MIN», требуется определить причину проблемы и долить масло.
Рулевая передача смонтирована на нижней раме и объединяется с другими элементами системы с помощью специальных тяг поперечного типа со смонтированными на них наконечниками. На концах рулевых тяг предусмотрена резьба, необходимая для корректировки параметров развала-схождения (углов) колес.
Тяги рулевой системы Рено Логан объединяются с передачей через шарниры. Рулевая колонка имеет карданный тип. Ее безопасность, о которой упоминалось выше, обусловлена возможностью быстрой деформации при механическом воздействии. Сама колонка через вал и шарнир объединяется с клапаном регулировки, а сам промежуточный вал фиксируется с соединением шлицевого типа с помощью специального болта.
Также в рулевой колонке смонтирован ряд дополнительных устройств — противоугонная система (блокирует руль при отсутствии ключа в замке зажигания), органы управления головным освещением, сигналами поворота, омывателями и другими системами.
Тяги с правой и с левой стороны имеют идентичные размеры, а наконечники — разные. Все соединения рейки с шарнирами защищены с помощью специальной гофры (пыльника). Последняя фиксируется с помощью специального хомута (со стороны картера), а на стороне тяги пыльник удерживается, благодаря собственной жесткости.
Неисправности и устранение
Несмотря на надежность, элементы рулевой системы Рено Логан из-за повышенной нагрузки периодически выходят из строя, требуют ремонта или замены. При этом виды поломок и их причины во многом зависят от конструктивных особенностей узла — наличия ГУР.
Так, в автомобилях без гидроусилителя возможны следующие поломки рулевой системы:
- Повышение свободного хода (люфта) руля и появление стуков.
Проблема часто вызвана послаблением крепежных гаек, удерживающих шаровые пальцы, повышенным зазором в шарнирах тяг или послаблением крепежа механизма рулевой системы. - Необходимость прикладывания большего усилия при вращении руля. Вероятные причины — поломка стойки амортизатора, шаровых шарниров тяг или подшипника опоры стойки. Также проблема часто вызвана дефицитом смазки и нарушением развал-схождения колес.
Если автомобиль Рено Логан оборудован ГУР, то высок риск появления следующих поломок:
- Свист при вращении руля (на неподвижном авто). Причина — перемещение рабочей жидкости в бачке.
- Посторонние шумы в системе. Такое возможно в случае послабления протяжки крепежных гаек на пальцах тяг, повышение зазора в шарнирах или ухудшение контакта трубопровода, по которому подается масло ГУР.
- Пульсация при повороте руля на работающем моторе часто вызвана низким давлением масла, появлением воздуха в системе или заеданием проводника.
- Толчки руля.
Вероятные причины заключаются в послаблении крепежа механизма рулевой системы, появлении воздуха в системе, увеличении люфта или нарушении параметров развал-схождения. - Тугость руля — проблема, которая объясняется низким давлением и послаблением крепежа механизма системы.
Все рассмотренные поломки рулевой системы Рено Логан требуют оперативного вмешательства — ремонта или замены неисправной детали. В этом разделе даются рекомендации, позволяющие самостоятельно сделать любые работы, сэкономив при этом время и деньги на посещении СТО.
У Mahindra-Renault Logan Edge есть гидроусилитель руля?
У Mahindra-Renault Logan Edge есть гидроусилитель руля? | Часто задаваемые вопросы о Логане ЭджеЕсть ли у Mahindra-Renault Logan Edge гидроусилитель руля?
Функция гидроусилителя руля недоступна в Mahindra-Renault Logan Edge.
Узнать больше о Mahindra-Renault Logan Edge
Проверить похожие детали автомобиля:
- Есть ли в Honda City гидроусилитель руля?
- У Maruti Suzuki Ciaz есть гидроусилитель руля?
Сколько цветов доступно для Mahindra-Renault Logan Edge?
Сколько версий доступно для Mahindra-Renault Logan Edge?
Какие функции безопасности доступны в Mahindra-Renault Logan Edge?
Доступен ли тип топлива CNG для Mahindra-Renault Logan Edge в Индии?
Доступен ли дизельный тип топлива для Mahindra-Renault Logan Edge в Индии?
Доступен ли Mahindra-Renault Logan Edge на электрическом топливе в Индии?
Есть ли у Mahindra-Renault Logan Edge подушки безопасности?
Какой объем топливного бака у Mahindra-Renault Logan Edge?
Каковы технические характеристики двигателя Mahindra-Renault Logan Edge?
Какой объем багажника у Mahindra-Renault Logan Edge?
Каковы характеристики Mahindra-Renault Logan Edge?
Какие варианты топлива доступны в Mahindra-Renault Logan Edge?
Какой дорожный просвет у Mahindra-Renault Logan Edge?
Есть ли у Mahindra-Renault Logan Edge версия с автоматической коробкой передач?
Какой размер шин у Mahindra-Renault Logan Edge?
Какая максимальная скорость у Mahindra-Renault Logan Edge?
Какова вместимость Mahindra-Renault Logan Edge?
Доступна ли ABS (антиблокировочная тормозная система) в Mahindra-Renault Logan Edge?
Есть ли у Mahindra-Renault Logan Edge вариант кожаных сидений?
Есть ли у Mahindra-Renault Logan Edge легкосплавные диски?
Есть ли у Mahindra-Renault Logan Edge светодиодные фары?
Есть ли у Mahindra-Renault Logan Edge светодиодные дневные ходовые огни?
У Mahindra-Renault Logan Edge есть Android Auto или Apple Car Play?
Есть ли у Mahindra-Renault Logan Edge встроенная музыкальная система?
Есть ли у Mahindra-Renault Logan Edge люк на крыше?
Что такое рейтинг безопасности Mahindra-Renault Logan Edge?
Имеет ли Mahindra-Renault Logan Edge систему GPS-навигации?
Есть ли у Mahindra-Renault Logan Edge беспроводное зарядное устройство?
Есть ли у Mahindra-Renault Logan Edge опция HUD (проекционный дисплей)?
Есть ли у Mahindra-Renault Logan Edge вариант с турбонаддувом?
Есть ли в Mahindra-Renault Logan Edge вентилируемые сиденья?
Есть ли у Mahindra-Renault Logan Edge функция помощи при подъеме по склону?
Есть ли у Mahindra-Renault Logan Edge полноприводный вариант?
Есть ли у Mahindra-Renault Logan Edge функция входа без ключа?
Есть ли у Mahindra-Renault Logan Edge функция запуска с кнопки?
Какова длина Mahindra-Renault Logan Edge?
Каковы размеры Mahindra-Renault Logan Edge?
Какая колесная база у Mahindra-Renault Logan Edge?
Каков рейтинг NCAP для Mahindra-Renault Logan Edge?
Хонда Сити
₹ 9,50 — 10,00 лакхов
Ср.
Цена на условиях самовывоза
Проверьте — есть ли у Honda City гидроусилитель руля?
Сравните с Логаном Эджем
Марути Сузуки Сиаз
₹ 8,89 — 12,35 лакхов
Ср. Цена на условиях самовывоза
Проверьте — есть ли у Maruti Suzuki Ciaz гидроусилитель руля?
Сравните с Логаном Эджем
Марути Судзуки Дзире
₹ 6,43 — 90,31 лакх
Ср. Цена на условиях самовывоза
Проверьте — есть ли у Maruti Suzuki Dzire гидроусилитель руля?
Сравните с Логаном Эджем
Ситроен С3
₹ 5,98 — 8,25 лакха
Ср. Цена на условиях самовывоза
Проверить — Есть ли на Citroen C3 гидроусилитель руля?
Сравните с Логаном Эджем
Марути Судзуки Игнис
₹ 5,82 — 8,28 лакхов
Ср.
Цена с выставок
Проверьте — есть ли у Maruti Suzuki Ignis гидроусилитель руля?
Сравните с Логаном Эджем
Хонда Амаз
₹ 6,91 — 9,50 лакхов
Ср. Цена на условиях самовывоза
Проверьте — есть ли у Honda Amaze гидроусилитель руля?
Сравните с Логаном Эджем
Марути Сузуки Свифт
₹ 5,99 — 8,96 лакхов
Ср. Цена на условиях самовывоза
Проверьте — есть ли у Maruti Suzuki Swift гидроусилитель руля?
Сравните с Логаном Эджем
Тойота Гланза
₹ 6,66 — 9,99 лакхов
Ср. Цена на условиях самовывоза
Проверьте — есть ли у Toyota Glanza гидроусилитель руля?
Сравните с Логаном Эджем
Хендай Аура
₹ 6,30 — 8,87 лакхов
Ср.
Цена на условиях самовывоза
Проверьте — есть ли у Hyundai Aura гидроусилитель руля?
Сравните с Логаном Эджем
Китай Производитель резиновых изделий, резиновые детали, поставщик резиновых втулок
Популярные продукты
Видео
Свяжитесь сейчас
Свяжитесь сейчас
Свяжитесь сейчас
Видео
Свяжитесь сейчас
Видео
Свяжитесь сейчас
Видео
Свяжитесь сейчас
Видео
Свяжитесь сейчас
Видео
Свяжитесь сейчас
Свяжитесь сейчас
Свяжитесь сейчас
Детали рулевого управления
Видео
Свяжитесь сейчас
Видео
Свяжитесь сейчас
Свяжитесь сейчас
Свяжитесь сейчас
Видео
Свяжитесь сейчас
Видео
Свяжитесь сейчас
Свяжитесь сейчас
Свяжитесь сейчас
Свяжитесь сейчас
Свяжитесь сейчас
Горячий продукт
Свяжитесь сейчас
Свяжитесь сейчас
Загрузка резюме
Мин.
Заказ:
1000 штук
Свяжитесь сейчас
Свяжитесь сейчас
Свяжитесь сейчас
Свяжитесь сейчас
Свяжитесь сейчас
Свяжитесь сейчас
Свяжитесь сейчас
Свяжитесь сейчас
Профиль компании
{{ util.each(imageUrls, функция(imageUrl){}}
{{ }) }}
{{ если (изображениеUrls.length > 1){ }}
{{ } }}
| Вид бизнеса: | Производитель/завод, Торговая компания | |
| Основные продукты: | Резиновые изделия
,
Резиновые детали
,
Резиновая втулка
,
Резинка
,
Резиновая металлическая часть
,
РЕЗЮМЕ. … | |
| Сертификация системы менеджмента: | ИСО 9001 | |
| Основные рынки: | Южная Америка, Юго-Восточная Азия, Средний Восток, Западная Европа | |
| Доступность OEM/ODM: | Да |
RUIAN HUAYI TRADE Co.
, Ltd является производственной и экспортной компанией, специализирующейся на производстве и продаже различных рулевых реек, рулевых насосов и резинотехнических изделий. RUIAN JIANTE MACHINERY Co., Ltd является нашей дочерней компанией, которая производит поковки. Мы построили долгосрочные деловые отношения с сотнями крупных и мелких местных производителей. Большинство из них специализируются на автозапчастях. У нас есть деловые отношения, где мы представляем разработку и продажу их продукции за рубежом. Более того, наши…
Посмотреть все
Наш друг
9 шт.Гватемала Друг
Гватемала Друг
Гватемала Друг
Друг Испании
Россия Друг
Италия Друг
Финляндия Друг
Аргентина Друг
HUAYI FRIEND
Пошлите Ваше сообщение этому продавцу
* От:
* Кому:
Мистер Джек Хуан
* Сообщение:
Введите от 20 до 4000 символов.

ОПИСАНИЕ
ОПИСАНИЕ
ОПИСАНИЕ
ОПИСАНИЕ
Проблема часто вызвана послаблением крепежных гаек, удерживающих шаровые пальцы, повышенным зазором в шарнирах тяг или послаблением крепежа механизма рулевой системы.
Вероятные причины заключаются в послаблении крепежа механизма рулевой системы, появлении воздуха в системе, увеличении люфта или нарушении параметров развал-схождения.
…