Как работает пневмоподвеска автомобиля?
Грузовые автомобили уже давно ездят «по воздуху», теперь и ваш автомобиль может обладать такими способностями. Пневматическая подвеска уже давно используется в мире автомобильных грузоперевозок, но в последнее десятилетие или около того эта система перебралась в коммерческий мир. Мотоциклы, вездеходы, производительные автомобили и даже вполне обычные транспортные средства теперь используют пневмоподвеску. Как работает эта система? Давайте разбираться.
Современная система пневматической подвески постоянно обновляется. С точки зрения комфорта и безопасности, подвеска вашего автомобиля является неотъемлемой частью того, как этот автомобиль движется. Амортизаторы и пружины помогают поглощать и направлять мощность дороги, и при этом справляются с колебанием колес, тряской и отскоками.
Тем не менее, каждый раз, когда вы добавляете или уменьшаете вес автомобиля, ускоряете его или замедляете, поворачиваете вправо или влево, все эти действия бросают вызов способностям амортизаторов и пружин.
Традиционные амортизаторы и пружины «запрограммированы» только на фиксированный набор ситуаций.
пневматические рессоры
Пневматическая подвеска замещает стандартные пружины на пневматические рессоры. Эти рессоры представляют собой простые жесткие резиновые и пластиковые подушки, накаченные до определенного давления и высоты, с целью имитации пружин. Но на этом все сходство заканчивается. С добавлением встроенного воздушного компрессора, датчиков и электронных систем управления, современные системы пневматической подвески обеспечивают несколько преимуществ по сравнению с цельнометаллическими, обычными пружинами, в том числе почти мгновенную настройку и способность к адаптации управляемости в разных ситуациях и при разных нагрузках.
Компоненты пневмоподвески необходимые для ее работы
Ранние версии систем пневматической подвески были относительно простыми и работали не хитро. Воздушные подушки заменяли традиционные пружины. Подушки накачивались до необходимого давления и высоты с помощью автономного насоса через клапаны в подушках.
Изменения в технологиях и их использовании добавили в систему больше компонентов, она стала более контролируемой, но и более сложной.
Сегодняшние пневматические подвески состоят практически из стандартного набора компонентов, которые могут немного варьироваться в зависимости от производителя. В основном, различия заключаются в легкости установи и контролировании системы.
С течением времени материал, используемый для производства подушек, изменился. Это композитный материал из резины и полиуретана, что обеспечивает структурную целостность, герметичную конструкцию, прочность против истирания дорожным мусором и песком, а также устойчивость к соли и химической коррозии.
Подушки бывают трех основных форм:
1. Мешок с двойной спиралью. Этот мешок имеет форму песочных часов. Данная конструкция предоставляет больше боковой гибкости, чем другие конструкции.
2. Конические втулки. Данный вид подушек выполняет те же функции, что и все остальные, но предназначен для установки в ограниченном пространстве и предлагает большую регулируемость высоты езды.
3. Роликовые втулки. Они также выполняют специфические задачи. Различия между двумя последними подушками заключаются в высоте езды и управлении
Большинство современных систем пневматической подвески идут в комплекте со встроенным компрессором. Компрессор – это электрический насос, который подает воздух в подушки через воздушные линии. Обычно компрессор устанавливают на раме транспортного средства или в багажнике. Подавляющее большинство компрессоров идут в комплекте с осушителями. Компрессор работает с помощью воздуха, который он забирает из окружающей среды, а этот воздух очень часто бывает влажным, а влага может нанести непоправимый ущерб замкнутой системе. Осушитель использует специальное вещество, чтобы поглотить как можно больше влаги из воздуха, прежде чем он отправится в систему.
Простые компрессионные системы полагаются только на сам компрессор для того, чтобы поддерживать, увеличивать или уменьшать давление в подушках. В более продвинутых системах для таких целей используется специальный воздушный бак.
Компрессоры могут быть активированы как механически, так и автоматически. Управление компрессором может осуществляться водителем, электроникой или комбинаций обоих.
Соленоиды, клапаны и линии
Конечно, пневмоподвеска состоит из большего количества частей, чем просто подушка. Давайте поговорим о тех компонентах, которые заставляют пневматическую подвеску работать.
Линии доставляют сжатый воздух в подушки. Данные линии абсолютно аналогичны общим линиям воздуха высокого давления и проходят вдоль всей рамы транспортного средства. Хотя большинство линий сделаны из композита резины и полиуретана, они могут быть легко заменены стальными, которые предлагают более опрятный внешний вид и более прочную конструкцию.
клапаны
Клапаны являются шлюзами для воздуха, через которые он попадает в различные части системы. В современной системе пневмоподвески клапаны играют решающую роль в изоляции и контролировании потоков воздуха, того, куда он направляется и как.
Системы пневматической подвески ранних поколений были двунаправленными установками. По сути, каждая левая и правая подушки были связаны линией с общим воздухом. В то время, когда транспортное средство поворачивало, воздух одной из подушек выталкивался и переходил по линии в другую подушку, которая еще больше увеличивалась в размерах. Это приводило к серьезным кренам кузова и подрывало репутацию пневмоподвески. В современных системах используется ряд клапанов, которые контролируют потоки воздуха по линиям и благодаря которым автомобиль обладает улучшенной управляемостью.
соленоиды и клапаны
Соленоиды являются составляющей частью систем электронного управления, которые используются для заполнения и вентиляции подушек. Поскольку система подстраивается под различные условия вождения, она дает команду каждому соленоиду открыться или закрыться, изменяя при этом оббьем воздуха в каждой из подушек.
Все электронные системы управляются с помощью электронного модуля управления.
Программное обеспечение может быть очень простым, практически цифровой версией переключателя вкл/выкл, или же это может быть более сложное программное обеспечение, которое обеспечивает мониторинг давления в подушках и высоту посадки автомобиля в режиме реального времени. Модуль получает всю необходимую информацию от различных датчиков, например, датчики дорожного просвета. Именно в электронной части системы пневмоподвески и происходят все инновации, и, скорее всего, такая тенденция сохранится и в будущем. Как правило, эти системы электронного управления остаются в стороне от бортовых модулей управления транспортного средства.
Системы пневматической подвески очень сложные, но если они установлены и настроены правильно, то только с их помощью можно достичь впечатляющего внешнего вида и отличной производительности.
Пневматическая подвеска. Устройство и принцип работы пневмоподвески.
- Подробности
- Автор: Сергей
- Категория: Подвеска
- Опубликовано: 28 декабря 2014
- Просмотров: 25723
Пневматическая подвеска — это вид подвески, обладающий возможностью регулировать клиренс (дорожный просвет) автомобиля.
Пневматическая подвеска может быть частью штатной комплектации автомобиля либо самостоятельно установленным элементом.
В основном, самостоятельная установка пневматической подвески даёт возможность регулировать в ручную лишь высоту кузова.
Распространены три основных типа пневматических подвесок — одноконтурные, двухконтурные и четырёхконтурные пневмоподвески. Одноконтурную систему устанавливают исключительно на одну ось транспортного средства, выбирая между передней и задней осями.
- Одноконтурный тип пневмоподвески чаще всего применяется в грузовых автомобилях и седельных тягачах. На грузовых автомобилях одноконтурная система позволяет регулировать жесткость задней оси, учитывая уровень нагрузки транспортного средства.
- Двухконтурные системы пневмоподвесок устанавливают не только на одну ось, а также одновременно и на обе. При установке двухконтурного типа пневмоподвески на одну ось, становится возможным осуществление независимого регулирования колёс автомобиля. Двухконтурная система пневматической подвески действует подобно одновременно установленным двум одноконтурным системам.

- Четырёхконтурные пневмоподвески достаточно сложны по своей структуре, зато имеют более богатый функционал, в отличие от одноконтурных и двухконтурных систем. Такая система позволяет регулировать пневмоподпор каждого колеса транспортного средства. Зачастую, в четырёхконтурных системах применяют специальный электронный блок управления, слаженно работающий вместе с датчиками и автоматически осуществляющий, при необходимости, регулировку уровня давления в пневмоэлементах. Не рекомендуется самостоятельная установка четырёхконтурных пневматических подвесок с типом автоматического управления, потому как сам процесс установки очень сложен и является финансово затратным.
Устройство пневмоподвески. Рассмотрим строение пнемвоподвески на примере четырёх контурной системы. Итак основные элементы:
- Датчик ускорения кузова, левые и правые задние и передние датчики положения кузова, датчик ускорения колеса. Электронные датчики дают возможность отслеживания некоторого ряда параметров, таких как наклон кузова автомобиля, положение кузова относительно дороги, ускорение транспортного средства.

- Компрессор пневматической подвески. Предназначение компрессора заключается в осуществлении подачи потоков сжатого воздуха прямиком в ресивер, а далее воздух распределяется по исполнительным механизмам системы. Без сжатого воздуха работа пневматической подвески невозможна, поэтому именно компрессор можно назвать основным элементом в конструкции самой подвески.
- Передняя и задняя стойки с пневматическими элементоми. Регулировка клиренса производится в автоматическом или ручном режиме. При изменении давления воздуха в пневматических элементах, меняется высота кузова автомобиля относительно дороги. Исполнение пневмоэлемента может выглядеть либо совмещенным с амортизатором, либо отдельным узлом. Именно при совмещении с амортизатором, упругий пневмоэлемент, в большинстве случаев, называют пневматической амортизаторной стойкой. Подобные стойки устанавливаются фактически на любые типы подвесок, простая конструкция пневмоэлемента состоит из корпуса, манжета и штока с поршнем.

- Ресивер. Воздушный ресивер осуществляет регулировку клиренса транспортного средства исключительно в малых пределах без участия компрессора. Благодаря воздушному ресиверу возможно достижение быстрой и стабильной работы адаптивных подвесок. Воздушные магистрали способствуют соединению всех элементов пневматической подвески в одну целостную пневмосистему.
- блок управления АБС
- Блок управления подвеской. Блок управления создан в целях корректной обработки сигналов, подаваемых датчиками. После принятия сигнала от датчиков, блок управления осуществляет ручную либо автоматическую регулировку подвески.
Принцип работы пневмоподвески достаточно прост. Водитель транспортного средства может без каких либо проблем самостоятельно изменять клиренс своего автомобиля, то есть увеличивать либо уменьшать показатели дорожного просвета. При наличии пневматических амортизаторных стоек в конструкции подвески, имеется дополнительная возможность регулировать её уровень жесткости.
Адаптивная пневматическая подвеска работает по принципу использования параметров скорости, наклона, ускорения и прочих показателей. В целях достижения наилучших аэродинамических показателей транспортного средства, система способна подстраивать уровень дорожного просвета ориентируясь на показатели интенсивности ускорения, а также скорости движения автомобиля. Учитываются и углы наклонов кузова (крены) при вхождениях транспортного средства в повороты на повышенной скорости. Система предварительно анализирует показателя крена и, в случае необходимости, увеличивает подачу сжатого воздуха в целях увеличения жесткости амортизаторных стоек, на которые в данный момент производится повышенная нагрузка.
Основным преимуществом пневмоподвески многие автомобильные эксперты считают наличие высокой плавности хода транспортного средства, оборудованного пневматической подвеской. Также достоинством пневматической подвески считают использование сжатого воздуха в качестве упругого элемента, что способствует отсутствию раздражающих слух посторонних шумов. Однако, вышеперечисленные преимущества скорее касаются автомобилей бизнес-класса, потому как многое в работе подвески зависит и от непосредственного предназначения транспортного средства. К примеру, в грузовиках и полуприцепах пневматическая подвеска устроена таким образом, что наоборот может прибавлять жесткости.
Огромным преимуществом можно считать возможность автоматической регулировки дорожного просвета, причем во время движения, а также приятным дополнением станет и наличие в функционале регулирования жесткости отдельных стоек.
Но не стоит забывать, что преимущество регулирования уровня жесткости стоек можно отнести скорее к заводскому исполнению адаптивной подвески. К сожалению, элементы пневмоподвески зачастую не пригодны к последующему ремонту либо обладают весьма низкой ремонтопригодностью. Отремонтировать пневматическую стойку невозможно, её можно лишь заменить в случае выхода из строя и подобную непригодность к ремонту эксперты относят к минусам пневмоподвески.
Структуру пневматической подвески постепенно могут повреждать дорожные реагенты, также негативно действует на ресурсы пневмоподвески состояние окружающей среды, особенно это касается температуры воздуха ниже нуля. Рекомендуется периодически производить чистку пневмоэлементов от пыли и грязи, разместив автомобиль на специализированном подъёмнике. В профессиональной деятельности пневматическую подвеску устанавливают в целях увеличения грузоподъёмности автомобиля без снижения уровня комфорта и безопасности водителя транспортного средства, будь это пикап, грузовик либо фургон.
Как работают пневмоподвески
| How-To — Шасси и подвеска
Мифы, плюсы, минусы, советы экспертов и причины для покупки койловеров с воздухом
Обновлено за июнь 2020 г.: Продолжая пару историй о VIP стиле, которые мы недавно публиковали, включая один, перечисляющий наши лучшие 5 самых популярных сборок Bippu, и другой, объясняющий, что такое VIP, для нас имело смысл объяснить, как эти и другие автомобили, включая, помимо прочего, выставочные автомобили, становятся настолько смехотворно низкими. Подавляющее большинство из них делают это с помощью пневматической подвески, также известной как сумки, системы, которые по своей сути, на удивление, не так уж отличаются от койловеров. В то время как комплекты пневматической подвески могут быть намного дороже, чем койловеры, и требуют больше работы, компромисс между высотой дорожного просвета и регулируемостью управляемости, в дополнение к инновациям, которые приходят с современными системами, может иметь большой смысл для некоторых подвесок.
покупатели.
У каждого автомобиля есть комбинация пружин, амортизаторов, стержней или звеньев, которые подвешивают его шасси, кузов, двигатель и трансмиссию над колесами. Избавьтесь от всего этого, и способность ускоряться, поворачивать и останавливаться — и делать это с относительным комфортом — полетит к чертям. Проблема в том, что большинство этих характеристик противоречат друг другу, и именно поэтому вы знаете о настройке подвески меньше, чем обо всем остальном.
По сравнению с более традиционной подвеской с цилиндрическими пружинами, системы пневматической подвески состоят из гораздо большего количества компонентов. Помимо пневматических рессор, есть компрессор, резервуар, трубопроводы и какой-то контроллер. Здесь компания Boden AutoHaus изготовила трубопроводы из нержавеющей стали с нуля — это всего лишь одна часть процесса, который может привести к тому, что установка пневматической подвески более высокого класса будет стоить значительно больше, а на ее завершение может уйти до месяца.
Системы пневматической подвески кажутся еще более загадочными, но, как оказалось, они не сильно отличаются. Большинство современных подвесок состоят из винтовой пружины, которая скользит по амортизатору или располагается рядом с ним. По своей сути пневматическая подвеска просто избавляется от винтовых пружин для гибких, наполненных давлением мешков воздуха, которые обычно изготавливаются из того же типа резины, что и ваши шины. Одним нажатием кнопки подушки можно надувать или сдувать, мгновенно изменяя высоту дорожного просвета и работу подвески.
Пара уникальных Aired Out Ride
Time Attack GD WRX STI
Подвеска Kean R32 Skyline
Ненавистники уже много лет противопоставляют системы пневматической подвески более традиционным подвескам со спиральными пружинами, часто без серьезных аргументов в пользу каких-либо аргументов. Правильная подвеска не так субъективна, как вы думаете, и ее можно измерить тем, насколько хорошо она использует тяговые возможности своих шин; насколько равномерно распределяется тяга спереди назад; и насколько он чувствителен к рулевому управлению, торможению и дроссельной заслонке.
Пройдите эти тесты, и уже не будет иметь значения, говорим ли мы о плотно намотанных стальных витках или о резиновых подушках из воздуха.
Поломка
Сердцевиной любой системы пневматической подвески являются ее подушки или пневматические пружины. Здесь резиновые сильфоны с металлическими пластинами на каждом конце скользят по амортизаторам, подобно винтовой пружине. Как и винтовые пружины, пневматические рессоры являются прогрессивными по своей природе, что означает, что увеличение сжатия приводит к более жесткой пружине. Возможность изменить скорость пневматической рессоры в любой момент означает, что потенциал для повышения производительности или качества езды стал намного проще.
Скорее всего, установка комплекта пневматической рессоры на ваш автомобиль тоже стала намного проще.
По словам Кори Россера из Air Lift Performance, весь процесс прошел долгий путь за последние десять лет. «Благодаря технологическим достижениям в области пневматических рессор и управления подачей воздуха, система пневматической подвески сегодня очень похожа на койловерную систему», — говорит он. Прошли те времена, когда амортизирующие опоры были разрезаны, а элементы подвески перемещены в надежде установить на место какие-нибудь мешки. Сегодня полые сильфоны, которые позволяют амортизаторам проходить сквозь себя, упрощают их установку в большинстве автомобилей, как никогда раньше. Сегодняшние комплекты позволяют вам оставить амортизаторы на заводских местах и, по большей части, установить их болтами, как это сделала бы любая обычная система койловеров.
Однако правильная система пневматической подвески — это гораздо больше, чем четыре мешка с горячим воздухом.
Любой набор, достойный вашего внимания, состоит из множества других компонентов. Он начинается с бортового воздушного компрессора, который питается от электрической системы автомобиля и может надувать каждый мешок по требованию. Компрессор питает пружины по отдельности, используя гибкие полиуретановые линии или, в некоторых случаях, специально изогнутые трубки из нержавеющей стали (вы увидите, как лучшие шоу-кары раскачиваются по жестким линиям). В большинстве случаев встроен отдельный воздушный резервуар, который помогает мгновенно увеличивать и поддерживать давление воздуха в системе и обеспечивает более плавные переходы между большими изменениями давления. Оба компонента обычно устанавливаются в багажнике, иногда в специальном корпусе, но они также могут быть спрятаны под шасси или прикреплены к цельному кузову или раме.
Компрессор работает как любой другой воздушный насос, всасывая наружный воздух во внутренний резервуар, где он нагнетается и выбрасывается другим концом.
Однако кто-то должен сказать ему, когда качать и сколько воздуха пропускать, а это значит, что в систему должен быть интегрирован какой-то управляемый водителем контроллер. Здесь доступны ручные или электронные контроллеры, которые можно установить рядом с водителем или в некоторых случаях получить к ним доступ из приложения для смартфона для простой регулировки дорожного просвета по требованию.
После того, как система установлена, вы должны решить, будете ли вы регулировать клиренс на основе давления воздуха или с помощью ряда датчиков. Системы, основанные на давлении, полагаются на заданное значение, которое, как вы знаете, позиционирует ваш автомобиль на определенной высоте дорожного просвета.
Но мы должны предупредить вас, что датчики давления не всегда точны, а изменения веса могут повлиять на дорожный просвет. Например, положите несколько сотен фунтов на задние сиденья и наблюдайте, как падает высота посадки. Поскольку пневматические рессоры сжимаются из-за дополнительного веса, системы, основанные на давлении, распознают это и компенсируют, уменьшая давление воздуха до его исходного значения, что приводит к тому, чего вы не ожидали, — опусканию вашего автомобиля еще больше. Нежелательные изменения также могут произойти, когда вес переносится на поворотах или при подъеме или спуске с холма.
Электронные системы, которые полагаются на ряд датчиков для определения и поддержания высоты дорожного просвета, гораздо более точны и не заботятся о том, есть ли давление в этих пневматических рессорах на 150 фунтов или нет. Здесь сложные датчики, расположенные под шасси, контролируют высоту дорожного просвета и передают эту информацию обратно на контроллер, гарантируя, что высота дорожного просвета остается там, где вы хотите, несмотря на давление.
Как и в случае со спиральными пружинами, пневматическая подвеска лучше всего работает с правильными поддерживающими модулями. Большинство экспертов рекомендуют использовать мягкую сторону при настройке коэффициентов пневматических пружин и вместо этого сосредоточиться на правильных амортизаторах для устранения колебаний и правильных стабилизаторах поперечной устойчивости, чтобы минимизировать крен кузова.
Электронные системы управления основаны на электронных коллекторах, которые распределяют давление воздуха индивидуально на каждую пружину.Хлопать или не бить
Плюсы
- Регулировка дорожного просвета и управляемости на лету. Да!
- Сохраните дорогие низко висящие компоненты кузова и предотвратите повреждение шасси.
- Пневматические пружины с прогрессивной скоростью, как и ваши катушки.
- Регулируемая жесткость пружины.
- Высокая универсальность.

- Никакого другого способа добиться минимальной высоты дорожного просвета и сохранить работоспособность.
- Мгновенная адаптация к повышенным изменениям веса.
- Уменьшите дорожный просвет без ущерба для качества езды.
Минусы
- Дороже, чем пружинные подвески.
- Процесс установки более сложный.
- Процесс установки дороже.
- Требуется больше компонентов.
- В некоторых случаях необходимы постоянные модификации шасси.
Развенчание мифов
«Но сумки могут лопнуть, бро.
»
По словам Джоша Эсфахани, специалиста по установке пневматической подвески, с этой проблемой часто сталкиваются те, кто не знаком с воздухом. «Да, может быть, если они установлены неправильно и трутся обо что-то, может возникнуть проблема», — говорит он. В противном случае лопнувшие пневматические пружины — не более чем плод дикого воображения неосведомленных людей.
Большинство систем более высокого класса оснащены регулируемым демпфированием амортизаторов, что позволяет осуществлять дальнейшую точную настройку после установки высоты дорожного просвета. Это, в сочетании с возможностью изменения жесткости пневматической рессоры, делает подвеску очень универсальной.«Пневматическая подвеска никогда не будет такой же хорошей и надежной, как набор койловеров».
Престон Доусон из Function Form говорит, что это уже не так. Правильно спроектированная система с соответствующими характеристиками амортизаторов может работать так же хорошо, как и многие обычные подвески.
«Если вы выберете подходящие компоненты, которые работают вместе, вы можете получить надежность, равную любой статической установке койловера», — говорит он. По словам Кори Россера из Air Lift Performance, производительность также не снижается: «Мы потратили тысячи часов, тестируя и улучшая наш продукт до такой степени, что он может выдерживать те же нагрузки, что и койловеры».
«Пневматическая подвеска предназначена для шоу-каров».
Маршал Лам из AirREX говорит, что большая часть комплектов компании продается энтузиастам, которые никогда не увидят ничего подобного обвесу или моторному отсеку в цирковом цвете, а тем более автомобильное шоу. Он добавил, что клиенты уже много лет используют системы AirREX на трамваях и специализированных трековых автомобилях. Эсфахани говорит то же самое: «Раньше пневматические рессоры были для парней, которые хотели ехать ниже, чем низко. Теперь парни гоняют с ними». Уникальная модульная система
Function and Form позволяет легко заменить винтовую подвеску на пневматическую без замены амортизаторов.
Производительность и роскошь: в чем разница?
Все дело в ударах. Это основное различие между воздушной системой, разработанной для седана с велюровыми занавесками на окнах, и купе мощностью 550 л.с. на R-компьютерах. Как и в подвесках с цилиндрическими пружинами, скорость сжатия и отбоя амортизаторов, демпфирующие силы и возможности охлаждения определяют, подходит ли система в целом лучше всего для парковки в магазине пончиков или для дорожного движения. Пневматические пружины, компрессоры, магистрали, электроника и все остальное никогда не превратят хороший амортизатор в плохой.
Системы, ориентированные на производительность, обычно имеют такие же амортизаторы, как и на более дорогих койловерных подвесках. Здесь регулируемые по высоте резьбовые корпуса, регулируемое демпфирование, регулировка развала и кастера, а также однотрубная конструкция являются общими признаками амортизатора, ориентированного на производительность.
Возможность регулировать демпфирование амортизатора вместе со скоростью пневматической пружины может обеспечить непревзойденный уровень настройки по сравнению с подвесками с винтовыми пружинами. Другими словами, один и тот же автомобиль может превратиться из мягкого и удобного в твердое и точное всего за несколько секунд.
Тем не менее скорость пневматической пружины зависит от давления внутри. Увеличьте давление, чтобы достичь жесткости пружины, необходимой для гонок, и вы только что подняли автомобиль. Если вы думаете, что это звучит нелогично для настройки автомобиля на трассе, вы правы. Именно здесь амортизаторы с резьбовыми корпусами, которые позволяют самостоятельно изменять высоту дорожного просвета, становятся еще более важными. Модульная система
Function and Form основана на пневматических пружинах, которые навинчиваются непосредственно на существующие корпуса амортизаторов компании.Экспертная комиссия
Мы спросили несколько авиакомпаний, о чем следует больше всего беспокоиться новичкам при покупке воздушной системы.
Marshall Lum, AirREX: Потребители должны в первую очередь разобраться в своем шасси. Некоторые шасси должны быть модифицированы, однако большинство систем AirREX позволят вам максимально снизить высоту без серьезных модификаций.
Престон Доусон, Функция + Форма: Потребители должны инвестировать в систему, предназначенную для совместной работы. Мешки сделаны для работы со стойками? Они должны посмотреть, какой тип сумок использует компания, и понять плюсы и минусы каждого типа. Помогает ли компания с техподдержкой? Потому что тебе это понадобится.
Кори Россер, Air Lift Performance: Существует множество вариантов пневматической подвески на выбор. Самое главное, на что может обратить внимание потребитель, — это качество продукта и обслуживания клиентов.
Air Lift предлагает одни из самых совершенных в отрасли систем пневматических рессор. Его комплект Honda Civic 12-15 годов включает в себя все, что вам нужно, с электронным или ручным управлением подачей воздуха.
Области применения
Функция + форма Комплекты для переоборудования ONAIR: Function + Form славится своими койловерными подвесками и теперь является одним из первых, кто интегрирует свои пневматические рессоры в существующие приложения. Это означает, что вы можете купить комплект койловеров сегодня и заменить эти койловеры на пневматические пружины в следующем году. Преобразование не требует резки, сварки или обрезки и является полностью обратимым. Ручные и электронные контроллеры продаются отдельно и интегрируются во все системы ONAIR от Function and Form.
Пневматический подъемник Performance/Performance Series: Эти ребята были одними из первых, кто предложил комплекты для таких автомобилей, как Honda Civic девятого поколения. Его системы Performance Series включают в себя все, что вам нужно, а также ручные или электронные системы управления. Комплекты состоят из 30-канального демпфирования, однотрубных амортизаторов с полной резьбой, пневматических пружин с двойным сильфоном и всех соответствующих линий, зажимов и фитингов, необходимых для соединения всего этого.
Системы ручного управления состоят из воздушного компрессора мощностью 200 фунтов на квадратный дюйм, воздушного баллона на четыре галлона и соответствующего оборудования для подключения всего этого. Компания заявляет, что ее комплект Civic девятого поколения выдерживает падение почти на 4,5 дюйма.
Комбинированные комплекты AirREX/Wireless Control: Компания AirREX была основана в надежде предоставить публике высокопроизводительные пневматические рессоры. Его комплекты основаны на амортизаторах с полной резьбой, регулируемых в 12 направлениях, со встроенными кронштейнами и креплениями, которые делают установку болтовым креплением. Решение AirREX для цифрового управления воздухом основано на электрическом соленоидном коллекторе, который позволяет пользователям настраивать скорость, с которой автомобиль может быть опущен или поднят, и все это с помощью беспроводного контроллера.
Trending Pages
Раллийный гонщик Кен Блок погиб в аварии на снегоходе
Кен Блок 1967–2023 гг.
Вокруг гибридаАбсолютно новая Honda Accord 2023 года: цены практически не изменились, экономия топлива гибрида растет0006
Гонщик ралли Кен Блок погиб в аварии на снегоходе
Кен Блок 1967–2023 гг.
Абсолютно новая Honda Accord 2023 года: цены практически не изменились, гибридный топливный экономичный двигатель растет0001
Система пневматической подвески состоит из пневматической пружины, также известной как пластик/подушки безопасности, резины и системы подачи воздуха, все из которых соединены с воздушным компрессором, клапанами, соленоидами и электронными контроллерами. Применение системы пневматической подвески включает в себя большегрузные автомобили, прицепы и автобусы.
В этой статье вы познакомитесь с определением, применением, схемой, компонентами, конструкцией, типами, работой, преимуществами и недостатками системы пневматической подвески. Вы также узнаете о деталях и характеристиках пневматических рессор.

Содержание
- 1 Что такое система пневматической подвески?
- 2 Что такое пневматическая пружина?
- 3 Характеристики и некоторые преимущества пневматической рессоры
- 4 Типы пневматической рессоры
- 4.1 Пневматическая рессора с двойной спиралью:
- 4.2 Коническая и роликовая втулка:
- 5 Компоненты 0009 пневматической подвески
- 5.0.1 Схема пневматической подвески:
- 6 Конструкция
- 7 Типов системы воздушной подвески
- 7.1 Подвеска с воздушной подвеской (Весна)
- 7.2 Поршневая воздушная подвеска (весна)
- 7,3 Присоединяйтесь к нашему информационному бюллетеню
- 7,4 Удлиненный ниже воздуха:
- 8.
- 8.0.1 Посмотрите видео ниже, чтобы узнать больше о работе системы пневматической подвески:
- 9 Преимущества и недостатки системы пневматической подвески
- 9.1 Преимущества:
- 9.
2 Недостатки:
- 10 Заключение
- 10.1 Пожалуйста, поделитесь!
Что такое система пневматической подвески?
Пневматическая подвеска — это тип подвески транспортного средства, который приводится в действие воздушным насосом или компрессором, работающим от электродвигателя или двигателя. Воздух нагнетается в гибкий сильфон, который обычно состоит из резины, армированной тканью. В отличие от гидропневматической подвески, обладающей многими из тех же преимуществ, в пневматической подвеске используется сжатый воздух, а не жидкость под давлением. Сильфоны надуваются давлением воздуха, которое отрывает шасси от оси.
Подробнее: Обычные и нетрадиционные типы автомобильных шасси
Что такое пневматическая рессора?
В системах пневматической подвески используются пневматические рессоры. Системы пневматической подвески устанавливаются и настраиваются по-разному для разных марок и моделей, но основная идея одна и та же.
Металлическая пружина (витковая или листовая) удаляется, и вместо нее устанавливается или изготавливается подушка безопасности, иногда называемая пневматической пружиной. Подвеску можно изменить вверх или вниз при подаче давления воздуха на подушку безопасности (поднять или опустить).
Пневматические рессоры представляют собой гибкие сильфоны, которые содержат сжатый воздух и используются для перевозки грузов в автомобилях. Обычно они состоят из армированной текстилем резины. Сильфоны надуваются давлением воздуха, которое отрывает шасси от оси. При сжатии пневматические пружины обладают гибкостью или «упругостью». Его можно найти на многих современных большегрузных грузовиках, прицепах и автобусах.
Подробнее: Система подвески
Характеристики и некоторые преимущества пневматической рессоры
- Когда автомобиль не загружен, они мягкие, но по мере увеличения нагрузки жесткость улучшается за счет увеличения давления воздуха внутри камеры. В результате, когда автомобиль слегка загружен или полностью загружен, он обеспечивает наилучший комфорт при езде.

- Всякий раз, когда нагрузка меняется, давление воздуха изменяется, чтобы поддерживать постоянную высоту автомобиля.
- Поглощая удары от дороги, пневматические рессоры улучшают устойчивость автомобиля.
- Пневматические рессоры предназначены для повышения грузоподъемности, стабильности и общего качества езды.
Типы пневматических рессор
Ниже приведены различные типы пневматических рессор, используемых в системах пневматической подвески:
Пневматическая рессора с двойной спиралью:
Конструкция с двойной спиралью напоминает две маленькие шины, поставленные друг на друга. Эти пневматические рессоры имеют более высокую грузоподъемность, более короткий ход и более прогрессивную жесткость пружины, что делает их идеальными для большинства передних подвесок, где пружина находится далеко внутри точки нагрузки подвески. В результате потребность в грузоподъемности умножается, а потребность в поездках делится.
Подробнее: Знакомство с шарнирным соединением
Коническая втулка и подвижная втулка:
Пневморессоры с конической или подвижной втулкой имеют меньший диаметр, более длинный ход и более линейную жесткость пружины.
Поскольку у них больше потребностей в поездках и меньше требований к грузоподъемности, они лучше всего подходят для большинства серверных приложений.
В подвесках с пневматическими рессорами необходимы устройства для регулировки давления воздуха и компрессоры для сжатия воздуха. В этих системах обычно используются небольшие электрические воздушные компрессоры или воздушные компрессоры с приводом от двигателя, которые иногда заполняют бортовой резервуар воздушного ресивера, который резервирует сжатый воздух для немедленного использования в будущем. Система подвески, с другой стороны, более сложная. В современных автомобилях пневматическая подвеска с электронной модуляцией используется в сочетании с пневматическими рессорами.
Подробнее: Знакомство с различными типами системы подвески автомобиля
Компоненты системы пневматической подвески
Воздушный фильтр, воздушный аккумулятор, предохранительный клапан, пневматическая пружина, клапан управления подъемом, обратный клапан и линия подачи основной компонент системы пневматической подвески.
Ниже приведены общие части современной системы пневматической подвески.
- каждое колесо имеет пневматическую пружину из вулканизированной резины
- Воздушный компрессор обычно находится в багажнике (багажнике) или под капотом автомобиля.
- Резервуар для хранения сжатого воздуха, способный хранить воздух под давлением 150 фунтов на кв. дюйм (1000 кПа), может быть предусмотрен для быстрого «опускания на колени». (1 фунт на кв. дюйм = 6,89 кПа)
- блок клапанов с последовательностью соленоидов, клапанов и множества уплотнительных колец, который направляет воздух из резервуара для хранения к четырем пневматическим пружинам
- компьютер ECAS, который обменивается данными с BeCM, главный компьютер и выбирает, куда должно быть направлено давление воздуха
- система воздуховодов диаметром 6 мм, которые распределяют воздух по всей системе (в основном от накопительного бака к пневморессорам через блок клапанов)
- осушитель воздуха, наполненный влагопоглотителем.

- Датчики высоты на всех четырех углах автомобиля, в идеале основанные на резистивном контактном считывании, для обеспечения абсолютной эталонной высоты для каждого угла.
- Компания Dunlop Systems and Components Ltd продолжила работу по усовершенствованию продукции до такой степени, что электронный блок управления (ECU) теперь можно устанавливать под полом автомобиля. Регулирующие клапаны намного меньше и легче, и они производят свои собственные компрессоры.
Подробнее: Понимание работы аккумуляторной системы зажигания
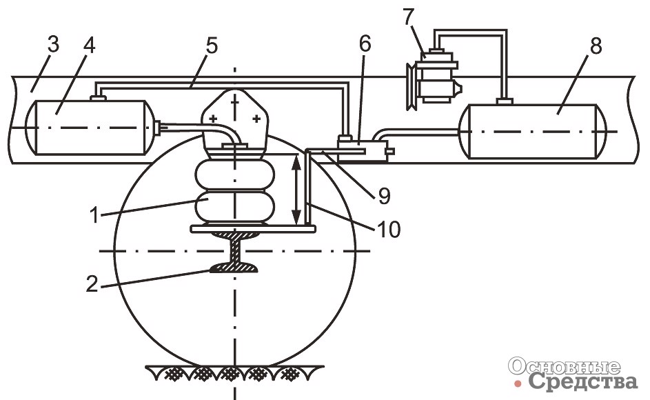
Схема системы пневматической подвески:
Конструкция
На рисунке выше показана схема системы пневматической подвески. Четыре пневматические рессоры, которые могут быть сильфонными или поршневыми, расположены в том же месте, что и винтовые пружины. В комплект также входят воздушный компрессор, воздушный аккумулятор, предохранительный клапан, клапан управления подъемом, уравнительный клапан и трубопровод.
Подробнее: Понимание работы автомобильного мозга
Типы пневматической подвески
Ниже приведены различные типы пневматической подвески.
Пневмоподвеска с сильфоном (пружина)
Резиновые сильфоны составляют этот тип пружины. Для правильной работы сильфон состоит из круглых частей с двумя витками. В результате спиральная пружина заменена пневмоподвеской сильфонного типа.
Поршневая пневматическая подвеска (пружина)
В этих типах пневматической подвески в этой пружине используется металловоздушный баллон в форме перевернутого барабана. Рама крепится к барабану. Нижний поперечный рычаг соединен со скользящим поршнем. Для создания уплотнения используется гибкая диафрагма. По внешней окружности диафрагма плотно прилегает к кромке барабана, а по центру к поршню.
Присоединяйтесь к нашему информационному бюллетеню
Подробнее: Значение шасси автомобиля и его значение
Удлиненная нижняя пневматическая рессора:
Удлиненные сильфоны используются, когда эта система подвески применяется к задней оси автомобиля.
Эти сильфоны имеют примерно прямоугольную форму, но обычно имеют полукруглые концы с двумя гофрами. Эти колена расположены между задней осью автомобиля и рамой. Радиусные стержни используются на задней оси для сопротивления крутящим моментам и тяге.
Принцип работы
Работа системы пневматической подвески менее сложна и понятна. Система пневматической подвески состоит из пневматической пружины, также известной как пластик/подушки безопасности, резины и системы подачи воздуха, все из которых соединены с воздушным компрессором, клапанами, соленоидами и электронными контроллерами. Бортовой компрессор представляет собой электрический насос, который использует различные магистрали для подачи воздуха к подушкам безопасности. Клапаны имеют решающее значение в этой ситуации, потому что они контролируют поток воздуха и позволяют воздуху попадать в различные части системы. Когда система приспосабливается к различным дорожным условиям, соленоиды открываются и закрываются, надувая и вентилируя подушки безопасности, изменяя количество воздуха, поступающего в каждую из них.
Переключатели включения/выключения управляются электронным блоком управления, который также контролирует давление и регулирует высоту дорожного просвета. Они податливы и обладают некоторой гибкостью. Жесткость материала увеличивается при сжатии.
Подробнее: Понимание автомобильных датчиков
Добавляя воздух при езде с полной загрузкой и выпуская воздух при езде налегке, пневматические рессоры могут обеспечить настраиваемую подвеску и поддержку груза. Вы можете уменьшить высоту своего автомобиля, чтобы он располагался очень низко на дороге, но при этом поднимался достаточно высоко, чтобы преодолевать неровности и неровности. Пневматические рессоры являются единственным компонентом поддержки нагрузки, который можно регулировать, что позволяет использовать различную нагрузку и выравнивающую способность, а также повышать комфорт при езде.
Посмотрите видео ниже, чтобы узнать больше о работе системы пневматической подвески:
Преимущества и недостатки системы пневматической подвески
Преимущества:
Ниже приведены преимущества систем пневматической подвески в различных областях их применения:
- Повышенный комфорт вождения в результате снижения дорожного шума, резкости и вибрации, что снижает утомляемость водителя.

- Снижение вибрации при движении в тяжелых условиях означает меньший износ системы подвески.
- При разгрузке грузовика с короткой колесной базой пневматическая подвеска снижает раскачивание автомобиля на плохих дорогах.
- Поскольку пневматическая подвеска лучше адаптирована к дорожным условиям, можно достичь более высоких скоростей на поворотах.
- Пневматическая подвеска имеет широкий диапазон жесткости пружины и грузоподъемности, что позволяет мгновенно настраивать ее. Всего за несколько минут адаптивность позволяет получить желаемую нагрузку и высоту дорожного просвета.
- Адаптация к различным ситуациям: регулировка жесткости пружин в сочетании с настройкой производительности дает вашему автомобилю безграничный потенциал производительности, позволяя настраивать в режиме реального времени и делать езду более мягкой для повышения комфорта на ухабистой дороге.
- Буксировка: с помощью этой техники грузовики и тяжелые транспортные средства могут буксировать более тяжелые грузы.
При буксировке больших весов водители могут увеличить жесткость, чтобы повысить комфорт при езде.
Подробнее: Понимание коленчатого вала
Недостатки:
Несмотря на хорошие преимущества системы пневматической подвески, все же существуют некоторые ограничения. Ниже приведены недостатки рессор пневматической подвески.
- Негерметичность является типичным дефектом всех систем пневматической подвески. Когда система больше не может содержать воздух, она станет плоской. Проблемы с пневматической подвеской очень распространены из-за забитых воздуховодов.
- Первоначальные расходы: Это разовые расходы, связанные с покупкой автомобиля. Пневматическая подвеска доступна только в качестве стандартного оборудования для автомобилей класса люкс, автомобилей высокого класса и некоторых внедорожников.
- Обслуживание будет дороже, чем с обычными катушками и амортизаторами.
- Из-за сложности проводки, соединений и установки шлангов установка пневматической подвески займет больше времени.
Сама установка требует использования ряда различных инструментов. В результате привлечение квалифицированного механика для управления им является лучшим способом обеспечить безопасность и целостность автомобиля. - При неправильном обслуживании ремонт пневматической подвески может стоить в три раза больше, чем система листовой подвески в течение десяти лет.
- Поскольку вес системы пневматической подвески больше, чем вес листовой подвески, это может привести к снижению расхода топлива.
- Выход из строя пневматических стоек или подушек может быть вызван ржавчиной или попаданием внутрь влаги.
- Трубка пневматической подвески, соединяющая пневматические стойки или подушки с пневматической системой, вышла из строя.
- Выход из строя пневматического фитинга из-за повреждения, полученного во время установки или случайного использования
Подробнее: Понимание работы маховика
Заключение
Пневматическая подвеска — это тип подвески транспортного средства, который приводится в действие воздушным насосом или компрессором.




Вокруг гибрида
2 Недостатки:


При буксировке больших весов водители могут увеличить жесткость, чтобы повысить комфорт при езде.
Сама установка требует использования ряда различных инструментов. В результате привлечение квалифицированного механика для управления им является лучшим способом обеспечить безопасность и целостность автомобиля.