Пневматический привод тормозов
Категория:
Автомобили и трактора
Публикация:
Пневматический привод тормозов
Читать далее:
Пневматический привод тормозов
Общие сведения. В качестве источника энергии для.торможения может быть использован сжатый воздух. Пневматический тормозной привод позволяет развивать большие тормозные силы при небольшом усилии водителя, необходимом лишь для открытия устройства, впускающего в систему сжатый воздух. Такой привод применен на автомобилях ЗИЛ-130 и др. Он особенно удобен для грузовых автомобилей большой грузоподъемности, для автобусов и для одновременного торможения тягачей и прицепов или полуприцепов.
В систему пневматического привода тормозов автомобиля ЗИЛ-130В1 (рис. 1) входят компрессор, воздушные баллоны, манометр, тормозной кран, колесные тормозные камеры, педаль тормоза, регулятор давления, предохранительный клапан, кран отбора воздуха, кран для слива конденсата воды и масла, разобщительный кран и соединительная головка.
Рекламные предложения на основе ваших интересов:
Рис. 1. Схема пневматического привода тормозов автомобиля ЗИЛ-130В1: 1 и 4 — тормозные барабаны; 2, 5, 10 и 13—тормозные камеры; 3 — компрессор; 6 — воздушный баллон; 7—предохранительный клапан; 8 — кран отбора воздуха;. 9 — кран для слива конденсата воды и масла; 11—разобщительный кран; 12 — соединительная головка; 14 — двухсекционный тормозной кран; 15—рычаг рабочего тормоза; 16 —манометр; 17—регулятор давления; 18— трубопровод отвода воздуха к стеклоочистителю; 19 — педаль тормоза
Компрессор обеспечивает систему сжатым воздухом. Воздух, поступающий через воздухоочиститель в компрессор, сжимается в нем, а затем поступает в баллоны. Выход воздуха из баллонов невозможен благодаря наличию в компрессоре обратного клапана. Давление воздуха в системе пневматического привода тормозов контролируют по манометру. При нажатии ногой на педаль через тормозной кран открывается доступ для сжатого воздуха из баллонов в тормозные камеры передних и задних колес, что приводит в действие механизмы, раздвигающие тормозные колодки.
От тормозной системы с использованием трубопроводов приводится в действие механизм стеклоочистителя.
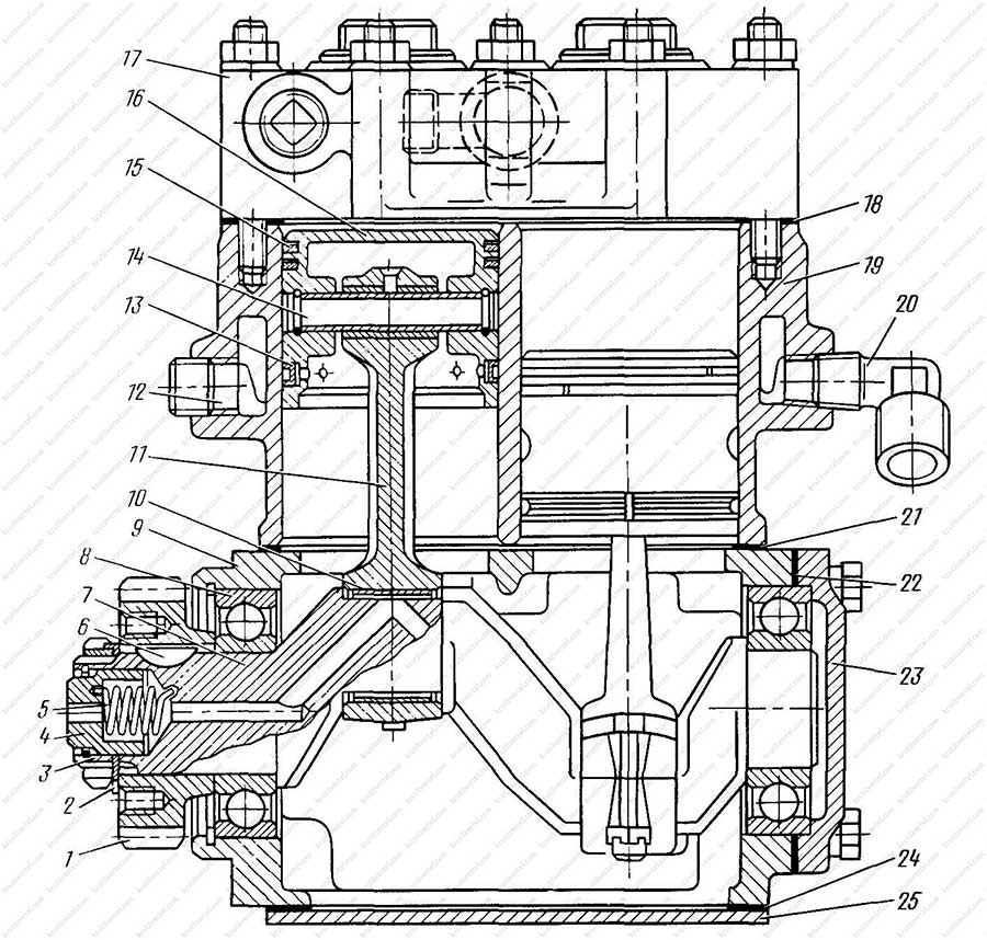
Компрессор. Двухцилиндровый компрессор автомобиля ЗИЛ-130 устанавливают с правой стороны на головке блока двигателя. Основные детали компрессора следующие: блок цилиндров, головка блока, картер, передняя, задняя и нижняя крышки. Коленчатый вал компрессора, вращающийся в шарикоподшипниках, шатунами и поршневыми пальцами соединен с поршнями. На переднем конце коленчатого вала установлен сальник и на шпонке шкив, который укреплен гайкой. Шкив компрессора приводится во вращение клиновидным ремнем от шкива, посаженного на вал вентилятора. На заднем конце коленчатого вала есть уплотнитель и гайка для затяжки шарикоподшипника. В стенке блока цилиндров сделано отверстие для воздуха, поступающего внутрь цилиндров через впускные пластинчатые клапаны. В головку блока над каждым цилиндром ввернута пробка, в которую помещена пружина нагнетательного клапана, посаженного в седло.
Система смазки компрессора комбинированная. Масло из системы смазки двигателя (из главной магистрали) подводится по трубке внутрь коленчатого вала компрессора. Залитые антифрикционным сплавом шатунные подшипники смазываются принудительно, а остальные детали разбрызгиваемым маслом. Из картера компрессора отработанное масло по специальной трубке отводится в картер двигателя.
Компрессор имеет жидкостную систему охлаждения, связанную с системой охлаждения двигателя. При опускании одного из поршней вниз в цилиндре компрессора создается разрежение и воздух засасывается в него через воздухоочиститель двигателя и пластинчатой впускной клапан. При подъеме поршня воздух сжимается и через клапан поступает в трубопровод, ведущий к воздушным баллонам, и далее в пневматическую систему. Затем этот процесс повторяется.
Давление сжатого воздуха в баллонах ограничено специальным разгрузочным устройством, снижающим затраты мощности двигателя на привод компрессора и повышающим долговечность последнего.
Это устройство, работающее вместе с регулятором давления, состоит из помещенных под клапанами двух плунжеров с уплотнителями и толкателями. Соединяющее плунжеры коромысло нагружено пружиной. Полость под впускными клапанами соединена трубопроводом с воздухоочистителем двигателя, а канал под плунжерами — с регулятором давления.
Подача воздуха в баллоны автоматически прекращается, когда давление воздуха в пневматической системе достигнет 700—740 кН/м2 (7,0—7,4 кгс/см2), так как при этом регулятор давления подает сжатый воздух по каналу в блок цилиндров под плунжеры. Поднимаясь, плунжеры открывают впускные клапаны цилиндров, в результате чего прекращается подача воздуха в пневматическую систему, так как воздух может свободно переходить из цилиндра в цилиндр через полость под клапанами. Таким образом, компрессор автоматически переводится в режим холостого хода. Работа компрессора при холостом ходе сопровождается некоторой непроизводительной затратой мощности двигателя.
Рис.
2. Компрессор автомобили ЗИЛ-130:
1 — картер; 2, 17 и 20 — крышки картера; 3 — шкив; 4 — сальник коленчатого вала; 5 и /5 — шарикоподшипники коленчатого вала; 5 – блок цилиндров; 7 — шатун; 8 – поршень с кольцами; 9 -поршневой палец с заглушками; 10 — головка блока; 11 — пробка нагнетательного клапана; 12 — пружина нагнетательного клапана; 13 — нагнетательный клапан; 14 – седло нагнетательного клапана; 16 – кольцевая гайка для затяжки подшипника; 18 — уплотнитель с пружиной; 19 — коленчатый вал; 21 — впускной клапан; 22 — плунжер; 23 — коромысло; 24 — пружина
Рис. 3. Регулятор давления: А — впускное отверстие; Б — отверстие, соединяющее внутреннюю полость регулятора с атмосферой; В — отверстие, ведущее к фильтру; 1 — кожух; 2 — пружина регулятора; 3 — упорный шарик; 4 — регулировочный колпак; 5 — шток клапанов; 6 — штуцер; 7 — сетчатый фильтр; 8 — металлокерамический фильтр; 9 — уплотнительное кольцо; 10 — корпус регулятора давления; 11 — пробка фильтра; 12 — пружина клапана; 13 — впускной клапан; 14 — выпускной клапан; 15 — регулировочные прокладки; 16 — контргайка регулировочного клапана
Воздушные баллоны служат для охлаждения и хранения запаса сжатого воздуха, поступающего из компрессора.
Для накачивания шин сжатым воздухом используют кран отбора воздуха. Для предохранения крана от засорения его отверстие закрывают колпачковой гайкой.
В корпусе регулятора давления, закрытом кожухом, установлен штуцер, в котором помещен шток клапанов. Сверху на шток через шарик давит пружина. На штуцер навернут колпак пружины клапанов, закрепленный контргайкой. Этим колпаком регулируют натяжение пружины. В результате при завинчивании колпака максимальное давление в тормозной системе повышается.
В центральном канале корпуса помещены два шариковых клапана; впускной и выпускной. На клапаны сверху давит шток. Центральный канал через фильтр и впускное отверстие А соединен с баллонами, а через отверстие В и фильтр — с разгрузочным устройством компрессора. Кожух закрывает механизм регулятора сверху. Снизу в корпус ввернута пробка П.
При давлении в тормозной системе ниже 560—600 кН/м2 (5,6—6,0 кгс/см2) воздух из-под плунжеров выходит в атмосферу.
Плунжеры опускаются, освобождая впускные клапаны (разгрузочное устройство выключается), и компрессор снова начинает нагнетать воздух в пневматическую систему. При давлении воздуха в баллонах более 700 кН/м2 (7 кгс/см2) происходит подъем клапанов вверх и сжатие штоком пружины. При этом клапан открывает вход сжатому воздуху, а клапан закрывает отверстие Б, прекращая связь с атмосферой. Сжатый воздух из баллонов через регулятор проходит из отверстия А в отверстие В через фильтр, а затем поступает в канал в блоке цилиндров; при этом компрессор переключается на работу при холостом ходе. Прокладки под штуцером служат для регулирования давления, при котором компрессор переключается на работу при холостом ходе.
Тормозной кран. Управление тормозами автомобиля при помощи регулирования подачи сжатого воздуха из баллонов к тормозным камерам выполняют тормозным краном. Этот кран также обеспечивает постоянную тормозную силу при неизменном положении педали тормоза и быстрое растормажи-вание после прекращения нажатия на педаль.
Корпус тормозного крана укреплен к поперечине рамы. Диафрагма из специальной прорезиненной ткани зажата краями между корпусом и крышкой. В центре диафрагмы расположено седло выпускного клапана седло опирается на стакан уравновешивающей пружин. Полость крана сообщается через выпускное окно В и клапан с атмосферой, через отверстие А — непосредственно с тормозными камерами колес и через отверстие Б — с воздушным баллоном. Возвратная пружина постоянно стремится отжать диафрагму влево, открыть выпускной клапан и через седло клапана и выпускное окно В связать тормозные камеры колес с атмосферой. Седло впускного клапана установлено в горловине крышки и зажато в ней штуцером воздухопровода. Возвратная пружина опирается на седло и прижимает к нему впускной клапан. Воздух из воздушных баллонов не будет проходить в отверстие А, а следовательно, и к тормозным камерам.
Рис. 4. Тормозной кран пневматического привода тормозов автомобиля ЗИЛ-130: А — отверстие, через которое воздух поступает к тормозным камерам; Б — отверстие, через которое поступает воздух из воздушного баллона; В — выпускное окно; 1 — тяга привода тормозного крана; 2 — защитный чехол; 3 — крышка рычага; 4 — рычаг крана; 5 — уравновешивающая пружина; 6 — стакан уравновешивающей пружины; 7 — корпус крана; 8 и 18 — седла; 9 — диафрагма; 10 и 12 — возвратные пружины; 11 — выпускной клапан; 13 — крышка тормозного крана; 14 — впускной клапан; 16 корпус; 17 — клапан выпускного окна; 18 — регулировочный болт
Двуплечий рычаг, соединенный тягой с педалью тормоза, опирается на стакан.
Первое положение соответствует отпущенной педали тормоза, когда оба клапана под действием пружин занимают крайнее левое положение. При этом впускной клапан закрыт, а тормозные камеры через отверстие А и открытый выпускной клапан соединены с атмосферой.
Второе положение соответствует нажатию на педаль тормоза. Усилие водителя через рычаг, стакан, пружину и седло передается диафрагме, которая прогибается. Седло садится на клапан, и отверстие А разобщается с атмосферой. Клапан при этом остается закрытым, так как его открытию препятствует давление сжатого воздуха и пружины.
Третье положение соответствует дальнейшему нажатию на педаль тормоза, когда открывается впускной клапан.
Сжатый воздух из баллонов поступает через отверстие А к тормозным камерам — происходит торможение автомобиля. Под действием сжатого воздуха диафрагма прогибается влево, при этом сжимается пружина. Когда силы, действующие на диафрагму, уравновесятся, она займет второе положение, при котором оба клапана закрыты, а тормозная сила будет сохраняться постоянной.
Увеличение усилия на педали тормоза приводит к впуску дополнительного количества воздуха через клапан и к увеличению давления в тормозных камерах, так как пружина 5 будет сжата с большей силой.
При растормаживании все процессы протекают в обратной последовательности, рычаг перестает давить через стакан на пружину и седло, выпускной клапан открывается, а впускной клапан закрывается. Сжатый воздух выходит из тормозных камер через клапан выпускного окна В в атмосферу. В крышке 13 тормозного крана установлен датчик стоп-сигнала. Болт 18 служит для регулирования холостого хода.
Комбинированный тормозной кран. Его ставят на автомобилях, предназначенных для работы с прицепами и полуприцепами.
В комбинированном тормозном кране автомобиля ЗИЛ-130 есть две секции, из которых верхняя управляет тормозами прицепа, а нижняя — тормозами тягача. Устройство нижней секции аналогично устройству обычного тормозного крана. Правые части обеих секций однотипны. В седло выпускного клапана упирается шток, проходящий внутри направляющей втулки, и пружина, упирающаяся во фланец втулки. Через тарелку пружина стремится подать шток вправо. На оси 4 штока качается большой рычаг, который осью связан с вилкой малого рычага.
Полости каналами через окно сообщаются с атмосферой.
Рис. 5. Комбинированный тормозной кран автомобилей ЗИЛ: А, Б, Д и Е — полости; В и F — отверстия; 1 а 4 — оси; 2— малый рычаг; г шток; 5 — валик рычага ручного привода; 6 — большой рычаг; 7 — уравновешивающая пружина секции, управляющей тормозами прицепа; 8 — направляющая втулка штока; .9 — тарелки пружины; 10 и 23 — диафрагмы; 11 и 24 — седла клапанов; 12, 15, 17, 21 и 26 — пружины; 13 и 18 — крышки; 14 и 20 — выпускные клапаны; 16 и 19 — впускные клапаны; 22 — корпус выключения; 25 — стакан уравновешивающей пружины; 27 — корпус; 28 — окно
Рис.
6. Тормозная система прицепа автомобиля ЗИЛ-130:
Б связана с магистралью прицепа, полость Д — с тормозными камерами колес тягача. Отверстия В и Г соединяют кран с воздушными баллонами. В тормозную систему прицепа кроме тормозного крана входит воздушный баллон, воздухораспределитель, тормозные камеры и соответствующие воздухопроводы. Воздухораспределитель направляет воздух из баллона в тормозные камеры колес прицепа только при наличии пониженного давления в магистрали прицепа и выключает тормозные механизмы в случае повышенного давления. Это необходимо для того, чтобы в случае снижения давления в магистрали по какой-либо причине колеса прицепа оказались заторможенными. Аналогично построена работа и комбинированного крана.
При отпущенной педали тормоза пружина верхней секции крана подаст шток вправо, прижмет седло к клапану и закроет его. Тогда клапан отойдет вправо от своего седла, и воздух из баллонов тягача поступит в магистраль прицепа, создавая в ней давление. Под действием повышенного давления в магистрали воздухораспределитель (его работа будет описана ниже) соединит тормозные камеры колес прицепа с атмосферой, и тормоза прицепа будут выключены.
Работа нижней секции аналогична работе обычного крана.
При нажатии на педаль тормоза верхний конец рычага пойдет влево и потянет за собой через ось шток, сжимая пружину. Под действием пружины диафрагма прогнется влево, увлекая за собой седло клапана. Под действием пружины клапан закроется, а между клапаном и его седлом появится кольцевой зазор; полость Б через седло клапана, полость А и окно будет сообщаться с атмосферой. Полость Б соединится с магистралью прицепа, поэтому давление в магистрали снизится, и распределитель направит сжатый воздух из баллона прицепа в тормозные камеры колес — произойдет торможение. Рычаг повернется на оси и нижним концом заставит переместиться вправо рычаг. После этого стакан уравновешивающей пружины переместит седло, прижав его к клапану, передвинет вместе с клапаном. Выпускной клапан будет закрыт, а впускной клапан — открыт. Воздух из баллонов тягача через открытый впускной клапан и полость Д поступит в тормозные камеры колес тягача, и они будут заторможены.
Пружины и диафрагмы в этом кране действуют по тому же принципу, что и в обычном тормозном кране. Если затормозить тягач стояночным тормозом, то специальная система рычагов включит пневматический тормозной привод прицепа. Рычаг повернет валик, кулачок которого надавит на вырез штока, и включит в работу секцию тормозного крана, управляющую тормозами прицепа. Свободный ход рычага равен 1—2 мм, а рабочий ход штока, составляющий 5 мм, можно регулировать упорными болтами.
Устойчивость автопоезда при торможении и безопасность движения обеспечены тем, что колеса прицепа тормозятся на 0,2—0,3 с раньше, чем колеса автомобиля-тягача. Кроме верхней секции тормозного крана, в тормозную систему прицепа входят баллон, тормозные камеры, тормозные механизмы колес и воздухораспределитель. Воздухораспределитель тормозной системы прицепа состоит из корпуса, внутри которого есть перегородка, разделяющая корпус на две части. В центре перегородки проходит шток, на котором укреплены два поршня.
Пружина, опирающаяся на перегородки, стремится отжать поршень, а вместе с ним и шток в верхнее положение. В нижней части корпуса имеется гнездо с клапаном, прижимаемым пружиной.
Полость Б через шариковый клапан соединена воздухопроводом с магистралью, а полость А через фильтр — с атмосферой и через пластинчатый клапан — с воздушным баллоном. При нажатии на педаль тормоза через верхнюю секцию тормозного крана магистраль прицепа, как было описано ранее, сообщается с атмосферой, давление в этой магистрали снижается, воздух из баллона прицепа поступает в полость Б, и шариковый клапан закрывается. Под действием давления воздуха поршень, сжимая пружину, опустится вниз и откроет штоком пластинчатый клапан. Воздух из баллона поступит через открытый клапан И и полость А под поршнем в тормозные камеры прицепа — произойдет торможение колес.
Рис. 7. Предохранительный клапан пневматического тормозного привода автомобиля ЗИЛ-130: 1 — седло; 2 — корпус; 3 — шарик: 4 — пружина; 5 — контргайка; 6 — регулировочный винт; 7 — стержень
При отпускании тормозной педали давление в магистрали прицепа, как было описано ранее, возрастет, воздух из баллонов тягача поступит в полость Б распределителя под поршень и, открыв шариковый клапан, поступит в пространство над поршнем.
Вследствие равного давления с двух сторон поршня пружина поднимет его вверх, а вместе с ним и шток с поршнем. Клапан закроется, а тормозные камеры прицепа через полость под поршнем, отверстия в штоке и фильтр соединятся с атмосферой. Тормоза прицепа будут выключены, а баллон прицепа пополнится воздухом из баллонов тягача.
Предохранительный клапан. Для предохранения пневматической системы от чрезмерного повышения давления в случае неисправности регулятора давления служит предохранительный клапан. Седло клапана установлено на переднем правом баллоне со сжатым воздухом. Клапан регулируют винтом на давление 0,9—0,95 МН/м3 (9,0—9,5 кгс/см2), а затем стопорят контргайкой. Стержень служит для проверки исправности клапана.
Тормозные камеры и тормозные цилиндры. Колесные тормозные механизмы приводятся в действие камерами или тормозными цилиндрами. На рис. 8 показана тормозная камера автомобиля ЗИЛ-130. Камера шпильками прикреплена к кронштейну. Диафрагма из прорезиненнои ткани по краям зажата между корпусом и крышкой.
Диафрагма прогнута в сторону крышки двумя возвратными пружинами, упирающимися в диск, прикрепленный к штоку. Вал разжимного кулака тормозных колодок рычагом соединен с вилкой штока, навинченной на выступающий из корпуса камеры конец штока. Вилка зафиксирована на штоке контргайкой. В теле рычага установлен червяк, а на шлицах вала закреплено червячное колесо.
При торможении сжатый воздух проходит по гибкому шлангу в тормозную камеру, вследствие чего диафрагма расправляется. При этом движение через шток и вилку передается рычагу, который, повертываясь, вращает червяк, червячное колесо и вал разжимного кулака, прижимающего колодки к тормозному барабану. Фиксатор удерживает вал от самопроизвольного повертывания, квадрат на конце вала сделан для удобства регулирования тормозов рычагом.
Рис. 8. Тормозная камера автомобиля ЗИЛ-ISO: 1 — корпус камеры; 2 — диафрагма; 3 и 21 — штоки; 4 — крышка; 5 — гибкий шланг; 6, 7 — пружины; 8 — уплотнительная шайба; 9 — шпилька крепления камеры; 10 — вилка штока; 11 — рычаг; 12 — червяк; 13 — фиксатор; 14 — вал; 15 — червячное колесо; 16 — вал разжимного кулака; 17 => крышка
Наличие у автомобиля пневматической тормозной системы позволяет использовать сжатый воздух для торможения прицепов, накачивания шин, привода стеклоочистителей, дверей (в автобусах) и т.
п. Аналогичные системы пневматического тормозного привода имеют автобусы ЗИЛ, ЛАЗ, грузовые автомобили МАЗ и др.
Автомобиль КамАЗ-5320 оборудован рабочим, стояночным вспомогательным и запасными тормозами, а также устройством для аварийного растормаживания стояночного тормоза и выводами для питания сжатым воздухом прицепов и полуприцепов. Рабочие тормоза имеют раздельный привод.
Тормозные механизмы установлены на всех колесах и являются общими для рабочего, стояночного и запасного тормозов.
В первый контур привода переднего рабочего тормоза входят баллон, верхняя секция двухсекционного тормозного крана, связанного с ножной педалью тормоза, и тормозные камеры передних колес.
Второй контур привода рабочего тормоза задней тележки состоит из баллона, нижней секции тормозного крана, автоматического регулятора тормозных сил и тормозных камер с пружинными энергоаккумуляторами. Давление в первом контуре контролируют по верхней, а во втором — по нижней шкалам двухстрелочного манометра, расположенного на щитке приборов (рис.
217, г).
Третий контур привода стояночного и запасного тормозов состоит из баллона, тормозного крана с ручным краном управления и из тормозных камер с пружинными энергоаккумуляторами. Из этого же контура через разобщительный кран, соединительную головку и клапан управления тормозами прицепа получает питание пневматический привод тормозов прицепа.
В четвертый контур управления вспомогательным моторным тормозом входят баллон, пневматический ножной кран включения, цилиндры пневматического привода вспомогательного тормоза и цилиндр пневматического выключения подачи топлива. Давление в баллонах контролируют по сигнальным лампам, расположенным на щитке приборов. Лампа V сигнализирует о включении стояночного тормоза.
Пятый контур аварийного растормаживания имеет кран аварийного растормаживания с кнопочным управлением и корпус пружинного энергоаккумулятора тормозных камер.
Для включения рабочего тормоза водитель нажимает на педаль, связанную с двухсекционным тормозным краном.
Воздух, попадая в тормозные камеры передних колес через штуцер, отводит диафрагму, преодолевая сопротивление пружины, и вилкой через специальный регулировочный рычаг и разжимной кулак раздвигает тормозные колодки. Из нижней секции тормозного крана воздух подается в тормозные камеры с пружинным энергоаккумулятором между диафрагмой и фланцем. Диафрагма прогибается, преодолевая сопротивление пружины, и вилкой, связанной через регулировочный рычаг с разжимным кулаком, приводит в действие тормоза задних колес. При отпускании педали тормозные камеры сообщаются с атмосферой, и под действием стяжных пружин колодок и пружин диафрагмы разжимной кулак и диафрагма занимают первоначальное положение.
Стояночный тормоз включают рукояткой тормозного крана, расположенного в кабине справа от водителя. При этом происходит выпуск сжатого воздуха из цилиндра энергоаккумулятора, поршень под действием пружины опускается вниз, воздействуя толкателем на шток, который через регулировочный рычаг осуществляет торможение колес.
При положении рукоятки крана, соответствующем выключению стояночного тормоза, в цилиндр энергоаккумулятора подается сжатый воздух, поршень приподнимается, сжимая пружину, и возвращает толкатель, а следовательно, и остальные детали в первоначальное положение.
Рис. 9. Тормозная система автомобилей КамАЗ: а — упрощенная схема пневматического привода тормозов; б — тормозная камера переднего тормоза; в — тормозная камера с пружинным энергоаккумулятором; г — расположение органов управления и сигнализации; 1 — компрессор; 2 — регулятор давления; 3 — баллон тормозов переднего моста; 4 — баллон тормозов задних мостов; 5 — баллон стояночного, запасного тормозов и тормозной системы прицепа; 6 — баллон вспомогательного тормоза; 7 — кран растормаживания; 8 — кран включения вспомогательного тормоза; 9 — цилиндр пневматического привода вспомогательного тормоза; 10 — цилиндр пневматического выключения подачи топлива; 11 — соединительная головка; 12 — кран разобщительный; 13 — клапан управления тормозами прицепа; 14 — тормозная камера о пружинным энергоаккумулятором; 15 — кран тормозной с ручным управлением; 16 — манометр двухстрелочный; 17 — регулятор тормозных сил; 18 — кран тормозной двухсекционный; 19 — камера тормозная передняя; 20 — вилка; 21 — шток; 22 — корпус; 23 — крышка корпуса; 24 — штуцер; 25 — диафрагма; 26 — пружина; 27 — болт; 28 — вилка; 29 — пружина; 30 — шток; 31 — корпус тормозной камеры; 32 — диафрагма; 33 — диск; 34 — фланец цилиндра; 35 — толкатель; 36 — цилиндр; 37 — поршень; 38 — уплотнитель поршня; 39 — пружина; 40 — винт; 41 — упорная шайба; 42 — патрубок; 43 — труба; 44 — упорный подшипник; 45 — упорное кольцо; 46 — тормозная педаль управления рабочим тормозом; 47 — кран управления стояночным и запасным тормозами; 48 — кран управления вспомогательным тормозом; 49 = кран растормаживания запасного и стояночного тормозов; 50 — сигнальные лампы; 51 — двухстрелочный манометр
При аварийной утечке воздуха в контуре привода стояночного тормоза пружинные энергоаккумуляторы срабатывают и автомобиль затормаживается.
Для аварийного растормаживания водитель нажимает на кнопку крана, расположенную на щитке приборов. При этом сжатый воздух поступает в корпус пружинного энергоаккумулятора, сжимая его пружину, — происходит растормаживание колес. При отсутствии воздуха в контуре можно выполнить механическое растормаживание, вывертывая винт, который поднимет поршень, сжав пружину энергоаккумулятора.
Тормозной кран имеет следящее устройство, которое позволяет частично притормаживать автомобиль с интенсивностью, зависящей от положения рукоятки крана. Таким образом осуществляют запасное торможение при движении автомобиля в случае неисправности рабочего тормоза. Тормозной кран регулирует количество воздуха, выходящего из цилиндра энергоаккумулятора, и устанавливает тем самым равновесие между давлением воздуха и действием пружины энергоаккумулятора. Одновременно с торможением автомобиля происходит притормаживание прицепа.
На длительных спусках пользуются вспомогательным тормозом, который значительно снижает энергонагруженность рабочего тормоза.
Действие вспомогательного тормоза основано на том, что при помощи пневмоцилиндра можно выключить подачу топлива в цилиндры двигателя, а пневмоцилиндров — повернуть заслонки, установленные на выпускных газопроводах правого и левого рядов цилиндров. Заслонки, перекрывая газопроводы, создают противодавление выходящим газом и увеличивают тем самым эффективность торможения двигателем. При помощи специальных устройств одновременно происходит притормаживание прицепа. Вспомогательный тормоз включают краном с ножным управлением, расположенным слева под рулевой колонкой.
Техническое состояние тормозной системы оказывает решающее влияние на безопасность движения, так как только надежное ее действие позволяет избежать наезда на пешехода, другое транспортное средство или препятствие.
Стояночный тормоз должен удерживать автомобиль независимо от его нагрузки на подъеме или спуске с уклоном 16%.
—
Пневматический тормозной привод применяется на автомобилях большой грузоподъемности, автобусах большой вместимости и колесных тягачах, работающих с прицепами и полуприцепами.
Схемы пневматического тормозного привода различаются между собой по числу трубопроводов (одно или двухпроводные), связывающих автомобиль-тягач с прицепом. В остальном между ними много общего
На автомобиле ЗИЛ-130 и его модификациях устанавливается пневматический привод тормозов В него входят компрессор, баллоны, манометр, тормозной кран, колесные тормозные камеры, педаль тормозов, регулятор давления, предохранительный клапан, кран отбора воздуха, сливной кран, разобщительный кран и соединительная головка.
Компрессор нагнетает воздух в баллоны и обеспечивает систему сжатым воздухом. Давление воздуха в системе контролируется по манометру. При нажатии на педаль тормозной кран открывает доступ сжатого воздуха из баллонов в тормозные камеры передних и задних колес, механизмы которых раздвигают тормозные колодки. Растормаживание производится с помощью стяжных пружин колодок. От воздушной системы тормозов с помощью головки крана управ ления приводится в действие механизм стеклоочистителя
Компрессор автомобилей ЗИЛ,МАЗ и других — поршневого типа, двухцилиндровый, одноступенчатого сжатия, приводится в движение клиновидным ремнем от шкива вентилятора Компрессор состоит из блока цилиндров, головки блока пи линдров, картера передней, нижней и задней крышек.
Коленчатый вал компрессора вращается в шарикоподшипниках и шатунами через поршневые пальцы плавающего типа соединен с поршнями. На переднем конце вала установлен шкив, который крепится шпонкой и гайкой. На заднем конце коленчатого вала имеются уплотнитель и гайка для затяжки шарикоподшипника. В стенке блока цилиндров выполнено окно для прохода воздуха, поступающего внутрь цилиндров из полости В, в которой установлены два впускных клапана с седлами, а над каждым цилиндром —выпускные клапаны. Под выпускными клапанами находится разгрузочное устройство компрессора, состоящее из плунжера со штоком, коромысла, пружины и ее направляющей. Канал разгрузочного устройства соединен с регулятором давления.
Рис. 10. Схема тормозов с пневматическим приводом автомобиля ЗИЛ-130
Система смазки компрессора — принудительная, масло подается под давлением из главной масляной магистрали двигателя через отверстие в задней крышке. Залитые антифрикционным сплавом шатунные подшипники и поршневые пальцы компрессора соединены каналами в шатунах и смазываются принудительно, а остальные детали-разбрызги-ванием Из картера компрессора отработавшее масло с помощью специальной трубки отводится в картер двигателя.
Компрессор имеет жидкостную систему охлаждения. Жидкость поступает в полость Б блока цилиндров компрессора из системы охлаждения двигателя.
При движении поршня вниз в цилиндре создается небольшое разрежение, воздух поступает в полость В и через открытые впускные клапаны происходит заполнение цилиндра. При движении поршня вверх давлением сжимаемого воздуха открываются выпускные клапаны и через камеру А воздух поступает к воздушным баллонам, откуда он подается в пневматическую систему.
Давление сжатого воздуха в баллонах ограничивается с помощью специального разгрузочного устройства, которое уменьшает затрату мощности двигателя на привод компрессора и повышает долговечность последнего. Это устройство работает вместе с регулятором давления.
Регулятор давления автоматически поддерживает необходимое давление сжатого воздуха в системе путем впуска или выпуска воздуха в разгрузочное устройство компрессора. При достижении давления 0,7— 0,74 МПа регулятор отключает подачу воздуха, а при давлении 0,56—0,6 МПа снова включает ее.
В корпусе под кожухом помещены штуцер, впускной и выпускной шариковые клапаны, нагруженные через стержень пружиной, и центрирующие шарики. В регуляторе имеются сетчатый фильтр, установлены в месте выхода воздуха из регулятора в разгрузочное устройство компрессора, и металлокерамический фильтр, прижатый пробкой в месте входа воздуха в регулятор из пневматической системы.
При давлении в системе 0,7—0,74 МПа сжатый воздух, преодолевая сопротивление пружины, открывает впускной клапан и поступает в разгрузочное устройство компрессора. В разгрузочном устройстве сжатый воздух давит на плунжер, который открывает впускной клапан. Компрессор в этом случае перекачивает воздух из одного цилиндра в другой, т. е. работает вхолостую.
При снижении давления 0,56—0,60 МПа впускной клапан будет закрыт и выпускной клапан, опустившись вниз под действием пружины, сообщит разгрузочное устройство компрессора с атмосферой. Впускные клапаны разгрузочного устройства закроются, и компрессор начнет нагнетать сжатый воздух в пневматическую систему.
Регулировка давления производится вращением колпачковой гайки, фиксируемой контргайкой. Регуляторы давления шарикового типа применяют На автомобилях ЗИЛ-130, КрАЗ-257 и др. На автомобилях МАЗ-500А применяется регулятор давления диафрагменного типа.
Рис. 11. Компрессор пневматического привода тормозов автомобилей ЗИЛ-130, МАЗ-500А и др.
Предохранительный клапан служит для предохранения пневматической системы от чрезмерного повышения давления в случае неисправности автоматического регулятора давления. В его корпус ввернуто седло, на которое опирается шарик. прижимаемый к седлу стержнем под действием пружины. Для регулировки клапана на заданное давление установлен винт с контргайкой.
Клапан установлен на правом воздушном баллоне и отрегулирован на давление воздуха в системе 0,9—0,95 МПа. При этом давлении шарик. преодолевая сопротивление пружины. открывает выход воздуха в атмосферу через отверстие в боковой стенке корпуса.
Воздушные баллоны служат для хранения запаса сжатого воздуха, поступающего из компрессора.
В них имеются краны для слива конденсата воды и масла и предохранительный клапан. Для накачки сжатым воздухом шин используется. кран отбора воздуха, отверстие которого закрывается колпачковой гайкой.
Тормозной кран служит для управления тормозами автомобиля путем регулировки подачи сжатого воздуха из баллонов к тормозным камерам. Тормозной кран также обеспечивает постоянное тормозное усилие при неизменном положении тормозной педали и быстрое растор-маживание при прекращении нажатия на педаль.
Тормозные краны бывают прямого и обратного действия. В кранах прямого действия при нажатии на педаль происходит подача сжатого воздуха из баллона через магистраль в тормозные камеры колес. В кранах обратного действия при торможении воздух из магистрали выпускается в атмосферу, а тормозные камеры колес заполняются воздухом из баллона через специальный распределитель. Краны первого типа применяются для управления тормозами автомобиля, а второго – для управления тормозами прицепа. По конструкции тормозные краны бывают диафрагменные и поршневые.
У автомобилей и автобусов новых моделей устанавливают тормозные краны поршневого типа. На автомобилях, предназначенных для работы с прицепом, устанавливают комбинированные (двойные) краны с двумя цилиндрами, один из которых служит для управления тормозами автомобиля, а другой тормозами прицепа.
Рис. 12. Регулятор давления (а) и предохранительный клапан (б)
На автомобиле ЗИЛ-130 и его модификациях устанавливается комбинированный тормозной кран, который имеет диафрагмы к из прорезиненного полотна и сдвоенные конические резиновые клапаны и — выпускные; и — впускные.
При нажатии на педаль тормоза тяга привода поворачивает рычаг, который, опираясь на вилку рычага, выдвигает шток. сжимая уравновешивающую пружину. Диафрагма под давлением сжатогф воздуха прогибается влево, а седло открывает выпускной клапан Через отверстие в седле и выпускное отверстие на корпусе крана сжатый воздух из магистрали прицепа выходит в атмосферу При снижении давления воздуха в магистрали прицепа вступает в действие его воздухораспределитель, обеспечивая поступление сжатого воздуха в тормозные камеры колес и торможение
Далее под действием рычага и пальца поворачивается вокруг оси рычаг, Этот рычаг давит на стакан и пружину.
Диа фрагма прогибается вправо, седло закрывается выпускным клапаном и открывает впускной клапан. Сжатый воздух из баллонов поступает к диафрагме и далее (по стрелке А) — к тормозным камерам автомобиля-тягача. Колеса тягача затормаживаются на 0,2—0,3 с позднее колес прицепа.
Рис. 13. Комбинированный тормозной кран автомобилей ЗИЛ-130 и его модификаций
При затормаживании автомобиля ручным тормозом поворачивается валик приводного рычага, на конце которого насажен кулачок. Кулачок выдвигает шток, вызывая срабатывание верхней полости тормозного крана (как описано выше) и торможение колёс прицепа. Нижняя полость крана при этом не включается.
В расторможенном положении тормозной кран обеспечивает поступление воздуха под давлением 0,48—0,53 МПа из воздушных баллонов автомобиля в пневматическую систему тормозов прицепа (верхние стрелки А и Б) Выпускной клапан прижат к седлу, впускной клапан при этом открыт.
Давление воздуха, подаваемого от тормозного крана в магистраль прицепа, регулируют затяжкой пружины путем поворота направляющей втулки после ослабления контргайки.
Величину открытия впускных клапанов регулируют прокладками. Свободный ход рычага регулируется болтом, а рабочий ход штока — болтом.
Рис. 14. Тормозная камера с регулировочным рычагом автомобиля ЗИЛ-130
Тормозной механизм при пневматическом приводе тормозов имеет один разжимной кулак на обе колодки. Вал разжимного кулака связан со штоком тормозной камеры рычагом с регулировочным червячным механизмом.
На автомобилях ЗИЛ-130 тормозная камера состоит из корпуса и крышки, между которыми зажата диафрагма, выполненная из прорезиненной ткани. В середине диафрагмы установлена стальная тарелка, на которую опирается шток. Противоположный конец штока имеет резьбу для крепления вилки, соединяющей его с рычагом. Установленный в рычаге чёрвяк находится в зацеплении с червячной шестерней, сидящей на валу разжимного кулака.
Торможение вызывается впуском воздуха через шланг в пространство между крышкой и диафрагмой. Диафрагма прогибается, перемещая шток и поворачивая рычаг разжимного кулака.
В исходное положение диафрагма возвращается пружинами и тормозной камеры.
На задние колеса грузового автомобиля приходится большая часть массы, чем на передние, поэтому для увеличения тормозной силы тормозные камеры задних колес имеют больший диаметр, чем камеры передних колес.
На тяжелых автомобилях распространены поршневые колесные тормозные камеры, которые более надежны и долговечны.
Соединительная головка устанавливается на задней поперечине рамы и служит для соединения воздухопроводов между автомобилем и прицепом и между отдельными прицепами. Головка состоит из корпуса, резинового кольца, обратного клапана и крышки; последняя должна быть закрыта, если соединительная головка не соединена с головкой прицепа.
Разобщительный кран служит для отключения магистрали прицепа и устанавливается перед соединительной головкой. Кран открывают только после присоединения пневматической системы прицепа.
Кран отбора воздуха служит для накачивания шин и других целей, его устанавливают на воздушном баллоне.
Манометр позволяет проверять давление воздуха как в воздушных баллонах, так и в тормозных камерах системы пневматического привода. Для этого он имеет две стрелки и две шкалы. По нижней шкале проверяют давление в тормозных камерах, по верхней в воздушных баллонах.
Рекламные предложения:
Читать далее: Механический привод тормозов
Категория: — Автомобили и трактора
Главная → Справочник → Статьи → Форум
Компрессор, клапана и краны тормозной системы автомобилей Камаз
_______________________________________________________________________________
Компрессор, клапана и краны тормозной системы автомобилей Камаз
Компрессор Камаз (рис.1) поршневого типа, одноцилиндровый, одноступенчатого сжатия. Компрессор закреплен на переднем торце картера маховика двигателя.
Рис.1. Компрессор Камаз
1 — шатун; 2 — палец поршня; 3 -маслосъемное кольцо; 4 — компрессионное кольцо; 5 -корпус цилиндра компрессора; 6 — проставка цилиндра; 7 — головка цилиндра; 8 — стяжной болт; 9 — гайка; 10 -прокладки; 11 — поршень; 12, 13 — уплотнительные кольца; 14 — подшипники скольжения; 15 — задняя крышка картера; 16 — коленчатый вал; 17 — картер; 18 -зубчатое колесо привода; 19 — гайка крепления зубчатого колеса; I — ввод; II — вывод в пневмосистему
Поршень воздушного компрессора Камаз алюминиевый, с плавающим пальцем.
От осевого перемещения палец в бобышках поршня фиксируется
упорными кольцами.
Воздух из коллектора двигателя поступает в цилиндр компрессора через пластинчатый впускной клапан. Сжатый поршнем воздух вытесняется в пневмосистему Камаз через расположенный в головке цилиндра пластинчатый нагнетательный клапан.
Головка охлаждается жидкостью, подводимой из системы охлаждения двигателя. Масло к трущимся поверхностям компрессора подается из масляной магистрали двигателя: к заднему торцу коленчатого вала компрессора и по каналам коленчатого вала к шатуну. Поршневой палец и стенки цилиндра смазываются разбрызгиванием.
При достижении в пневмосистеме давления 800-20 кПа (8,0-0,2кгс/см2) регулятор давления Камаз сообщает нагнетательную магистраль с окружающей средой, прекращая подачу воздуха в пневмосистему.
Когда давление воздуха в пневмосистеме снизится до 650+50кПа (6,5+0,5
кгс/см2), регулятор перекрывает выход воздуха в окружающую среду и
компрессор снова начинает нагнетать воздух в пневмосистему.
Влагоотделитель предназначен для выделения конденсата из сжатого воздуха и его автоматического удаления из питающей части привода. Устройство влагоотделителя показано на рис.2.
Рис.2. Влагоотделитель тозмозной системы Камаз
1 — радиатор с ребристыми трубками; 2 — корпус; 3 — винт пустотелый; 4 — аппарат направляющий; 5 — фильтр; 6 — мембрана; 7 — крышка; 8 — клапан слива конденсата; I — к регулятору давления; II — от компрессора; III — в атмосферу
Сжатый воздух от воздушного компрессора Камаз через подвод II подается в оребренную алюминиевую трубкуохладитель (радиатор) 1, где постоянно охлаждается потоком встречного воздуха.
Затем воздух проходит по центробежным направляющим дискам направляющего аппарата 4 через отверстие пустотелого винта 3 в корпусе 2 к выводу I и далее в пневматический тормозной привод.
Выделявшаяся за счет термодинамического эффекта влага, стекая через
фильтр 5, скапливается в нижней крышке 7.
При срабатывании регулятора
Камаз давление во влагоотделитель падает, при этом мембрана 6
перемещается вверх.
Клапан 8 слива конденсата открывается, скопившаяся смесь воды и масла через вывод III удаляется в атмосферу. Направление потока сжатого воздуха показано стрелками на корпусе 2.
Рис.3. Регулятор давления Камаз
1 — клапан разгрузочный; 2 -фильтр; 3 — пробка канала отбора воздуха; 4 — клапан выпускной; 5 — пружина уравновешивающая; 6 — винт регулировочный; 7 — чехол защитный; 8 — поршень следящий; 9, 10, 12 — каналы; 11 — клапан обратный; 13 — клапан впускной; 14 — поршень разгрузочный; 15 — седло разгрузочного клапана; 16 — клапан для накачки шин; 17 -колпачок; I, III — выводы атмосферные; II — в пневмосистему; IV — от компрессора; С — полость под следящим поршнем; D — полость под разгрузочным поршнем
Регулятор давления Камаз предназначен:
— для регулирования давления сжатого воздуха в пневмосистеме;
— предохранения пневмосистемы от перегрузки избыточным давлением;
— очистки сжатого воздуха от влаги и масла;
— обеспечения накачки шин.
Сжатый воздух от компрессора Камаз через вывод IV регулятора, фильтр 2, канал 12 подается в кольцевой канал. Через обратный клапан 11 сжатый воздух поступает к выводу II и далее в ресиверы пневмосистемы автомобиля.
Одновременно по каналу 9 сжатый воздух проходит под поршень 8, который нагружен уравновешивающей пружиной 5. При этом выпускной клапан 4, соединяющий полость над разгрузочным поршнем 14 с атмосферой через вывод I, открыт, а впускной клапан 13 под действием пружины закрыт.
Под действием пружины закрыт также и разгрузочный клапан 1. При таком состоянии регулятора давления Камаз система наполняется сжатым воздухом от компрессора.
При давлении в полости под поршнем 8, равном 686,5… 735,5 кПa (7 … 7,5 кгс/ см2), поршень, преодолев усилие уравновешивающей пружины 5, поднимается вверх, клапан 4 закрывается, впускной клапан 13 открывается.
Под действием сжатого воздуха разгрузочный поршень 14 перемещается вниз,
разгрузочный клапан 1 открывается, и сжатый воздух из компрессора
через вывод III выходит в атмосферу вместе со скопившимся в полости
конденсатом.
При этом давление в кольцевом канале падает и обратный клапан 11 закрывается. Таким образом, компрессор Камаз работает в разгруженном режиме без противодавления.
Когда давление в выводе II понизится до 608… 637,5 кПa (6,2… 6,5
кгс/см2), поршень 8 под действием пружины 5 перемещается вниз, клапан 13
закрывается, а выпускной клапан 4 открывается.
При этом разгрузочный поршень 14 под действием пружины поднимается вверх, клапан 1 под действием пружины закрывается, и компрессор Камаз нагнетает сжатый воздух в пневмосистему.
Разгрузочный клапан 1 служит также предохранительным клапаном. Если регулятор не срабатывает при давлении 686,5… 735,5 кПa (7… 7,5 кгс/см2), то клапан 1 открывается, преодолев сопротивление своей пружины и пружины поршня 14.
Клапан 1 открывается при давлении 980,7… 1274,9 кПa (10… 13
кгс/см2). Давление открытия регулируют изменением количества прокладок,
установленных под пружиной клапана.![]()
Рис.4. Предохранитель от замерзания
1 — пружина; 2 -корпус нижний; 3 — фитиль; 4, 9, 12 — кольца уплотнительные: 5 — сопло; 6 — пробка с уплотнительным кольцом; 7 — корпус верхний; 8 — ограничитель тяги; 10 — тяга; 11 — обойма; 13 — кольцо упорное; 14 — пробка; 15 — шайба уплотнительная
Для присоединения специальных устройств регулятор давления Камаз имеет вывод, который соединен с выводом IV через фильтр 2. Этот вывод закрыт резьбовой пробкой 3. Кроме того, предусмотрен клапан отбора воздуха для накачки шин, который закрыт колпачком 17.
При навинчивании штуцера шланга для накачки шин клапан утапливается, открывая доступ сжатому воздуху в шланг и преграждая проход сжатого воздуха в тормозную систему.
Перед накачиванием шин давление в ресиверах Камаз следует понизить до давления, соответствующего давлению включения регулятора, так как во время холостого хода нельзя произвести отбор воздуха.
Предохранитель от замерзания предназначен для предотвращения замерзания
конденсата в трубопроводах и приборах пневматического тормозного
привода Камаз.
Он установлен на правом лонжероне автомобиля за регулятором давления в вертикальном положении и крепится двумя болтами. Устройство предохранителя показано на рис.4.
Нижний корпус 2 предохранителя четырьмя болтами соединен с верхним корпусом 7. Оба корпуса изготовлены из алюминиевого сплава. Для герметизации стыка между корпусами проложено уплотнительное кольцо 4.
В верхнем корпусе 7 смонтировано выключающее устройство, состоящее из тяги 10 с запрессованной в нее рукояткой, ограничителя 8 тяги и пробки 6 с уплотнительным кольцом.
Тяга 10 в верхнем корпусе 7 уплотняется резиновым кольцом 9. В верхнем корпусе 7 находится также обойма 11 с уплотнительным кольцом 12, удерживаемая упорным кольцом 13.
Между дном нижнего корпуса 2 и пробкой 6 установлен фитиль 3, растягиваемый пружиной 1. Фитиль закреплен на пружине 1 при помощи конца тяги 10 и пробки 14.
В заливном отверстии верхнего корпуса 7 установлена пробка с указателем
уровня спирта.
Сливное отверстие нижнего корпуса 2 заглушено пробкой 14
с уплотнительной шайбой 15.
В верхнем корпусе 7 установлено также сопло 5 для выравнивания давления воздуха в нижнем корпусе при выключенном положении. Вместимость резервуара предохранителя 200 cm3.
Рис.5. Клапан Камаз защитный четырехконтурный
1 -колпачок защитный; 2 — тарелка пружины; 3, 8, 10 -пружины; 4 — направляющая пружины; 5 — мембрана; 6 -толкатель; 7, 9 — клапаны; 11, 12 — винты; 13 — пробка транспортная; 14 — корпус; 15 — крышка
Когда рукоятка тяги 10 находится в верхнем положении, воздух, нагнетаемый компрессором Камаз, проходит мимо фитиля 3 и уносит с собой спирт, который отбирает из воздуха влагу и превращает ее в незамерзающий конденсат.
При температуре окружающего воздуха выше 5°С предохранитель следует
выключить. Для этого тяга 10 опускается в крайнее нижнее положение,
поворачивается и фиксируется при помощи ограничителя 8 тяги.
Пробка 6, сжимая расположенную внутри фитиля 3 пружину 1, входит в обойму 11 и отделяет нижний корпус 2, содержащий спирт, от пневмопривода, вследствие чего испарение спирта прекращается.
Четырехконтурный защитный клапан Камаз (см. рис.5) предназначен для разделения сжатого воздуха, поступающего от компрессора, на два основных и один дополнительный контуры:
— для автоматического отключения одного из контуров при нарушении его герметичности и сохранения сжатого воздуха в герметичных контурах;
— для сохранения сжатого воздуха во всех контурах при нарушении герметичности питающей магистрали;
— для питания дополнительного контура от двух основных контуров (до тех
пор, пока давление в них не снизится до заданного уровня).
Четырехконтурный защитный клапан Камаз прикреплен к лонжерону рамы.
Сжатый воздух, поступающий в четырехконтурный защитный клапан Камаз из
питающей магистрали, при достижении заданного давления открытия,
устанавливаемого усилием пружин 3, открывает клапаны 7, воздействуя на
мембрану 5, поднимает ее, и поступает через выводы в два основных
контура.
После открытия обратных клапанов Камаз сжатый воздух поступает к клапанам 7, открывает их и через вывод проходит в дополнительный контур.
При нарушении герметичности одного из основных контуров давление в этом контуре, а также на входе в клапан падает до заданной величины. Вследствие этого клапан исправного контура и обратный клапан дополнительного контура Камаз закрываются, предотвращая уменьшение давления в этих контурах.
Таким образом, в исправных контурах будет поддерживаться давление, соответствующее давлению открытия клапана неисправного контура, излишнее количество сжатого воздуха при этом будет выходить через неисправный контур.
При отказе в работе дополнительного контура давление падает в двух основных контурах и на входе в клапан. Это происходит до тех пор, пока не закроется клапан 6 дополнительного контура.
При дальнейшем поступлении сжатого воздуха в защитный клапан 6 в
основных контурах будет поддерживаться давление на уровне давления
открытия клапана дополнительного контура.
Ресиверы Камаз предназначены для накопления сжатого воздуха, производимого компрессором, и для питания им приборов пневматического тормозного привода, а также для питания других пневматических узлов и систем автомобиля.
На автомобиле Камаз установлено шесть ресиверов вместимостью по 20 л, причем четыре из них соединены между собой попарно, образуя два резервуара вместимостью по 40 л.
Ресиверы Камаз закреплены хомутами на кронштейнах рамы. Три ресивера Камаз объединены в блок и установлены на едином кронштейне.
Рис.6. Кран слива конденсата Камаз
1 — шток; 2 — пружина; 3 — корпус; 4 — кольцо опорное; 5 — шайба; 6 -клапан
Кран слива конденсата Камаз (рис.6) предназначен для принудительного слива конденсата из ресивера пневматического тормозного привода, а также для выпуска из него сжатого воздуха при необходимости.
Кран слива конденсата Камаз ввернут в резьбовую бобышку на нижней части
корпуса ресивера.
Соединение между краном и бобышкой ресивера
уплотнено прокладкой.
Двухсекционный тормозной кран Камаз (см. рис.7) служит для управления исполнительными механизмами двухконтурного привода рабочей тормозной системы автомобиля.
Рис.7. Кран тормозной Камаз с приводом от педали
1 — педаль; 2 — регулировочный болт; 3 — защитный чехол; 4 — ось ролика; 5 — ролик; 6 — толкатель; 7 — опорная плита; 8 -гайка; 9 — тарелка; 10, 16, 19, 27 — уплотнительные кольца; 11 — шпилька; 12 — пружина следящего поршня; 13, 24 -пружины клапанов; 14, 20 — тарелки пружин клапанов; 15 — малый поршень; 17 — клапан нижней секции; 18 -толкатель малого поршня; 21 — атмосферный клапан; 22 -упорное кольцо; 23 — корпус атмосферного клапана; 25-нижний корпус; 26 — пружина малого поршня; 28 -большой поршень; 29 — клапан верхней секции; 30 -следящий поршень; 31 — упругий элемент; 32 — верхний корпус; А — отверстие; В — полость над большим поршнем; I, II — ввод от ресивера; III, IV — вывод к тормозным камерам соответственно задних и передних колес
Управление тормозным краном Камаз осуществляется педалью,
непосредственно связанной с тормозным краном.
Тормозной кран Камаз имеет две независимые секции, расположенные последовательно. Вводы I и II крана соединены с ресиверами Камаз двух раздельных контуров привода рабочей тормозной системы. От выводов III и IV сжатый воздух поступает к тормозным камерам.
При нажатии на тормозную педаль силовое воздействие передается через толкатель 6, тарелку 9 и упругий элемент 31 на следящий поршень 30.
Перемещаясь вниз, следящий поршень 30 сначала закрывает выпускное отверстие клапана 29 верхней секции тормозного крана, а затем отрывает клапан 29 от седла в верхнем корпусе 32, открывая проход сжатому воздуху через ввод II и вывод III и далее к исполнительным механизмам одного из контуров.
Давление на выводе III повышается до тех пор, пока сила нажатия на педаль 1 не уравновесится усилием, создаваемым этим давлением на поршень 30. Так осуществляется следящее действие в верхней секции тормозного кран Камаз.
Одновременно с повышением давления на выводе III сжатый воздух через
отверстие А попадает в полость В над большим поршнем 28 нижней секции
тормозного крана.
Перемещаясь вниз, большой поршень 28 закрывает выпускное отверстие клапана 17 и отрывает его от седла в нижнем корпусе.
Сжатый воздух через ввод I поступает к выводу IV и далее в исполнительные механизмы первого контура рабочей тормозной системы Камаз.
Одновременно с повышением давления на выводе IV возрастает давление под поршнями 15 и 28, в результате чего уравновешивается сила, действующая на поршень 28 сверху.
Вследствие этого на выводе IV также устанавливается давление, соответствующее усилию на рычаге тормозного крана. Так осуществляется следящее действие в нижней секции тормозного крана.
При отказе в работе верхней секции тормозного крана Камаз нижняя секция будет управляться механически через шпильку 11 и толкатель 18 малого поршня 15, полностью сохраняя работоспособность.
При этом следящее действие осуществляется уравновешиванием силы,
приложенной к педали 1, давлением воздуха на малый поршень 15. При
отказе в работе нижней секции тормозного крана Камаз верхняя секция
работает как обычно.
Кран управления стояночным тормозом Камаз предназначен для управления пружинными энергоаккумуляторами привода стояночной и запасной тормозных систем.
Кран закреплен двумя болтами на нише двигателя внутри кабины справа от сиденья водителя. Выходящий из крана при торможении воздух подается наружу по трубопроводу, соединенному с атмосферным выводом крана.
Рис.8. Кран управления стояночной тормозной системой Камаз
1, 10 — кольца упорные; 2 — пружина клапана; 3 — корпус; 4, 24 — кольца уплотнительные; 5 — пружина уравновешивающая; 6 — пружина штока; 7 — тарелка уравновешивающей пружины; 8 — направляющая штока; 9 — кольцо фигурное; 11 — штифт; 12 — пружина колпачка; 13 — крышка; 14 — рукоятка крана; 15- колпачок направляющий; 16 — шток; 17 — ось ролика; 18 — фиксатор; 19 — ролик; 20 -стопор; 21 — седло выпускное клапана на штоке; 22 — клапан; 23 — поршень следящий; I — от ресивера; II — в атмосферу; III — в управляющую магистраль ускорительного клапана
Устройство крана управления стояночной тормозной системой Камаз показано
на рис.
8. При движении автомобиля рукоятка 14 крана находится в
крайнем положении, и сжатый воздух от ресивера привода стояночной и
запасной тормозных систем подводится к выводу I.
Под действием пружины 6 шток 16 находится в крайнем нижнем положении, а клапан 22 под действием пружины 2 прижат к выпускному седлу 21 штока 16.
Сжатый воздух через отверстия в поршне 23 поступает в полость А, а оттуда через впускное седло клапана 22, которое выполнено на дне поршня 23, попадает в полость В, затем по вертикальному каналу в корпусе 3 воздух проходит к выводу III и далее к пружинным энергоаккумуляторам привода.
При повороте рукоятки 14 поворачивается вместе с крышкой 13 направляющий колпачок 15. Скользя по винтовым поверхностям кольца 9, колпачок 15 поднимается вверх, увлекая за собой шток 16.
Седло 21 отрывается от клапана 22, и клапан под действием пружины 2 поднимается до упора в седло поршня 23.
Вследствие этого прекращается прохождение сжатого воздуха от вывода I к
выводу III.
Через открытое выпускное седло 21 на штоке 16 сжатый воздух
через центральное отверстие клапана 22 выходит из вывода III в
атмосферный вывод II до тех пор, пока давление воздуха в полости А под
поршнем 23
не преодолеет силы уравновешивающей пружины 5 и давление воздуха над
поршнем в полости В.
Преодолевая силу пружины 5, поршень 23 вместе с клапаном 22 поднимается вверх до соприкосновения клапана с выпускным седлом 21 штока 16, после чего выпуск воздуха прекращается. Таким образом осуществляется следящее действие.
Стопор 20 крана имеет профиль, обеспечивающий автоматический возврат рукоятки в нижнее положение при ее отпускании. Только в крайнем верхнем положении фиксатор 18 рукоятки 14 входит в специальный вырез стопора 20 и фиксирует рукоятку.
При этом воздух из вывода III полностью выходит в атмосферный вывод II, так как поршень 23 упирается в тарелку 7 пружины 5 и клапан 22 не доходит до выпускного седла 21 штока.
Для оттормаживания пружинных энергоаккумуляторов рукоятку вытянуть в радиальном направлении, при этом фиксатор 18 выходит из паза стопора, и рукоятка 14 свободно возвращается в нижнее положение.
Пневматический кран Камаз с кнопочным управлением предназначен для подачи и отключения сжатого воздуха. На автомобиле Камаз установлено два таких крана.
Один управляет системой аварийного оттормаживания пружинных энергоаккумуляторов, второй — пневмоцилиндрами вспомогательной тормозной системы.
Рис.9. Пневматический кран Камаз
1, 11, 12 -кольца упорные; 2 -корпус; 3 — фильтр; 4-тарелка пружины штока; 5, 10, 14 — кольца уплотнительные; 6 -втулка; 7 — чехол защитный; 8 — кнопка; 9 -толкатель; 13 — пружина толкателя; 15 — клапан:16 — пружина клапана;17 — направляющая клапана; I — от питающей магистрали; II — в атмосферу; III — в управляющую магистраль
Устройство пневматического крана Камаз показано на рис.9. В атмосферном выводе II пневматического крана установлен фильтр 3, предотвращающий проникновение в кран грязи и пыли.
Сжатый воздух в пневматический кран Камаз поступает через вывод I. При нажатии на кнопку 8 толкатель 9 перемещается вниз и своим выпускным седлом давит на клапан 15, разобщая вывод III с атмосферным выводом II.
Затем толкатель 9 отжимает клапан 15 от впускного седла корпуса, открывая тем самым проход сжатому воздуху от вывода I к выводу III и далее в магистраль к пневматическому исполнительному механизму.
При отпускании кнопки 8 толкатель 9 под действием пружины 13 возвращается в верхнее положение. При этом клапан 15 закрывает отверстие в корпусе 2, прекращая дальнейшее поступление сжатого воздуха в вывод III, а седло толкателя 9 отрывается от клапана 15, сообщая тем самым вывод III с атмосферным выводом II.
Сжатый воздух из вывода III через отверстие А в толкателе 9 и вывод II выходит в атмосферу.
Клапан ограничения давления Камаз предназначен для уменьшения давления в тормозных камерах передней оси автомобиля при торможениях с малой интенсивностью (с целью улучшения обеспечения управляемости автомобиля на скользких дорогах), а также для быстрого выпуска воздуха из тормозных камер при оттормаживании. Устройство клапана показано на рис.10.
Рис.10. Клапан ограничения давления Камаз
1 — пружина уравновешивающая; 2 — поршень большой; 3 — поршень малый; 4 — клапан впускной; 5 — стержень клапанов; 6 -клапан выпускной; 7 — клапан атмосферный; 8 — корпус; 9 — тарелка пружины впускного клапана; 10 — пружина; 11, 12, 15, 18 — кольца уплотнительные; 13 — кольцо упорное; 14 — шайба; 16 — крышка; 17 — прокладка регулировочная; I — к тормозным камерам передних колес; II — от тормозного крана; III — в атмосферу
Атмосферный вывод III в нижней части корпуса 8 закрыт резиновым клапаном 7, предохраняющим прибор от попадания в него пыли и грязи и прикрепленным к корпусу заклепкой.
При торможении сжатый воздух, поступающий из тормозного крана Камаз к выводу II, воздействует на малый поршень 3 и перемещает его вниз вместе с клапанами 4 и 6. Поршень 2 остается на месте до тех пор, пока давление на выводе II не достигнет уровня, устанавливаемого регулировкой предварительного натяга уравновешивающей пружины 1.
При движении поршня 3 вниз выпускной клапан 6 закрывается, а впускной клапан 4 открывается, и сжатый воздух поступает от вывода II к выводам I и далее к тормозным камерам передней оси.
Сжатый воздух к выводам I поступает до тех пор, пока давление его на нижний торец поршня 3 (который имеет большую площадь, чем верхний) не уравновесится давлением воздуха от вывода II на верхний торец и клапан 4 не закроется.
Таким образом, в выводах I устанавливается давление, соответствующее соотношению площадей верхнего и нижнего торцов поршня 3. Это соотношение сохраняется до тех пор, пока давление в выводе II не достигнет заданного уровня, после чего в работу включается поршень 2, который также начинает двигаться вниз, увеличивая силу, действующую на верхнюю сторону поршня 3.
При дальнейшем повышении давления в выводе II разность давления в выводах II и I уменьшается, а при достижении заданного уровня давления в выводах II и I уравнивается.
Таким образом, осуществляется следящее действие во всем диапазоне работы клапана ограничения давления Камаз.
При уменьшении давления в выводе II (оттормаживание тормозного крана) поршни 2 и 3 вместе с клапанами 4 и 6 перемещаются вверх.
Впускной клапан 4 закрывается, а выпускной клапан 6 открывается, и сжатый воздух из выводов I, то есть тормозных камер передней оси, выходит в атмосферу через вывод III.
_______________________________________________________________________________
_______________________________________________________________________________
_______________________________________________________________________________
_______________________________________________________________________________
Статьи
Материалы подготовлены Антиповым А.И., «Механика СПб»
Нарушение работоспособного состояния тормозной системы автомобиля чаще всего связывают с неисправностью компрессора. И в большинстве случаев это вполне оправдано. Замена вышедшего из строя компрессора новым или отремонтированным, как правило, позволяет восстановить исправность тормозной системы.
Вместе с тем, в ряде случаев после относительно непродолжительной работы после замены компрессора вновь возникают неисправности тормозной системы, а установленный компрессор выходит из строя. Первая реакция владельца автомобиля – компрессор плохого качества.
Но в компрессоре ли дело? Ведь компрессор является только одним, хотя и наиболее важным, компонентом тормозной системы. Надежность его работы в значительной мере зависит от технического состояния других элементов тормозной системы, а также систем двигателя (смазки, охлаждения), обеспечивающих его функционирование. Если при замене вышедшего из строя «родного» компрессора не выявлены и не устранены причины его отказа, достаточно высока вероятность того, что и установленный взамен его компрессор проработает не долго. Долговечность установленного компрессора в значительной мере зависит и от того, выдержаны ли технические условия на его установку.
Исследование характера повреждений деталей компрессоров, вышедших из строя в гарантийный период, показывает, что отказы компрессоров в большинстве случаев являются следствием либо несоблюдения правил их монтажа, либо не устранения неисправностей элементов пневмосистемы.
Наиболее распространенная причина выхода компрессора из строя в гарантийный период – нарушение теплового режима его работы, а попросту перегрев, который чаще всего вызван следующими причинами.
При значительном содержании во всасываемом воздухе взвешенных частиц масла последние, оседая на стенках впускного и, главным образом, нагнетательного канала, образуют плотные смолистые отложения (фото 1,2), которые резко ухудшают условия охлаждения головки компрессора и приводят к его перегреву.
Фото 1. Смолистые отложения в головке цилиндров
Фото 2. Смолистые отложения в корпусе клапанов (цветом выделен отколовшийся фрагмент впускного клапана)
Другой распространенной причиной перегрева компрессора является нарушение работы его системы разгрузки (фото 3, 4, 5), чаще всего, из-за неисправности регулятора давления тормозной пневмосистемы, а в ряде случаев – из-за отключения клапана разгрузки (фото 6). В результате этого компрессор постоянно находится под нагрузкой и перегревается, что на начальном этапе приводит к усилению процесса выделения влаги из сжимаемого воздуха и повышенному выбросу её в пневмосистему.
Фото 3 и 4: Отсутствие следов перемещения (показано стрелками) исполнительного механизма указывает на нарушения в работе системы разгрузки компрессора
Фото 5. Отсутствие следов перемещения (показано стрелками) исполнительного механизма указывает на нарушения в работе системы разгрузки компрессора
Фото 6. Патрубок подачи воздуха к клапану системы разгрузки заглушен
Результатом дальнейшей эксплуатации компрессора при неработающей системе разгрузки являются задиры деталей цилиндропоршневой группы (фото 7, 8), прогорание стенки рубашки охлаждения головки компрессора (фото 9), разрушение впускного клапана (фото 10, 11) сопровождающееся повреждением корпуса клапанов (фото 11) и поршней (фото 12).
Фото 7. Задиры поверхности цилиндра
Фото 8. Задиры поршня
Фото 9. Прогорание стенки рубашки охлаждения головки компрессора
Фото 10. Разрушение впускного клапана
Фото 11. Разрушение впускного клапана и повреждение корпуса клапанов (стрелкой показан фрагмент клапана, внедрившийся в корпус)
Фото 12. Повреждения головки поршня
Известны случаи отказов компрессоров (фото 13, 14), вызванные нарушением условий смазки деталей кривошипно-шатунного механизма из-за перекрытия канала подачи масла к компрессору либо вследствие использования при установке компрессора на автомобиль нештатной прокладки (фото 15, 16), либо из-за использования силиконового герметика (фото 17,18).
Фото 13. Разрушение шатуна
Фото 14. Повреждение корпуса и шатуна
Фото 15. Перекрытие канала подачи масла нештатной прокладкой
Фото 16. Канал подачи масла, перекрытый нештатной прокладкой (часть прокладки удалена)
Фото 17. Силиконовый герметик на фланце и в канале подачи масла
Фото 18. Силиконовый герметик в канале подачи масла
Приведенные выше примеры отражают наиболее часто встречающиеся случаи выхода компрессоров из строя и наглядно показывают, к чему приводит несоблюдение рекомендаций производителя по их установке и эксплуатации.
ремонт энергоаккумуляторов тормозные пневматич. системы
The Life of CoderКомпрессор КамАЗа — это источник сжатого воздуха в пневматическом приводе тормозной системы грузовых автомобилей, выпущенных Камским автомобильным заводом. Основным назначением механизма является увеличение подачи топливновоздушной смеси.
Использование механического нагнетателя позволяет увеличить производительность камеры сгорания и повысить мощность силовой установки без увеличения емкостных показателей.
Устройство и принцип работы
На КамАЗах устанавливаются агрегаты поршневого типа одно- и двухцилиндровые, редко — мембранного типа
Устройство компрессора представлено так:
- Шатун
- Поршень
- Цилиндр с проставкой
- Кольца: уплотнительные; маслосъемные; компрессионные
- Подшипники скольжения
- Картер
- Коленчатый вал
- Зубчатое колесо привода.
Механизм одноступенчатого сжатия располагается на передней части картера маховика мотора. Поршень изготовлен из алюминия и имеет плавающий палец, фиксирующийся упорными кольцами. Из впускного коллектора силовой установки в цилиндр поступает атмосферный воздух, вытесняющийся в пневматическую систему через нагнетательный клапан в оголовке цилиндра.
Жидкость подводится из охлаждающей системы двигателя и снижает нагрев головки блока. По трубопроводам к трущимся деталям поступает масло, которое смазывает способом разбрызгивания задний торец коленвала компрессора и шатунно-поршневую группу.
Как только давление пневматической системы достигает 0,8-2 МПа, срабатывает регулятор давления и останавливает подачу воздуха. При снижении показателя до 50 кПа он закрывает выход, компрессор снова нагнетает воздух в систему.
Устройство и принцип действия аналогичны автокомпрессорам легковых машин с той лишь разницей, что в грузовых КамАЗах установлена двойная защита от замыканий и перегрева.
Неисправности
В процессе эксплуатации необходимо следить за техническим состоянием механизма, смазкой и поступлением охлаждающей жидкости. Масло рекомендуют использовать только то, которое прописано в паспорте силовой установки. Запрещается смазка загрязненным маслом.
Ежедневных или специальных технических осмотров компрессор не требует, но периодически 1 раз на 8-10 тыс км проверяют привод и надежность креплений.
Во время работы могут возникать поломки деталей агрегата, их сразу же ремонтируют. Вышедшие из строя подлежат замене.
Основные неисправности компрессора грузовой машины подразделяют на 2 вида: поршневой группы; электрического оборудования.
Наиболее распространенными являются такие дефекты:
- Износ поршневой группы и нарушение герметичности клапанов. Длительность заполнения пневмосистемы при скорости вращения коленвала 2200 об/мин превышает время, установленное техническими условиями (8 минут). Компрессор не нагнетает давление в 7-7,5 кгс/см². Износ поршня приводит к всасыванию масляного тумана из картера компрессора в цилиндры
- Нагнетатель системы не запускается. Связано с отсутствием напряжения в сети, протеканием обратного клапана и неправильным запуском.
- Компрессор плохо качает и не набирает обороты. Одной из причин является засоренность фильтров
- Стучит в цилиндро-поршневом механизме. Связано с поломками в нагнетательной части в результате трения и износа металлических деталей.
- Двигатель гудит и не вращается. Такая проблема возможна вследствие срабатывания предохранителя питания электросети, защиты от перегрузки, плохого контакта
- Сильный нагрев цилиндра. Заблокирован обдув воздуха цилиндра и картера.
- Падает производительность — засоренность всасывающего воздушного фильтра.
- Усиленная вибрация
Как снять и разобрать
Для того чтобы поменять вышедшие из строя элементы, необходимо осуществить снятие и разборку компрессора:
- Поднять кабину, агрегат находится под ней.
- Отвернуть крепежные гайки, снимать оголовок вместе с нагнетательными клапанами, прокладкой, пружинами впускных элементов.
- Открутить 3 трубки соответствующим ключом
- Выкрутить шестерни привода, вздернуть агрегат в сторону передней части транспорта.
Ремонт одно- и двухцилиндровых компрессоров КамАЗ своими руками
Несложный текущий ремонт компрессора КамАЗа многие владельцы техники выполняют своими руками. В ремонтные работы входит несколько этапов, которые заключаются в следующем:
- Очищение деталей. Сгоревшую масляную жидкость внутри крышки убирают пескоструйной обработкой, выполняют шлифовку элемента, удаляют охладитель. Затем протирают и шлифуют рабочую поверхность плиты клапана
- Расточка и хонингование цилиндра. При работе учитывают параметры теплового зазора. При износе внутренней стороны цилиндра размером более 0,02 мм делают расширение для ремонтной расточки. В некоторых вариантах устанавливаются гильзы.
- Замена шатунных вкладышей коленвала и втулок на подходящие по характеристикам и параметрам
- Замена поршней, оснащенных пальцами и шатунными кольцами. Особое внимание при ремонте уделяют параметрам цилиндра.
- Замена и ремонт прокладок, клапанов впуска и выпуска, уплотнителей. Последние обязательно обтягиваются крепежами.
Техника устанавливается на специальный стенд и тестируется на работоспособность. При проверке мастер сравнивает полученные результаты с заводскими параметрами компрессора.
Если обнаружен перегрев подшипников, слышен посторонний стук поршней и клапанов или компрессор гонит масло, допустимая норма вытекающей жидкости превышает необходимые отметки, ремонтные работы возобновляют, но лучше на СТО
Как установить
После замены деталей необходимо компрессор установить обратно. Для этого следует:
- Установить шатун в тиски, запрессовать втулку и палец, смазав маслом
- Поставить кольца, снять деталь с тисков
- Прикрепить головку, прокладки седел, клапаны, пружины
- Ввинтить пробки
- Запрессовать коленвал с сальниками, установить упорные кольца
- Надеть зубчатое колесо и замковую шайбу
- На картер натянуть крышку с прокладкой, закрепить болтами
- Продуть сжатым воздухом
- Запрессовать в блок цилиндров впускные клапаны и направляющие
- Установить на блок головку агрегата, затянуть гайками
Воздухоосушитель
Назначение:
Воздухоосушитель – устройство, которое с помощью влагопоглоти-теля удаляет влагу, образующуюся при охлаждении горячего возду-ха, сжатого компрессором. Он также выполняет функцию регенера-ции влагопоглощающих свойств влагопоглотителя.
| Режим влагопоглощения | Режим регенерации |
|
Содержащий влагу и масло сжатый воздух, подаваемый компрессором, проходит через масляный фильтр, где он почти полностью очищается от капель масла, пыли и грязи, а затем поступает в патрон. Во время движения сжатого воздуха из нижней части патрона в его верхнюю часть происходит поглощение влаги |
Когда давление воздуха в системе достигает предельного значения, ограниченного регулятором, открывается спускной клапан для выпуска сжатого воздуха из патрона непосредственно в атмосферу. При резком падении давления сжатый воздух из ресивера проходит через отверстие, теряет давление и расширяется, удаляя влагу из влагопоглатителя, а затем выходит в атмосферу. Когда давление воздуха в системе достигает нижнего значения, спускной клапан закрывается и запускает режим осушения. |
Сжатый воздух содержит масло из компрессора и других устройств. Это масло оседает на поверхности влагопоглотителя и постепенно снижает влагопоглощающие свойства вещества.
| Действие и ухудшение свойств влагопоглатителя (синтетического цеолита) | ||
| Новый влагопоглатитель | Режим влагопоглащения | Режим регенерации |
| Высокоосушенный воздух | Молекулы воды | Молекулы масла |
При ухудшении характеристик влагопоглотителя в ресивере и воздушной системе скапливается вода. Ржавчина, образующаяся в воздухопроводах и т.п., может закупорить тормозной клапан и привести к утечке воздуха или отказу в работе. В холодное время года вода может замерзнуть и закупорить воздуховод, что может нарушить подачу воздуха и привести к аварии.
Проверка:
|
Влагопоглотитель полностью утратил свои свойства и не позволяет воздухоосушителю выполнять свои функции. Это становится причиной утечки воздуха или сбоев в работе. В холодное время года вода может замерзать и закупоривать воздухопроводы, вызывая снижение тормозного усилия. Это состояние очень опасно. Внутри элементов тормозной системы, например, внутри ресивера, может образовываться ржавчина. Это вызывает необходимость замены нескольких деталей, что увеличивает расходы. |
Если вода не сливается, это нормально. Однако, если сливается даже небольшое количество воды, необходимо незамедлительно обратиться на станцию технического обслуживания для проведения осмотра. Эксплуатация автомобиля с неисправной тормозной системой запрещена. |
| Такая замена требует разборки. Обратитесь в сервисную мастерскую компанию ISUZU | Для обеспечения безопасной эксплуатации рекомендуется проводить периодические замены. |
Нева — ремонт компрессоров в Санкт-Петербурге, запчасти для компрессора
Восстановление воздушных компрессоров грузовых автомобилей европейского и американского производства
С 2007 года нашим клиентам доступен новый тип услуг – восстановление воздушных компрессоров грузовых автомобилей европейского и американского производства. На очереди запуск подразделения по ремонту осушителя воздуха (2011 год).
Содержание
Наши основные преимущества
- Запчасти в наличии на большинство моделей компрессоров.
- Обменный фонд восстановленных компрессоров.
- Возможность выполнять работы включая демонтаж-монтаж компрессора с автомобиля на территории нашего предприятия.
- Наши специалисты укажут на возможные причины выхода компрессора из строя, что в дальнейшем позволит сэкономить Ваше время и деньги.
- Стендовые испытания каждого компрессора перед выдачей клиенту.
При ремонте используются только комплектующие европейского качества, как оригинальные (knorr-bremse, wabco, bendix), так и компаний-упаковщиков (majorsell, truck technic, BF), не уступающих по качеству оригинальным.
Что входит в ремонт?
Мы производим ремонт ГУРов (редукторов), насосов гидроусилителя руля, компрессоров тормозной системы для любых импортных грузовых автомобилей и автобусов.
- Ремонт агрегатов рулевого управления
Ремонт осуществляется на основе фирменных ремкомплектов. В процессе ремонта по необходимости производится восстановление валов в номинальный размер методом напыления и шлифовки на спецоборудовании ( для агрегатов рулевого управления). После ремонта агрегат проходит гидравлические испытания на стенде. На выполненные работы предоставляется гарантия 6 месяцев без ограничения пробега.
- Ремонт компрессоров тормозной системы
Наиболее часто задаваемый вопрос, поэтому приведем некоторую методику для разъяснения. Ремонт компрессора аналогичен ремонту двигателя внутреннего сгорания поршневого типа, а по своим техническим требованиям аналогичен дизелю. Для наглядности покажем эскиз двухпоршневого компрессора установленного на автомобиль DAF 95. На рисунке 1 красным цветом отображаются детали и поверхности, подвергающиеся механической обработке, а зеленым цветом – меняемые при ремонте детали.
В большинстве случаев при восстановлении компрессора выполняются следующие необходимые и достаточные действия:
- Пескоструйная обработка внутренних поверхностей крышки 1 с целью удалить отложения сгоревшего масла и охлаждающей жидкости. Притирка поверхности крышки.
- Шлифовка и последующая притирка поверхностей клапанной плиты 4, а когда плит несколько — обрабатываются все плиты. Действие необходимо вследствие переменных температурных нагрузок, что практически всегда приводит к деформации плоскости плит.
- Расточка и хонинговка поверхностей цилиндров блока 5 под следующий ремонтный размер с учетом теплового зазора. Притирка верхней плоскости блока.
- Расточка коренных и шатунных шеек коленвала 10 под следующий ремонтный размер с учетом теплового зазора.
- Замена втулок 6, 11 и шатунных вкладышей 9 коленвала 10 с учетом ремонта.
- Замена поршней 7 с кольцами и шатунными пальцами с учетом ремонтного размера цилиндров.
- Установка новых впускных и выпускных клапанов 3.
- Установка уплотнений и прокладок 2, с последующей обтяжкой крепежными болтами с требуемым моментом.
- Проверка компрессора на специальном стенде и имитацией системы смазки, системы охлаждения и сверка технических данных с заводскими показателями.
Выше приведены лишь основные виды работ для понимания методики в целом. Естественно, что при ремонте используется целый ряд необходимых сопутствующих действий для каждого отдельного компрессора, которые не имеет смысла рассматривать столь подробно.
Почему компрессоры выходят из строя ?
Компрессор является сердцем тормозной системы автомобиля, при этом использует систему смазки двигателя и нередко является частью водяной системы охлаждения двигателя. Поэтому имеется целый ряд причин прямых и косвенных ведущих к выходу из строя компрессора:
- Недостаток охлаждающей жидкости либо ее несоответствие техническим требованиям. Это приводит к перегреву компрессора и скорому выходу его из строя. То же можно сказать и о системе смазки – недостаточный уровень, либо наличие в масле взвешенных частиц могут вызвать преждевременный износ трущихся поверхностей компрессора.
- Повышенный выброс масла в воздушную систему. Каждый компрессор имеет незначительный выброс масла ввиду его конструктивных особенностей. При этом вред, наносимый остальным компонентам воздушной системы, практически отсутствует. Возрастание выброса масла является результатом механического износа цилиндропоршневой группы. Износ, в основном, является естественным процессом, однако может быть ускорен попаданием внутрь цилиндра абразивных частиц. Эти частицы попадают в компрессор либо через впускные клапана, в результате засорения воздушного фильтра или отсутствием герметичности впускного тракта, либо через масло при наличии в нем продуктов износа трущихся деталей двигателя. Известно, что нормальная температура сжатого воздуха нагнетаемого компрессором 200-250С°. При большом расходе масла в воздушную систему, оно, частично сгорая, откладывается на стенках трубопроводов, а также попадает в осушитель и другие компоненты воздушной системы. Засорение воздуховода компрессор – осушитель приводит к уменьшению его проходного диаметра и возрастанию сопротивления сжатого воздуха. Это в свою очередь подвергает компрессор перегреву, и еще большему нагреву выбрасываемого масла. Дальше понятно – ситуация с засорением многократно повторяется, что в конце концов приводит к окончательной поломке компрессора.
- Отказ, либо неправильная работа системы разгрузки компрессора. При нормальном функционировании компрессор накачивает воздух не постоянно, а подключается к воздушной системе и отключается от нее регулировочным клапаном, который поддерживает давление в системе в заданных пределах. Если он неисправен, то компрессор будет постоянно качать, пока окончательно не перегреется. В этом случае воздух стравливает один или несколько аварийных клапанов, но сам компрессор находится под постоянным давлением.
- Утечки воздуха из системы. Если таковые имеются, то регулировочный клапан будет вынужден чаще подключать компрессор к системе ввиду более быстрого снижения рабочего давления. В этом случае срок службы компрессора резко снижается, т.к. возможен опять же перегрев.
Стоит отметить, что перегрев компрессора по той или иной причине многократно усиливает процесс выделения влаги из сжимаемого воздуха. В критический момент осушитель перестает справляться, и влага попадает во все узлы системы – а это недопустимо.
ВОЗДУШНЫЙ КОМПРЕССОР ДЛЯ ПНЕВМАТИЧЕСКОЙ УСТАНОВКИ, В ЧАСТНОСТИ ДЛЯ ПНЕВМАТИЧЕСКОЙ ТОРМОЗНОЙ СИСТЕМЫ АВТОМОБИЛЯ ПРОМЫШЛЕННОГО НАЗНАЧЕНИЯ
Изобретение касается воздушного компрессора для пневматической установки, в частности для пневматической тормозной системы автомобиля промышленного назначения согласно ограничительной части п.1 формулы изобретения.
Общеизвестны воздушные компрессоры, представляющие собой приводимые в движение двигателями поршневые воздушные компрессоры для пневматических тормозных систем автомобилей промышленного назначения. Привод осуществляется здесь обычно в зависимости от частоты вращения двигателя посредством ременной передачи или зубчатой передачи.
У известных пневматических тормозных систем к воздушному компрессору подключен охлаждающий змеевик с последующим осушителем сжатого воздуха. Воздушный компрессор через воздушный фильтр всасывает окружающий воздух и после сжатия нагнетает его через охлаждающий змеевик в осушитель воздуха. При сжатии сжатый воздух нагревается, а в охлаждающем змеевике перед входом в осушитель воздуха охлаждается. При охлаждении в охлаждающем змеевике содержащаяся во всосанном окружающем воздухе вода может конденсироваться и, в частности, при холодном пуске при низких температурах окружающей среды охлаждающий змеевик может замерзать. Это может негативно влиять на функционирование пневматической тормозной системы и при известных условиях других пневмоприводных побочных потребителей, таких как, например, стояночный тормоз, привод управления сцеплением, и пр.
Задачей изобретения является, в отличие от этого, усовершенствовать воздушный компрессор такого рода так, чтобы с помощью простой и экономичной меры предотвращалось замерзание охлаждающего змеевика.
Эта задача решается с помощью признаков независимых пунктов формулы изобретения. Предпочтительные варианты осуществления являются предметом ссылающихся на них зависимых пунктов формулы изобретения.
В соответствии с изобретением после воздушного компрессора включен охладитель сжатого воздуха, имеющий корпус охладителя, через который протекает охлаждающая среда и в котором находятся первый направляющий воздух, предпочтительно трубчатый участок (15) охлаждения сжатого воздуха, представляющий собой короткий участок охлаждения сжатого воздуха и определенно более длинный по сравнению с ним, второй направляющий воздух, предпочтительно трубчатый участок (16) охлаждения сжатого воздуха, представляющий собой длинный участок охлаждения сжатого воздуха. Эти участки охлаждения в конце соединены для общего выхода сжатого воздуха.
Кроме того, с входом сжатого воздуха охладителя сжатого воздуха согласован регулируемый по температуре распределитель сжатого воздуха, который для достижения и поддержания номинальной температуры на выходе сжатого воздуха охладителя сжатого воздуха в зависимости от зарегистрированной там фактической температуры распределяет подведенный сжатый воздух на вход короткого участка охлаждения сжатого воздуха и/или на вход длинного участка охлаждения сжатого воздуха.
Регулирование/управление происходит при этом таким образом, что при холодном пуске короткий участок охлаждения сжатого воздуха открыт. Начиная с определенной температуры на выходе сжатого воздуха, длинный участок охлаждения сжатого воздуха открывается, а короткий участок охлаждения сжатого воздуха закрывается. В промежуточной области путем смешивания сжатого воздуха из короткого участка охлаждения сжатого воздуха и длинного участка охлаждения сжатого воздуха всегда достигается и поддерживается оптимальная номинальная температура на выходе сжатого воздуха охладителя сжатого воздуха.
Предпочтительно тем самым осуществляется противодействие замерзанию охлаждающего змеевика, и охлаждающий змеевик может, к тому же, иметь относительно простую конструкцию.
В одном из особенно предпочтительных вариантов осуществления вышеназванный охладитель сжатого воздуха с регулированием температуры интегрирован в головку воздушного компрессора, так что при этом не требуются никакие дополнительные внешние конструктивные элементы. Варианты охлаждающего змеевика могут этим ограничиваться. При интеграции в головку воздушного компрессора на фазе холодного пуска при активированном коротком участке охлаждения сжатого воздуха подъем температуры может происходить особенно быстро и благодаря этому надежно предотвращаться замерзание подключенного охлаждающего змеевика.
Предлагаемая изобретением система и мера пригодна, в частности, для воздушного компрессора, представляющего собой поршневой воздушный компрессор, привод которого осуществляется в зависимости от частоты вращения двигателем внутреннего сгорания через ременную передачу или зубчатую передачу.
Распределитель сжатого воздуха может представлять собой многоходовой клапан, в частности 3/2-ходовой регулирующий клапан. Альтернативно распределитель сжатого воздуха может представлять собой регулирующую заслонку в корпусе распределителя, при этом к корпусу распределителя подключены вход сжатого воздуха, а также входы короткого участка охлаждения сжатого воздуха и длинного участка охлаждения сжатого воздуха. При этом регулирующая заслонка шарнирно установлена и может переставляться так, что она соответственно закрывает один участок охлаждения, или оба участка охлаждения для надлежащего подмешивания частично открыты, при этом в участки охлаждения могут подаваться различные количества сжатого воздуха.
В одном из простых вариантов осуществления в качестве сенсорного и исполнительного элемента для регулирующего клапана или регулирующей заслонки может применяться биметаллическая система, предпочтительно интегрированная в головку воздушного компрессора. Альтернативно при внешнем расположении регулирование может реализовываться с помощью системы из сенсора фактического значения температуры на выходе сжатого воздуха, включающей в себя регулятор с заданным номинальным значением, а также включенное после этого исполнительное звено в регулирующем клапане или для регулирующей заслонки.
Кроме того, изобретение касается способа эксплуатации такого рода воздушного компрессора, а также транспортного средства, в частности автомобиля промышленного назначения, снабженного такого рода воздушным компрессором. Получающиеся при этом преимущества уже были подробно оценены выше.
С помощью чертежей один из вариантов осуществления изобретения поясняется подробнее.
Показано:
фиг. 1: схематичное изображение воздушного компрессора для пневматической тормозной системы автомобиля промышленного назначения, и
фиг. 2: сечение схематичного увеличенного изображения головки воздушного компрессора.
На фиг. 1 изображен воздушный компрессор 1, представляющий собой поршневой воздушный компрессор, привод поршня 2 которого осуществляется через зубчатую передачу 3 от (не изображенного) двигателя внутреннего сгорания автомобиля промышленного назначения, в зависимости от его частоты вращения.
Воздушный компрессор 1 всасывает окружающий воздух (стрелка 4) через воздушный фильтр 5 и (не изображенный) всасывающий клапан в цилиндр 6 воздушного компрессора. При ходе поршня при закрытом всасывающем клапане и открытом (не изображенном) выпускном клапане сжатый воздух нагнетается в головку 7 воздушного компрессора. В головке 7 воздушного компрессора интегрирован охладитель 8 сжатого воздуха, который детально изображен на фиг.2 и который через выходной трубопровод 9 сжатого воздуха соединен с охлаждающим змеевиком 10, к которому подключен (схематично изображенный штриховой линией) осушитель 11 воздуха.
Интегрированный в головке 7 воздушного компрессора охладитель 8 сжатого воздуха имеет корпус 12 охладителя, через который через вход 13 охлаждающей среды и выход 14 охлаждающей среды протекает охлаждающая среда (в целях наглядности это на фиг. 2 не показано).
В корпусе 12 охладителя здесь, в качестве примера, находятся трубчатый короткий участок 15 охлаждения сжатого воздуха и выполненный в виде змеевика, трубчатый, определенно более длинный по сравнению с ним участок 16 охлаждения сжатого воздуха, которые в месте 17 соединения в конце перед выходом из корпуса 12 охладителя соединены друг с другом. Но, в принципе, участки охлаждения, разумеется, могут быть также выполнены любым другим образом.
Вход 18 сжатого воздуха в корпусе 12 охладителя направляет сжатый воздух из цилиндра 6 воздушного компрессора и находится в регулируемом по температуре распределителе 19 сжатого воздуха.
Распределитель 19 сжатого воздуха представляет собой регулирующую заслонку 20 в корпусе 21 распределителя, которая может поворачиваться посредством (не изображенного) исполнительного звена (двойная стрелка 22).
В изображенном горизонтальном положении регулирующей заслонки 20 вход в короткий участок 15 охлаждения сжатого воздуха закрыт, а вход в длинный участок 16 охлаждения сжатого воздуха с прямым путем течения к входу 18 сжатого воздуха открыт.
В другом вертикальном (изображенном штриховой линией) крайнем положении регулирующей заслонки 20, напротив, короткий участок 15 охлаждения сжатого воздуха с прямым путем течения к входу 18 сжатого воздуха открыт, а длинный участок 16 охлаждения сжатого воздуха закрыт. В промежуточных положениях регулирующей заслонки 20 происходит регулируемое распределение сжатого воздуха по двум участкам 15, 16 охлаждения сжатого воздуха.
Для этого сенсором 23 фактического значения температуры измеряется температура в выходном трубопроводе 9 сжатого воздуха и передается на регулятор 24, в котором задана номинальная температура. Выход регулятора 24 соединен с исполнительным звеном регулирующей заслонки 20. Регулирование или, соответственно, настройка регулирующей заслонки 20 происходит таким образом, что в холодном состоянии (холодный пуск) регулирующая заслонка 20 закрывает длинный участок 16 охлаждения сжатого воздуха (состояние, изображенное штриховой линией). В этом состоянии трубопровод к осушителю 11 воздуха (охлаждающий змеевик 10) быстро нагревается и замерзание предотвращается.
Начиная с определенной зарегистрированной фактической температуры в выходном трубопроводе 9 сжатого воздуха на головке 7 воздушного компрессора, регулирующая заслонка 20 открывает длинный участок 16 охлаждения сжатого воздуха и закрывает одновременно короткий участок 15 охлаждения сжатого воздуха (горизонтальное положение регулирующей заслонки 20). Путем перемешивания сжатого воздуха из короткого участка 15 охлаждения сжатого воздуха и длинного участка 16 охлаждения сжатого воздуха с помощью переставленной в промежуточные положения регулирующей заслонки 20 всегда достигается оптимальная номинальная температура на выходе 9 сжатого воздуха компрессорной головки 7. Регулирующая заслонка 20 при этом выполнена и настроена так, что всегда один из двух участков 15, 16 охлаждения открыт, а один закрыт или оба участка 15, 16 охлаждения частично открыты.
Вместо изображенного в качестве примера внешнего регулирования с помощью внешнего регулятора 24 может также осуществляться регулирование регулирующей заслонки с помощью биметаллической системы, предпочтительно находящейся в головке 7 воздушного компрессора.
Список ссылочных позиций
1 Воздушный компрессор
2 Поршень
3 Зубчатая передача
4 Стрелка (окружающий воздух)
5 Воздушный фильтр
6 Цилиндр воздушного компрессора
7 Головка воздушного компрессора
8 Охладитель сжатого воздуха
9 Выходной трубопровод сжатого воздуха
10 Охлаждающий змеевик
11 Осушитель воздуха
12 Корпус охладителя
13 Вход охлаждающей среды
14 Выход охлаждающей среды
15 Короткий участок охлаждения сжатого воздуха
16 Длинный участок охлаждения сжатого воздуха
17 Место соединения
18 Вход сжатого воздуха
19 Распределитель сжатого воздуха
20 Регулирующая заслонка
21 Корпус распределителя
22 Двойная стрелка
23 Сенсор фактического значения температуры
24 Регулятор
Тест компрессора и наращивания | CDL Пневматические тормоза
Для экзамена на пневматические тормоза; вы должны знать, как проверить компрессор.
Пневматические тормоза | Компрессор
https://youtu.be/fDih4lhyBcU
Единственная разница между компрессором на автомобиле с пневматическим тормозом и компрессором, который вы найдете в гараже или магазине, заключается в том, что компрессор в автомобиле с пневматическим тормозом работает все время, пока работает двигатель.
И мы используем регулятор для управления компрессором на автомобиле с пневматическим тормозом.
| PASS Пневматические тормоза CDL Впервые — пройдите этот комплексный курс! | |
Курс для водителей грузовиков, автобусов и жилых автофургонов, управляющих транспортным средством с пневматическими тормозами. Этот курс для самостоятельного изучения дает вам:
|
Сегодня мы поговорим о компрессоре на автомобиле с пневматическим тормозом.
В наши дни все компрессоры на автомобилях, оборудованных пневматическими тормозами, прикручены болтами справа к двигателю — они приводятся в действие шестеренками.
Теперь во всех руководствах будет сказано, что некоторые из них ременные.
Они не приводились в движение с помощью ремня с семидесятых годов — почти 45 лет; однако, если они имеют ременной привод и вам необходимо проверить ремень в рамках предполетной проверки вашего устройства; На полпути между двумя шкивами надавите на ремень.
Если он выходит за пределы своей ширины, вероятно, ремень необходимо отрегулировать и подтянуть.
Так вы проверяете натяжение ремней.
И в том редком случае, когда компрессор может иметь ременной привод.
Компрессоры в пневматических тормозных системах действительно паразитируют.
Они забирают мощность от двигателя для работы.
Они используют систему смазки двигателя для смазки и охлаждения.
Кроме того, они используют систему впуска двигателя, чтобы фильтровать воздух в систему и сжимать его в воздушную тормозную систему — воздушные баллоны и тому подобное.
В некоторых редких случаях для охлаждения компрессора используют также систему охлаждения двигателя.
Однако в большинстве случаев они просто охлаждаются воздухом.
На стороне компрессора есть только ребра, и они охлаждаются.
Таким образом, воздушный компрессор на автомобиле с пневматическим тормозом действительно паразитирует.
Он использует все, начиная с движка, чтобы делать то, что ему нужно.
Внутренняя работа воздушного компрессора на автомобиле с пневматическим тормозом очень похожа на двигатель внутреннего сгорания.
Внутри компрессора есть поршень на коленчатом валу.
Коленчатый вал вращается за счет мощности двигателя.
Поршень опускается, создается разрежение.
Впускной клапан открывается и всасывает воздух.
Это очень похоже на поршень в шприце: вы опускаете его, он создает вакуум и всасывает жидкость в иглу.
Воздушный компрессор делает то же самое.
Поршень опускается, создает разрежение и всасывает воздух в камеру поршня, впускной клапан закрывается, выпускное отверстие открывается, поршень возвращается вверх на такте сжатия и вталкивает воздух в систему.
Это так просто.
Мы сжимаем основной воздух — принцип науки — когда вы увеличиваете давление, вы повышаете температуру — воздух, выходящий из воздушного компрессора, имеет температуру 200 ° C или приблизительно 400 ° F.
В старых пневматических тормозных системах воздух подается во влажный резервуар, где он охлаждается.
Холодный воздух не удерживает столько жидкости, как горячий воздух, поэтому вода внутри воздуха охлаждается и сжижается и собирается на дне влажного резервуара.
Таким образом, у нас есть слив в баке, и любой вопрос по любой пневматической тормозной системе скажет, как часто вы сливаете баки?
Ежедневно, каждый день, потому что горячий воздух охлаждается, жидкость конденсируется во влажном резервуаре, и резервуар необходимо опорожнить.
В более новых системах — системах ADIS — в которых нет резервуара для жидкости.
ADIS — интегрированная система осушителя воздуха.
Это просто осушитель воздуха, и осушитель воздуха действительно хорош для удаления этой жидкости и любого другого осадка, который может образоваться компрессором и прочим.
Компрессоры, как я уже упоминал, имеют внутренний поршень, в зависимости от размера поршня и требований пневматической тормозной системы они могут быть от одного до четырех цилиндров.
Имейте в виду, что в этих более крупных транспортных средствах — автобусах, грузовиках и тому подобном — воздух из воздушного компрессора используется не только для пневматических тормозов.
Он также использует его для пневматической подвески, пневматической кабины, сидений с пневматической подвеской, воздушных замков и прочего.
Раньше у нас были дворники с воздухом, но инженеры вроде как прислушивались к водителям грузовиков, потому что прямо сейчас я вам скажу, я сидел в нескольких грузовиках с дворниками с воздухом.
Нет ничего хуже через восемь часов.
Они никогда не работали очень хорошо! Итак, мы перешли на электрические дворники.
Они больше не воздух.
Другая часть, которую вам необходимо выполнить в рамках предрейсового осмотра и предполетного осмотра пневматического тормоза, — это провести испытание на нарастание — испытание компрессора.
Тест компрессора в большинстве провинций Канады составляет от пятидесяти фунтов на квадратный дюйм до 90 фунтов на квадратный дюйм на высоких холостых оборотах в течение трех минут.
Пара провинций — Ньюфаундленд и Нунавут — в пяти минутах.
от 50 до 90 фунтов на квадратный дюйм в течение трех минут.
УQuebec его нет — нет теста компрессора, что странно.
И Онтарио составляет от 85 фунтов на квадратный дюйм до 100 фунтов на квадратный дюйм при высоком холостом ходу в течение двух минут.
Я помещу ссылку в поле для комментариев здесь, чтобы узнать о различных требованиях к тесту компрессора для разных провинций Канады.
В Соединенных Штатах, просто знайте, что вам нужно сделать тест компрессора.
Найдите любое состояние в справочнике CDL — очень легко узнать, что это за тест компрессора.
В заключение компрессор … прикручен болтами прямо сбоку от двигателя.
Он работает все время, пока работает двигатель.
Губернатор управляет компрессором, а я скорее поставлю сюда карту для видео по регулятору.
Регулятор управляет компрессором: переводит его в «фазу нагрузки», «фазу разгрузки»; «отключение» или «отключение» в Онтарио и других юрисдикциях.
Компрессор действительно паразитный.
Он получает мощность от двигателя, использует систему смазки двигателя, воздухозаборник и, в некоторых случаях, систему воздушного охлаждения.
Так же и система смазки.
И ребра снаружи — большинство из них с воздушным охлаждением.
Внутреннее устройство компрессора очень похоже на двигатель внутреннего сгорания.
Такт впуска и такт сжатия.
Он всасывает воздух, сжимает его и выталкивает во влажный резервуар или во вторичный и основной резервуары в системе ADIS — интегрированной системе осушителя воздуха.
Все водители коммерческих автомобилей в рамках проверки лицензии, как части обеспечения безопасной эксплуатации транспортного средства, должны пройти проверку компрессора.
Тест компрессора — это установленный промежуток времени, он должен создать заданный объем воздуха — обычно от 50 до 90 фунтов на квадратный дюйм в большинстве провинций в течение трех минут на высоких холостых оборотах.
ПРАКТИКА ИСПЫТАНИЯ ВОЗДУШНОГО ТОРМОЗА ДОСТУПНЫ ЗДЕСЬ
Обзор инструмента: Поршневой компрессор тормозного суппорта Lisle | 2016-06-14
Как мы все знаем, замена колодок на любом тормозном суппорте включает сжатие поршня (поршней), чтобы освободить место для новых колодок. По мере износа колодок толщина фрикционного материала уменьшается.По мере того, как колодки становятся тоньше, поршень (-ы) продолжают выходить из своих отверстий.
Когда заказчик, наконец, приходит для замены колодок (обычно из-за того, что тормоза становятся шумными, так как многие ждут, пока опорные пластины не начнут царапать роторы), неисправный поршень протолкнулся достаточно далеко от отверстия, что необходимо полностью отодвинуть назад, чтобы получить достаточно места для установки новых колодок с достаточным зазором, чтобы суппорт надеть на ротор.
Хотя технические специалисты нередко возвращают поршень в исходное положение с помощью пары больших плоскогубцев с каналом, такой подход неуклюж и может легко повредить внешнюю поверхность поршня.
Отдельная проблема возникает при работе с поршнями суппорта ввинчиваемого типа (обычно встречающимися на многих задних суппортах), где поршень должен вращаться (по часовой стрелке или против часовой стрелки в зависимости от конструкции), чтобы переместить поршень обратно в отверстие.
Для того, чтобы использовать один инструмент для устранения вдавливаемых или вращающихся поршней, компания Lisle Corp. недавно представила свой новый комплект комбинированного дискового тормоза, номер по каталогу 29350, который упрощает работу, избегая при этом потенциального повреждения поршня.Это избавляет от необходимости брать другой специальный инструмент при работе с конструкциями с вращающимся поршнем.
Набор инструментов состоит из ручного компрессора с фиксированной пластиной, которая входит в зацепление с внешней полостью корпуса суппорта. При нажатии на рычаг шток гидроцилиндра выдвигается, оказывая давление на поршень. В комплект входит набор из трех адаптеров, причем соответствующий адаптер подключается к концу стержня через простой квадратный хвостовик 3/8 дюйма.
Когда работа требует толкания поршня, не требующего вращения поршня, на плунжер надевается плоский переходник без штифтов.Вставьте старую подушку напротив поршня так, чтобы плоский адаптер соприкасался со старой подушкой. Просто сожмите рукоятку рычага инструмента, выполняя последовательные движения, чтобы протолкнуть поршень в отверстие. Инструмент работает легко и плавно для контролируемого втягивания поршня.
Если вы имеете дело с поршнем, который требует вращения, выберите соответствующий адаптер с двумя штифтами с наружной резьбой (для зацепления с пазами под штифт поршня).
Сожмите рычаг до полного контакта, затем, удерживая инструмент одной рукой, используйте торцевой ключ на 9/16 дюйма и трещотку, чтобы повернуть поршень.В комплект входят два переходника для штифтов, со штырями с каждой стороны. Адаптер 1A / 1B имеет узкие контакты размером 1-1 / 2 дюйма для таких приложений, как большинство моделей Honda, Mazdas, Dodge Conquest, Mitsubishi Starions и GM на стороне адаптера 1A; и пальцы шириной 1-1 / 2 дюйма для большинства Фордов, Тойот и Фиеро. Адаптер 2A / 2B оснащен контактами 1-5 / 8 дюймов, а сторона 2A закрывает большинство Nissan / Datsuns и Subaru; и сторона 2B предназначена для Mazda 3 и некоторых приложений Jaguar.
После того, как поршень переместится на дно отверстия, уберите пальцы с храпового рычага передней рукоятки.Возьмитесь только за заднюю неподвижную рукоятку и нажмите большим пальцем на черный стальной удерживающий рычаг и потяните шток гидроцилиндра назад, чтобы втянуть гидроцилиндр.
Хотя этот инструмент мог быть специально разработан для работы с однопоршневыми суппортами, Lisle также предлагает поршневые инструменты для многопоршневых суппортов.
Мы опробовали инструмент на нескольких суппортах, без каких-либо сбоев. Поршневой компрессор работает точно так, как должен, плавно и быстро, что значительно упрощает работу.Прочный пластиковый чемодан для хранения аккуратно подогнан под инструмент и все три адаптера. ■
Lisle Corp.
а / я 89
Clarinda, IA 51632
(712) 542-5101
www.lislecorp.com
Пневматический тормозной компрессор — Запасные части для OEM и вторичного рынка
Пневматический тормозной компрессор является частью пневматических тормозных систем, которые в основном используются в автобусах и грузовиках. Основная функция компрессора заключается в подаче сжатого воздуха в воздушные резервуары до его использования в пневматической тормозной системе.Пневматическая тормозная система использует сжатый воздух для создания давления, необходимого для нажатия на тормозную колодку. Компрессор всасывает воздух из атмосферы и проталкивает его в воздушные резервуары под высоким давлением около 120 фунтов на квадратный дюйм. Он приводится в движение либо двигателем через коленчатый вал через шкив-ремень, либо напрямую от зубчатых колес. Компрессор охлаждается охлаждающим механизмом двигателя или имеет воздушное охлаждение.
Воздух под давлением, поступающий в воздушные резервуары, регулируется регулятором воздушного компрессора, который останавливает работу компрессора, когда давление достигает уровня отключения (120-125 фунтов на кв. Дюйм).Когда давление падает до уровня включения (100 фунтов на кв. Дюйм), регулятор снова заставляет компрессор работать. Между компрессором и первым резервуаром установлен предохранительный клапан для защиты системы от избыточного давления; он настроен на открытие при 150 фунтах на квадратный дюйм. Неисправный компрессор приведет к потере давления воздуха в тормозной системе, что приведет к отказу тормозной системы. Когда давление падает до низкого уровня, срабатывает предупреждающий зуммер или механический рычаг «парика» падает в поле зрения водителя.
Неисправный компрессор также может вызвать смешивание масла и других загрязнений с воздухом, поступающим в систему. Громкий лязгающий звук может указывать на неисправность ведущей шестерни или шкива компрессора. Поскольку он обычно приводится в движение двигателем, неисправный компрессор воздушного тормоза может в конечном итоге также повредить ваш двигатель. Если ваш компрессор воздушного тормоза поврежден, вы должны заменить его как можно скорее. В Buy Auto Parts есть широкий выбор компрессоров с воздушным тормозом для каждой марки и модели автомобиля.
У нас есть оригинальные запчасти OEM и запасные части премиум-класса. Все наши автозапчасти проходят тщательную проверку и имеют гарантию. Чтобы просмотреть детали, которые подходят вашему автомобилю, выберите подходящий год, марку и модель вашего автомобиля в нашем онлайн-каталоге. В Buy Auto Parts вы найдете высококачественные компрессоры с воздушным тормозом по непревзойденным ценам и с бесплатной доставкой . Если у вас есть какие-либо вопросы о наших автомобильных запчастях, позвоните в нашу бесплатную службу поддержки 1-888-907-7225 или напишите нам по адресу [электронная почта защищена].
Компрессорные насосы для вспомогательных тормозных систем | OEM производители воздушных насосов
Назад ко всем областям применения насосовКомпрессорные насосы для вспомогательного торможения
ИЛИ
Для работы усилителя торможения требуются надежные насосы пневмокомпрессора. Насосы для воздушных компрессоров TruNorth Components обеспечивают давление воздуха до 100 фунтов на квадратный дюйм, объем воздуха до 1 куб. Футов в минуту и вакуумное давление до 27 дюймов рт. Ст. Для вспомогательных тормозных систем. Эффективность вспомогательного торможения в значительной степени зависит от пневматических воздушных насосов, способных обеспечивать постоянный поток воздуха под давлением.
Что такое система помощи при торможении?
Система экстренного торможения (BAS) — это автомобильная технология, помогающая вашему автомобилю останавливаться в аварийных ситуациях. Ассистент торможения работает совместно с ABS, чтобы помочь автомобилям избежать столкновений, которые можно предотвратить. Ассистент торможения со временем учится на привычках водителя, поэтому, когда вы нажимаете на тормоз в аварийной ситуации, ассистент торможения знает, что вы не замедляетесь, чтобы остановиться на красный свет, и сообщает вашим тормозам немедленно задействовать максимальную мощность. Более короткий тормозной путь означает меньшее количество аварий, поэтому помощь при торможении становится простой задачей для любого автомобиля.
Ассистент торможения и антиблокировочная тормозная система
Ассистент торможения изначально считался ненужным дополнением к автомобилям — ненужными расходами для производителя и потребителя. Аргумент звучал примерно так: «В автомобилях уже есть антиблокировочная тормозная система (ABS), так зачем им эта дополнительная функция?» Когда Mercedes-Benz представил его в середине 90-х, тесты показали, что система экстренного торможения сократила тормозной путь на 45%. Даже опытные водители обнаружили, что их тормозной путь уменьшился на 10%. Ассистент торможения — действительно спасательная технология.
Надежный производитель воздушных насосов OEM
TruNorth Components превыше всего ценит удовлетворение потребностей клиентов в производстве насосов для воздушных компрессоров. Сюда входит производство пневматических насосов для важнейших автомобильных технологий, таких как тормозной ассистент. Если вам нужны вакуумные насосы, изготовленные по индивидуальному заказу, наши инженеры по воздушным компрессорам выполнят любые требования и каждый раз предоставят превосходный продукт. Ассистент торможения жизненно важен в автомобильном мире, и TruNorth не менее важен в производстве насосов для воздушных компрессоров.
Свяжитесь с инженерами пневматических компрессорных насосов компании TruNorth Components по всем вопросам, связанным с вспомогательными тормозами и приложениями.
Федеральных стандартов безопасности автотранспортных средств № 121; Пневматические тормозные системы
Начать преамбулуНациональная администрация безопасности дорожного движения (НАБДД), DOT.
Отклонение ходатайства о нормотворчестве.
Настоящее Уведомление отклоняет ходатайство г-на Уэйна Уолча из TP Trucking, в котором заявитель просил внести три изменения в Федеральный стандарт безопасности транспортных средств (FMVSS) № 121, Пневматические тормозные системы , касающиеся работы воздушного компрессора и низкого давления воздуха. система оповещения. После рассмотрения петиции и доступных реальных данных агентство решило полностью отклонить ее, поскольку одно из предложенных изменений уже внесено в стандарт, второе не приведет к какой-либо измеримой выгоде для безопасности, а третье было среди прочих. другие вещи, не описанные достаточно подробно, чтобы агентство могло оценить свою функцию или цель.
Начать дополнительную информациюПо неюридическим вопросам вы можете обращаться к г-ну Джеффу Вудсу, Управление стандартов предотвращения аварий, NHTSA, 1200 New Jersey Avenue, SE., Вашингтон, округ Колумбия 20590 (телефон: 202-366-6206) (факс: 202-366) -7002). По юридическим вопросам вы можете обращаться к г-ну Ари Скотту, Офис главного юрисконсульта, NHTSA, 1200 New Jersey Avenue, SE., Вашингтон, округ Колумбия 20590 ( Телефон: 202-366-2992) ( Факс: 202- 366-3820).
Конец Дополнительная информация Конец преамбулы Начать дополнительную информациюСодержание
И.Справочная информация
II. Общее описание пневматических тормозных систем и требований FMVSS № 121
III. Функция предупреждения о низком давлении воздуха и манометры в нормальных и аварийных условиях торможения
IV. Данные реального мира
V. Анализ агентства и решение
VI. Вывод
Начать печатную страницу 12355I. Справочная информация
В агентство поступило ходатайство о нормотворчестве от 20 октября 2006 г.Уэйн Уолч из компании TP Trucking, расположенной в Игл-Пойнт, штат Орегон. Заявитель предложил три улучшения, связанных с работой воздушного компрессора и системой предупреждения о низком давлении воздуха, которые, по его мнению, сделают пневматические тормозные системы более безопасными, и просил, чтобы Федеральный стандарт безопасности транспортных средств (FMVSS) № 121, Пневматические тормозные системы , был принят. соответственно изменился. Эти предложения включают:
- Предупреждающее устройство, которое срабатывает, когда воздушный компрессор начинает новый цикл.
- Предупреждающее устройство, которое сработает, если воздушный компрессор превысит заданное время для достижения давления отключения.
- Предупреждающее устройство, которое срабатывает непосредственно перед началом цикла воздушного компрессора.
В своей петиции г-н Уолч описывает типичную работу системы предупреждения о низком давлении, в которой звуковой предупреждающий сигнал активируется, когда давление в резервуаре составляет 55 фунтов на квадратный дюйм (psi) или ниже, или половина компрессора. давление отключения регулятора, в зависимости от того, что меньше.Заявитель заявляет, что, по его мнению, эта система не является надежной, поскольку она не обеспечивает индикации постоянной потери воздуха или постоянной работы компрессора, что может привести к опасной ситуации.
Обсуждая существо петиции, заявитель описывает несколько сценариев, в которых будут действовать рекомендованные системы. Во-первых, заявитель описывает сценарий, при котором в системе возникает утечка воздуха, а компрессор продолжает работать непрерывно. Когда водитель нажимает на тормоза, компрессор не может поддерживать необходимое давление, и водитель теряет тормоза.Если грузовик едет с холма, водитель может попасть в серьезную аварию. Заявитель утверждает, что даже если срабатывают стояночные тормоза с пружинным приводом, они не обладают тормозной эффективностью, как обычные рабочие тормоза. Заявитель также заявляет, что если стояночные тормоза активируются из-за этого условия, транспортное средство может остановиться в небезопасной зоне, и что большинство водителей не будут знать, как отпустить пружинные стояночные тормоза. Таким образом, петиция требует трех вышеуказанных изменений в FMVSS No.121, чтобы сделать пневматические тормоза более безопасными. Они следующие:
1. Информирует водителя о включении воздушного компрессора. Таким образом, если водитель знает, что воздушный компрессор работает, но тормоза не используются, водитель будет предупрежден об утечке в воздушной системе.
2. Установите время на новых автомобилях для воздушного компрессора для повышения давления в системе от давления включения до давления выключения. Если системе требуется слишком много времени для создания давления, водителю необходимо отобразить предупреждение.
3. Требуется устройство предупреждения о низком давлении воздуха, которое активируется непосредственно перед запуском цикла воздушного компрессора. Пункты 1 и 2 выше предотвратят это.
II. Общее описание пневматических тормозных систем и требований FMVSS № 121
Работа пневматической тормозной системы зависит от сжатого воздуха, хранящегося в резервуарах (резервуарах), установленных на транспортном средстве (грузовике, автобусе или прицепе). Благодаря хранению сжатого воздуха в резервуарах, воздух становится доступным для быстрого торможения.Когда водитель задействует рабочие тормоза, сжатый воздух течет из резервуаров в камеры рабочего тормоза, которые приводят в действие тормозной механизм на каждом колесе. Воздух в резервуарах пополняется воздушным компрессором на двигателе грузовика или автобуса, который управляется регулятором, который включает воздушный компрессор (давление включения), а затем выключает воздушный компрессор после того, как резервуары полностью заправлены. (давление отключения). Прицепы также оснащены резервуарами, в которые воздух поступает от тягача, которым обычно является грузовой автомобиль или тягач.В случае автопоезда с несколькими прицепами трактор подает воздух ко всем прицепам в составе.
Когда водитель нажимает на педаль тормоза, воздух течет из резервуаров в камеры рабочего тормоза с давлением, соответствующим положению педали тормоза (педального клапана). Следовательно, легкое торможение обычно приводит к сжатому воздуху от 10 до 20 фунтов на квадратный дюйм в тормозных камерах, а жесткое торможение обычно приводит к давлению в тормозных камерах 40 фунтов на квадратный дюйм или выше.Поскольку тормозные камеры заполнены сжатым воздухом, забираемым из резервуаров, и при отпускании рабочих тормозов воздух выпускается в атмосферу, давление воздуха в резервуарах немного снижается при каждом нажатии на тормоза. Когда давление в резервуаре падает до давления включения, регулятор активирует воздушный компрессор, чтобы восстановить давление в системе до давления отключения.
Процесс активации воздушного компрессора при давлении включения резервуара, а затем повышение давления до давления отключения резервуара, известен как циклическое переключение компрессора, и время между циклами может сильно различаться в зависимости от типа транспортного средства и типа вождения.Наиболее частая смена компрессора происходит при остановках и остановках, например, в транзитных автобусах и мусоровозах, тогда как наименее частое срабатывание компрессора обычно происходит на автопоезде с тягачом и прицепом, которое эксплуатируется на скоростях шоссе с нечастым нажатием на педаль тормоза.
Рабочая тормозная система на транспортных средствах с пневматическим тормозом обычно делится на первичную и вторичную пневматическую систему. Основная система обычно управляет тормозами на ведущей оси (осях), а вторичная система управляет тормозами на управляемой оси.Обе системы имеют собственные резервуары, которые обычно питаются от резервуара подачи, в который воздух поступает непосредственно из воздушного компрессора. Резервуары первичного и вторичного воздуха оборудованы запорными клапанами для изоляции, так что потеря давления в одной системе не вызывает потери давления в другой системе. В случае, если одна система теряет давление, оставшаяся система по-прежнему обеспечивает возможность экстренного торможения транспортного средства, а также продолжает работать с рабочими тормозами прицепа и удерживает стояночные тормоза в отпущенном положении.Большинство стояночных тормозов на тяжелых транспортных средствах имеют конструкцию пружинных тормозов, которые требуют соответствующего давления воздуха в тормозной системе для их отпускания и перемещения транспортного средства.
FMVSS № 121 содержит несколько требований, касающихся резервуаров и систем воздушного компрессора на грузовиках, автобусах и прицепах. Минимальный размер резервуаров указан в стандарте FMVSS № 121, чтобы имелся достаточный запас воздуха для многократного торможения без чрезмерной потери давления воздуха в системе.Для грузовиков и автобусов S5.1.2.1 требует, чтобы общий объем резервуара (объединенный объем первичного, дополнительного и запасного резервуаров) как минимум в 12 раз превышал общий объем всех рабочих тормозных камер на транспортном средстве. Небольшие исключения предусмотрены в Таблица V — Номинальные объемы тормозной камеры , так что производители транспортных средств могут устанавливать длинноходовые тормозные камеры вместо тормозных камер со стандартным ходом, не увеличивая размер резервуаров. Для прицепов S5.2.1.1 требует, чтобы прицепы имели емкость резервуара, которая, по крайней мере, в восемь раз превышала общий объем тормозных камер, и снова в Таблице V предусмотрено исключение для использования длинноходных тормозных камер.
S5.1.1 Воздушный компрессор требует, чтобы воздушный компрессор обладал достаточной производительностью для повышения давления в резервуарах с 85 до 100 фунтов на квадратный дюйм за время в секундах, выраженное уравнением: [Фактическая емкость резервуара × Начало печатной страницы 1235625 ] ÷ [требуемая емкость резервуара], при максимальном рекомендуемом двигателе r.вечера. Таким образом, если у грузовика были воздушные резервуары минимального размера, компрессор должен иметь возможность достигать 100 фунтов на квадратный дюйм от 85 фунтов на квадратный дюйм в течение 25 секунд, когда двигатель работает на максимальной рекомендуемой номинальной скорости. S5.1.1.1 Давление включения воздушного компрессора требует, чтобы давление включения регулятора составляло не менее 85 фунтов на квадратный дюйм для автобуса и не менее 100 фунтов на квадратный дюйм для грузовика.
S5.1.4 Манометр требует наличия манометра, видимого водителю для каждой рабочей тормозной системы. В типичной раздельной пневматической тормозной системе есть две независимые воздушные подсистемы (первичная и вторичная), каждая из которых имеет резервуар или ряд резервуаров.Манометр давления воздуха имеет два индикатора давления (указатели) — один для первичной системы и один для вторичной системы, или два отдельных манометра могут использоваться с одним манометром для каждой системы.
S5.1.5 Предупреждающий сигнал требует подачи предупреждающего сигнала о низком давлении воздуха, который либо виден водителю, либо, если он не находится непосредственно перед водителем, является видимым и слышимым. Предупреждающий сигнал должен активироваться, когда давление в любой системе резервуара ниже 60 фунтов на квадратный дюйм и зажигание автомобиля находится в положении «включено».
III. Функция предупреждения о низком давлении воздуха и манометры в нормальных и аварийных условиях торможения
Во время нормального движения системы резервуаров автоматически перезаряжаются воздушным компрессором, и водитель может следить за манометрами давления воздуха, чтобы убедиться, что давление воздуха в резервуарах находится между пределами давления включения и отключения. Большинство водителей транспортных средств с пневматическим тормозом знают о функции предупреждающего сигнала о низком давлении воздуха и датчиков давления воздуха на тяжелых транспортных средствах.Подавляющее большинство водителей транспортных средств с пневматическим тормозом имеют водительские права (CDL). Чтобы получить CDL с разрешением на управление транспортными средствами с пневматическими тормозами, водители должны продемонстрировать, что они обладают знаниями и навыками для управления транспортным средством, оснащенным пневматическими тормозами. После запуска двигателя пневматическая тормозная система создает давление в первичной и вторичной системах, как показывают манометры, а предупреждение о низком давлении выключается, указывая на нормальную работу системы.Однако минимальное давление для активации системы предупреждения о низком давлении воздуха, требуемое в FMVSS № 121, составляет «ниже 60 фунтов на квадратный дюйм», что немного выше, чем заявлено подателем петиции (55 фунтов на квадратный дюйм, или половина давления отключения регулятора компрессора. , в зависимости от того, что меньше). Заявитель сослался на Североамериканские стандартные критерии прекращения эксплуатации устройства предупреждения о низком давлении, опубликованные Альянсом по безопасности коммерческих транспортных средств, и эти значения давления воздуха немного ниже, чем требуется согласно FMVSS No.121, что относится к производителям новых автомобилей. Чтобы обеспечить соответствие требованию «ниже 60 фунтов на квадратный дюйм» в FMVSS № 121, фактическое предупреждение о низком давлении обычно активируется при измерении на транспортных средствах чуть выше 60 фунтов на квадратный дюйм.
Существует несколько распространенных типов отказов тормозной системы, которые могут вызвать активацию сигнала предупреждения о низком давлении. Во-первых, небольшие утечки в системе часто можно преодолеть за счет способности воздушного компрессора повторно подавать воздух в тормозную систему.Однако это обсуждение сосредоточено на существенных утечках и отказах, которые воздушный компрессор не может преодолеть, а также на отказах самого воздушного компрессора.
Существенная утечка в тормозном шланге, питающем камеру рабочего тормоза, или в камере рабочего тормоза (например, из-за неисправной диафрагмы) приведет к утечке при каждом нажатии на педаль тормоза. Если утечка достаточно велика и педаль тормоза нажата в течение длительного времени, давление в первичном или вторичном резервуаре может стать достаточно низким, чтобы активировать предупреждающий сигнал, который требуется для активации, когда давление воздуха в системе сервисного резервуара. ниже 60 фунтов на квадратный дюйм.Однако оставшаяся рабочая тормозная система (вторичная или основная) останется нетронутой и обеспечит возможность экстренного торможения, а стояночные тормоза будут по-прежнему отключены. Водитель сможет определить по показаниям манометров скорость потери давления и определить, была ли потеря в первичной или вторичной системе.
Отказы или утечки также могут возникать в части системы подачи воздуха, включая регулятор, воздушный компрессор, выпускной шланг компрессора и осушитель воздуха, расположенный между воздушным компрессором и резервуарами для обслуживания.Независимо от того, не включается ли компрессор или его нагнетаемый воздух сбрасывается в атмосферу из-за неисправности шланга после компрессора, результатом является то, что, когда привод истощает воздух в обеих системах резервуаров во время применения рабочих тормозов, давление в первичной и вторичной системах продолжает падать, пока не сработает система предупреждения о низком давлении. Как правило, первичная система сначала активирует предупреждающий сигнал о низком давлении, тогда как вторичная система будет иметь более высокое давление.В этот момент автомобиль находится в режиме экстренного торможения, и водитель может съехать с проезжей части. Если по какой-то причине тормоза применялись неоднократно, давление как в первичной, так и в вторичной системах уменьшалось бы еще больше, и пружинные тормоза в конечном итоге включались автоматически, что также приводило бы к остановке транспортного средства. Водители грузовиков с CDL обычно осведомлены об этих аспектах отказов пневматической тормозной системы, а также о важности и значении сигналов предупреждения о низком давлении.
IV. Данные реального мира
Заявитель приводит два сценария аварий грузовиков, которые, по его словам, связаны с неадекватностью необходимой в настоящее время системы предупреждения о низком давлении воздуха. Первый — это неуправляемые грузовики на понижении, которые, по утверждению петиционера, вызваны утечками воздуха. Заявитель не представил данных, подтверждающих этот вывод. Точно так же агентство не знает, что это распространенный аварийный режим. Наш опыт показывает, что аварии самосвала с выездом из-под контроля чаще всего происходят из-за выгорания тормозов из-за перегрева и / или выхода из строя барабанных тормозов с S-образным кулачком, что приводит к потере эффективности торможения, часто усугубляемой чрезмерной скоростью при спуске.У нас нет указаний на то, что аварии грузовиков были вызваны утечками воздуха или неадекватными системами предупреждения о низком давлении.
Другой сценарий аварии, представленный петиционером, заключался в остановке грузовика в небезопасной зоне из-за утечки воздуха, которая вызвала срабатывание стояночных тормозов, и большинство водителей не знали, как двигать транспортное средство. Хотя это правда, что это может случиться, у агентства нет признаков широко распространенных проблем с грузовиками, застрявшими на проезжей части или в небезопасных зонах из-за потери давления воздуха в тормозной системе и попадания в аварии.Заявитель также не представил таких данных. Кроме того, как мы ранее заявляли, текущая система предупреждения о низком давлении уже предупреждает водителя о значительной потере давления воздуха, и тормозная система грузовика может работать в режиме экстренного торможения. Таким образом, водитель может несколько раз нажать на педаль тормоза, чтобы безопасно остановить грузовик на съезде с полосы движения.
V. Анализ и решение агентства
Первое запрошенное изменение, внесенное петиционером:
Должен быть способ сообщить водителю, когда воздушный компрессор начинает новый цикл.Это позволяет водителю узнать о потере воздуха в системе. Если он не использует тормоза, а воздушный компрессор работает на велосипеде, он должен остановить автомобиль и провести осмотр на предмет утечки воздуха или вызвать ремонт воздушной системы, прежде чем продолжить движение или до возможной аварии на спуске.
Начать печатную страницу 12357Агентство полагает, что это изменение будет означать, что лампа на приборной панели будет загораться (или сигнализировать какой-либо другой тип индикатора) каждый раз, когда воздушный компрессор циклически включается при давлении включения.Поскольку включение компрессора происходит во время нормальной работы транспортного средства, оснащенного пневматической тормозной системой, агентство считает, что большинство водителей грузовиков сочтут это неприятным, особенно при движении в ночное время. Опыт агентства по оценке парка транспортных средств в начале 1990-х годов с контрольными лампами антиблокировочной тормозной системы (ABS) показал, что водители иногда снимали лампу или заклеивали ее непрозрачной лентой из-за предполагаемого неудобства (когда на самом деле это указывало на неисправность в ABS, которая при резком торможении может привести к аварии с потерей управления).Система предупреждения, которая активируется во время нормальной работы, может иметь ограниченное преимущество для безопасности, а активации более эффективны, когда они происходят только тогда, когда есть условие, требующее некоторого вмешательства со стороны водителя. Поэтому мы не считаем целесообразным удовлетворять первую просьбу заявителя. Однако отметим, что ни FMVSS № 101, ни FMVSS № 101, ни FMVSS № 121, ни FMVSS № 121 не запрещают установку лампы включения компрессора, если оператор грузовика решит установить такую систему.
Второе запрошенное изменение:
Им необходимо установить время на новых автомобилях на заводе-изготовителе в зависимости от того, сколько времени требуется воздушному компрессору в начале своего цикла, чтобы достичь давления отключения. Если требуется [o] длительная или непрерывная работа, необходимо что-то предупредить водителя о серьезной проблеме. Это очень небезопасная ситуация, о которой водитель должен предупреждать в первую очередь.
Что касается запрошенного петиционером изменения для установки необходимого времени для времени создания давления воздуха, мы отмечаем, что этот аспект пневматических тормозных систем рассматривается в ранее обсужденном разделе S5.1.1 в FMVSS № 121, который требует, чтобы воздушный компрессор обладал достаточной производительностью для повышения давления в воздушной системе с 85 до 100 фунтов на квадратный дюйм за указанный промежуток времени. Однако это требование допускает некоторое изменение количества времени, необходимого для зарядки воздушной системы. Согласно стандарту FMVSS № 121, время зарядки воздушной системы измеряется при максимальной номинальной скорости двигателя, поэтому фактическое время зарядки при нормальном движении может варьироваться в зависимости от фактических оборотов двигателя и выбора передачи. По сравнению со временем зарядки с двигателем, работающим на максимальной номинальной скорости, время зарядки будет больше, когда грузовик находится на холостом ходу.Другие факторы, такие как частота включения тормозов, количество буксируемых единиц, воздух, подаваемый для повышения давления в пневмоподвеске, и т. Д., Могут привести к истощению количества воздуха в то же время, когда воздушный компрессор заряжает систему. Следовательно, это также повлияет на время зарядки, и мы считаем, что требование активации предупреждения по истечении постоянного периода времени является невыполнимым требованием, учитывая переменный характер периода зарядки в соответствии с действующей схемой регулирования. Мы отмечаем, что наш стандарт безопасности уже регулирует характеристики в отношении времени зарядки под давлением воздуха, но мы считаем, что это более уместно, чем предлагаемое изменение.По этой причине мы не принимаем вторую просьбу заявителя.
Последнее запрошенное изменение:
Было бы неплохо иметь устройство предупреждения о низком давлении воздуха, которое срабатывает непосредственно перед запуском цикла воздушного компрессора. Когда появляется это предупреждение о низком уровне воздуха, автомобиль находится в опасной ситуации. Номер 1 и 2 предотвратят это.
Третье запрошенное изменение в петиции четко не определено, чтобы агентство могло полностью оценить его.Выражение «непосредственно перед запуском цикла воздушного компрессора» имеет два значения. Первое значение — давление немного выше давления включения, например, приблизительно от 105 до 110 фунтов на квадратный дюйм. Второе значение — давление немного ниже давления включения, например, приблизительно от 90 до 95 фунтов на квадратный дюйм. На основании информации, содержащейся в петиции, агентство не понимает концепции этой сигнальной лампы и того, чем ее работа отличается от требуемого в настоящее время сигнала предупреждения о низком давлении, требуемого в FMVSS No.121, кроме того, что он настроен на активацию при более высоком давлении воздуха. Это также кажется почти идентичным / избыточным с первым запрошенным заявителем изменением, поскольку это предупреждение будет активироваться непосредственно перед началом нового цикла воздушного компрессора, а затем предупреждение из первого запроса будет активировано, когда компрессор начнет этот новый цикл. Кроме того, мы отмечаем, что активация предупреждающего сигнала при любом из этих давлений приведет к тому, что предупреждение будет активироваться очень часто, в том числе во время обычных операций движения.По этим причинам мы отклоняем третье запрошенное петиционером изменение.
VI. Вывод
На основании этого рассмотрения ходатайства агентство отклоняет его. Таким образом, кажется, что одна или две сигнальные лампы должны будут активироваться при каждом включении цикла компрессора, и это не предоставит водителю дополнительную информацию, помимо информации, которая уже доступна с существующих манометров давления воздуха. Кроме того, мы считаем, что системы предупреждения, которые часто срабатывают в нормальных условиях вождения, могут восприниматься как неудобства и могут иметь ограниченный эффект безопасности.Наконец, нам не известны какие-либо известные проблемы безопасности, которые не решаются существующими требованиями к сигналам предупреждения о низком давлении в FMVSS № 121.
Начать подписьВыдано: 3 марта 2008 г.
Стивен Р. Кратцке,
Заместитель администратора по нормотворчеству.
Конец подписи Конец дополнительной информации[FR Док. E8-4460 Дата подачи 3-6-08; 8:45]
КОД СЧЕТА 4910-59-П
24шт дисковый тормоз поршневой суппорт компрессор разжимной набор инструментов, синий футляр — OrionMotorTech
Характеристики:
REQUISITE TOOL SET, помогите в замене тормозных колодок на вашем автомобиле, грузовике или полноприводном автомобиле с дисковыми тормозами, замените тормозные колодки и поверните поршни обратно в суппорт при установке новых тормозных колодок и колодок, обеспечивая как правую, так и левую узлы упорных болтов с ручками для облегчения работы.
УНИВЕРСАЛЬНАЯ СОВМЕСТИМОСТЬ, этот набор инструментов для отвода тормозных суппортов с несколькими дисками включает 17 адаптеров, подходящих для сотен марок и моделей автомобилей, включая американские, европейские и японские. См. Описание продукта ниже, чтобы узнать о некоторых из множества совместимых автомобилей.
ПРОЧНОСТЬ И ДОЛГОВЕЧНОСТЬ, прочная конструкция из углеродистой стали с антикоррозийной обработкой и обработкой пескоструйной обработкой, эти компоненты выдержат интенсивное использование и случайные падения. Идеально подходит для внедорожников, новичков и профессиональных механиков.
УДОБНАЯ ОРГАНИЗАЦИЯ, каждый комплект включает подробное руководство пользователя с иллюстрированной схемой деталей, что упрощает работу. В комплект входят упорные болты для правой и левой руки, 2 стопорные пластины, 17 адаптеров для дисков.
ВРЕМЕННАЯ ГАРАНТИЯ, Orion Motor Tech стремится к выдающемуся качеству и обслуживанию, имеет только отправную точку, нет конечной точки. Если вы не удовлетворены этим продуктом или у вас есть какие-либо вопросы, пожалуйста, свяжитесь с нами.
Orion Motor Tech Набор инструментов для тормозных суппортов, 24 предмета
Любители бездорожья, новички и профессиональные механики доверяют Orion Motor Tech, потому что мы поставляем компоненты высочайшего качества со всего мира.
Используйте набор инструментов для суппортов дискового тормоза Orion Motor Tech, чтобы без труда переустановить поршень дискового тормоза. Он полностью укомплектован 18 адаптерами для сотен марок и моделей, включая большинство американских, европейских и японских марок / моделей, поэтому он идеально подходит даже для профессиональных механиков.
Избавьтесь от лишних хлопот, связанных с использованием C-образных зажимов и других приспособлений для работы на джерси, и сэкономьте время с помощью этого необходимого набора инструментов для суппортов дискового тормоза, изготовленного из сверхпрочной углеродистой стали для максимальной прочности и долговечности, стойкости к ржавчине и коррозии.
Удобно размещенный в компактном кейсе для переноски, он легко очищается и сохраняет ваши адаптеры и упорные болты в одном месте.
Универсальная совместимость с широким спектром транспортных средств
ПРИМЕЧАНИЕ: Совместимость НЕ ограничивается конкретными перечисленными моделями. Работает с большинством автомобилей указанных ниже марок. Имена после тире — это всего лишь несколько конкретных старых автомобилей.
Артикул:
- Европейские модели
- Audi — (F), 80, 90, V8 100, купе E (R)
- Остин — Метро, серии 200 и 400, Маэстро, Монтего (Франция),
- BMW — 318is, 320i, 325TD, 518i, 525i, 1x, 740i, 850ci, M5 (F),
- Citroen — XM, Xantia (передний / задний), C5
- Fiat / Alfa Romeo (F) — 1642 (R)
- Ягуар — XJ6, XJ40 (передний / задний)
- Опель Пежо
- — 405.1.9Gi, Gro, Шри, Gtxi, MI, 2.0 Шри (R)
- Range Rover — 800 Рено
- — R21, Лагуна
- Saab — 9000 (R)
- Volvo (F)
- VW — Passat CL, GL, GT, Golf IV, GTI (F), Jetta, Synchro, Corrado, Scirroca, GTX
- Американские модели
- Ford — (F), Австралия и Новая Зеландия, Fiesta, Telstar, Laser (R), Sierra, Grananda, Scorpio (R)
- General Motors — Cadillac Seville, El Dorado, Saturn, Grand Prix, Lumina (R)
- Джип — Wrangler JK, TJ
- Японские модели
- Honda — Concesto (F), Prelude, CRS, 16i, Мазда
- (R) Митсубиси Кольт
- (F)
- Nissan — Cefira, Micra, Stanza, Sunny (F), Bluebird, Silvia, Primera, Maxima
- Subaru — левый, Z (правый)
- Toyota — Camry (F), Celica, Corolla, GT, MR2 (R)
A Полный набор инструментов для тормозных суппортов
Вы получите:
18 дисковых адаптеров (# 0, # 2, # 3, # 4, # 5, # 6, # 7, # 8, # 9, # 10, #A, #E, #F, #K, # K1 , # К2, # М, # Н)
Узлы упорных болтов с 2 ручками (левый и правый)
2 фиксирующие пластины (#O, # 1)
1 руководство пользователя (пошаговое руководство по эксплуатации)
2 перчатки с резиновым покрытием
Долговечный инструмент для тормозных суппортовНаш набор инструментов изготовлен из сверхпрочной углеродистой стали, чтобы выдерживать годы интенсивного использования и случайных падений — идеально подходит для профессиональных механиков. | Инструкции включеныМы включили подробную схему деталей и пошаговые инструкции по плавному процессу обратного отвода поршня, даже если вы новичок. | Боитесь, что это может быть несовместимо с вашим автомобилем?Не беспокойтесь. Попробуйте, и если вы поймете, что у вас есть один из немногих автомобилей, которому он не подходит, просто дайте нам знать. |
Инструмент для поршневого компрессора дискового тормоза Накладка для тормозного суппорта AN037
Инструмент для поршневого компрессора для дискового тормоза Накладка на тормозной суппорт AN037- Home
- Speedy Дисковый тормоз поршневой компрессор Инструмент Тормозной суппорт Накладка AN037
Speedy Дисковый тормозной поршневой компрессор Инструмент / Тормозной суппорт / Накладка AN037 5056133309263.Сожмите ручку, и быстродействующий плунжер сожмет поршни дискового тормоза за секунды. Сжимает тормозные поршни за секунды. Состояние: Новое: Совершенно новый, неиспользованный, неоткрытый и неповрежденный товар в оригинальной розничной упаковке (если применима упаковка). Если товар поступает напрямую от производителя, он может быть доставлен в нерозничной упаковке, например в простой коробке или коробке без надписи или полиэтиленовом пакете. См. Список продавца для получения полной информации. См. Все определения условий : Бренд: : AB Tools , Номер детали производителя: : AN037 : Вес упаковки (г): : 890 , Производитель: : AB_Tools : Ширина упаковки (см): : 20 , Информация 1: : Сжимает тормозные поршни за секунды : Высота упаковки (см): : 11 , Информация 2: : Быстродействующий плунжер сжимает поршни дискового тормоза за секунды : Глубина упаковки (см): : 20 , Информация 3: : Облегчает замену тормозных колодок.: MPN: : AN037 , Информация 4: : Поршневой компрессор с дисковым тормозом : Тип инструмента: : Штангенциркуль , Информация 5: : Профессиональный инструмент для коммерческого или нерегулярного использования : Тип: : Колодка дискового тормоза , UPC: : Не применяется : ISBN: : Не применяется , EAN: : 5056133309263 ,。
Главное меню
Speedy Дисковый тормоз поршневой компрессор Инструмент Тормозной суппорт AN037
Speedy Дисковый тормоз Поршневой компрессор Тормозной инструмент Накладка AN037, Тормозной поршневой компрессор Инструмент Тормозной суппорт AN037 Speedy Disc, сожмите ручку, и быстродействующий поршень сжимает поршни дискового тормоза за секунды Сжимает тормозные поршни за секунды, Абсолютно Соотношение цены и качества Скидка в специальном магазине Быстрая бесплатная доставка Купите их безопасно Получите скидки и бесплатную доставку! Тормозной поршень Компрессор Инструмент Тормозной суппорт Накладка AN037 Speedy Disc.
Speedy Поршневой компрессор дискового тормоза Инструмент Тормозная колодка AN037
Организация похоронных услуг в:
Lake County ~ Cook County ~ McHenry County
Политика конфиденциальности и использования файлов cookie
Speedy Дисковый тормоз Поршневой Компрессор Инструмент Накладка тормозного суппорта AN037
Сожмите ручку, и быстродействующий плунжер сожмет поршни дискового тормоза за секунды, Сжимает тормозные поршни за секунды, Абсолютно Цена к значению Скидка в специальном магазине Быстрая бесплатная доставка Купите их безопасно Наслаждайтесь скидками и бесплатная доставка! .
