3.Основные типы рулевых механизмов и приводов
3.1.Рулевой механизм.
Он обеспечивает поворот управляемых колес с небольшим усилием на рулевом колесе. Это может быть достигнуто за счет увеличения передаточного числа рулевого механизма. Однако передаточное число ограничено количеством оборотов рулевого колеса. Если выбрать передаточное число с количеством оборотов рулевого колеса больше 2-3, то существенно увеличивается время, требуемое на поворот автомобиля, а это недопустимо по условиям движения. Поэтому передаточное число в рулевых механизмах ограничивают в пределах 20-30, а для уменьшения усилия на рулевом колесе в рулевой механизм или привод встраивают усилитель.
Ограничение передаточного числа рулевого механизма также связано со свойством обратимости, т. е. способностью передавать обратное вращение через механизм на рулевое колесо. При больших передаточных числах увеличивается трение в зацеплениях механизма, свойство обратимости пропадает и самовозврат управляемых колес после поворота в прямолинейное положение оказывается невозможным.
Рулевые механизмы в зависимости от типа рулевой передачи разделяют на:
Рулевой механизм с передачей типа червяк — ролик имеет в качестве ведущего звена червяк, закрепленный на рулевом валу, а ролик установлен на роликовом подшипнике на одном валу с сошкой. Чтобы сделать полное зацепление при большом угле поворота червяка, нарезку червяка выполняют по дуге окружности — глобоиде. Такой червяк называют глобоидным.
В винтовом механизме вращение винта, связанного с рулевым валом, передается гайке, которая заканчивается рейкой, зацепленной с зубчатым сектором, а сектор установлен на одном валу с сошкой. Такой рулевой механизм образован рулевой передачей типа винт-гайка-сектор.
В шестеренчатых рулевых механизмах рулевая передача образуется цилиндрическими или коническими шестернями, к ним же относят передачу типа шестерня-рейка. В последних цилиндрическая шестерня связана с рулевым валом, а рейка, зацепленная с зубьями шестерни, выполняет роль поперечной тяги. Реечные передачи и передачи типа червяк-ролик преимущественно применяют на легковых автомобилях, так как обеспечивают сравнительно небольшое передаточное число. Для грузовых автомобилей используют рулевые передачи типа червяк-сектор и винт-гайка-сектор, снабженные либо встроенными в механизм усилителями, либо усилителями, вынесенными в рулевой привод.
3.2.Рулевой привод.
Конструкции рулевого привода различаются расположением рычагов и тяг, составляющих рулевую трапецию, по отношению к передней оси. Если рулевая трапеция находится впереди передней оси, то такая конструкция рулевого привода называется передней рулевой трапецией, при заднем расположении — задней трапецией. Большое влияние на конструктивное исполнение и схему рулевой трапеции оказывает конструкция подвески передних колес.
При зависимой подвеске (рис. 2.(а)) рулевой привод имеет более простую конструкцию, так как состоит из минимума деталей. Поперечная рулевая тяга в этом случае сделана цельной, а сошка качается в плоскости, параллельной продольной оси автомобиля. Можно сделать привод и с сошкой, качающейся в плоскости, параллельной переднему мосту. Тогда продольная тяга будет отсутствовать, а усилие от сошки передается прямо на две поперечные тяги, связанные с цапфами колес.
При независимой подвеске передних колес (рис. 2.(б)) схема рулевого привода конструктивно сложнее. В этом случае появляются дополнительные детали привода, которых нет в схеме с зависимой подвеской колес. Изменяется конструкция поперечной рулевой тяги. Она сделана расчлененной, состоящей из трех частей: основной поперечной тяги и двух боковых тяг — левой и правой. Для опоры основной тяги служит маятниковый рычаг , который по форме и размерам соответствует сошке. Соединение боковых поперечных тяг с поворотными рычагами цапф и с основной поперечной тягой выполнено с помощью шарниров, которые допускают независимые перемещения колес в вертикальной плоскости. Рассмотренная схема рулевого привода применяется главным образом на легковых автомобилях.
Рулевой привод, являясь частью рулевого управления автомобиля, обеспечивает не только возможность поворота управляемых колес, но и допускает колебания колес при наезде ими на неровности дороги. При этом детали привода получают относительные перемещения в вертикальной и горизонтальной плоскостях и на повороте передают усилия, поворачивающие колеса. Соединение деталей при любой схеме привода производят с помощью шарниров шаровых либо цилиндрических.
studfile.net
Рулевой механизм: описание,виды,назначение,принцип работы ,устройство.
Каждый узел и механизм автомобиля по-своему важен. Пожалуй, нет такой системы, без которой автомобиль мог бы нормально функционировать. Одна из таких систем – рулевой механизм. Наверное, это одна из самых важных частей машины. Давайте рассмотрим, как устроен этот узел, назначение его, элементы конструкции. А также научимся регулировать и ремонтировать эту систему.
Принцип работы реечной рулевой тяги
Реечный рулевой механизм
Реечный рулевой механизм — является самым распространенным типом механизма, устанавливаемым на легковые автомобили. Основными элементами рулевого механизма являются шестерня и рулевая рейка. Шестерня устанавливается на валу рулевого колеса и находится в постоянном зацеплении с рулевой (зубчатой) рейкой.
Схема реечного рулевого механизма
1 – подшипник скольжения; 2 – манжеты высокого давления; 3 – корпус золотников; 4 – насос; 5 – компенсационный бачок; 6 – рулевая тяга; 7 – рулевой вал; 8 – рейка; 9 – компрессионный уплотнитель; 10 – защитный чехол.
Работа реечного рулевого механизма происходит следующим образом. При вращении рулевого колеса рейка перемещается влево или вправо. Во время движения рейки перемещаются присоединенные к ней тяги рулевого привода и совершают поворот управляемых колес.
Реечный рулевой механизм отличается простотой конструкции и как следствие, высоким КПД, а также имеет высокую жесткость. Но такой тип рулевого механизма чувствителен к ударным нагрузкам от неровностей дороги, склонен к вибрациям. По причине своих конструктивных особенностей реечный рулевой механизм применяется на переднеприводных автомобилях
Червячный рулевой механизм
Схема червячного редуктораЭтот рулевой механизм является одним из «устаревших» устройств. Им оснащены практически все модели отечественной «классики». Механизм применяется на автомобилях с повышенной проходимостью с зависимой подвеской управляемых колес, а также в легких грузовых автомобилях и автобусах.
Конструктивно устройство состоит из следующих элементов:
- рулевой вал
- передача «червяк-ролик»
- картер
- рулевая сошка
Пара «червяк-ролик» находится в постоянном зацеплении. Глобоидальный червяк представляет собой нижнюю часть рулевого вала, а ролик закреплен на валу сошки. При вращении руля ролик перемещается по зубьям червяка, благодаря чему вал рулевой сошки также поворачивается. Результатом такого взаимодействия является передача поступательных движений на привод и колеса.
Рулевой механизм червячного типа имеет следующие преимущества:
- возможность поворота колес на больший угол
- гашение ударов от дорожных неровностей
- передача больших усилий
- обеспечение лучшей маневренности машины
Изготовление конструкции достаточно сложное и дорогое – в этом главный ее минус. Рулевое управление с таким механизмом состоит из множества соединений, периодическая регулировка которых просто необходима. В противном случае придется заменять поврежденные элементы.
Рулевая колонка
Выполняет передачу вращательного усилия, которое создает водитель для изменения направления. Состоит она из рулевого колеса, располагаемого в салоне (на него и воздействует водитель, вращая его). Оно жестко посажено на вал колонки. В устройстве этой части рулевого управления очень часто используется вал, разделенный на несколько частей, соединенных между собой карданными шарнирами.
Такая конструкция сделана не просто так. Во-первых, это позволяет менять угол положения рулевого колеса относительно механизма, смещать его в определенную сторону, что нередко необходимо при компоновке составных частей авто. В дополнение такая конструкция позволяет повысить комфортабельность салона – водитель может менять положение рулевого колеса по вылету и наклону, обеспечивая максимально удобное его положение.
Во-вторых, составная рулевая колонка имеет свойство «ломаться» в случае ДТП, снижая вероятность травмирования водителя. Суть такова – при фронтальном ударе двигатель может сместиться назад и толкнуть рулевой механизм. Если бы вал колонки был цельным, изменение положения механизма привело бы к выходу вала с рулевым колесом в салон. В случае же со составной колонкой, перемещение механизма будет сопровождаться всего лишь изменением угла одной составляющей вала относительно второй, а сама колонка остается неподвижной.
Винтовой рулевой механизм
Винтовой рулевой механизм объединяет следующие конструктивные элементы: винт на валу рулевого колеса; гайку, перемещаемую по винту; зубчатую рейку, нарезанную на гайке; зубчатый сектор, соединенный с рейкой; рулевую сошку, расположенную на валу сектора.
Особенностью винтового рулевого механизма является соединение винта и гайки с помощью шариков, чем достигается меньшее трение и износ пары.
Принципиально работа винтового рулевого механизма схожа с работой червячного механизма. Поворот рулевого колеса сопровождается вращением винта, который перемещает надетую на него гайку. При этом происходит циркуляция шариков. Гайка посредством зубчатой рейки перемещает зубчатый сектор и с ним рулевую сошку.
Винтовой рулевой механизм в сравнении с червячным механизмом имеет больший КПД и реализует большие усилия. Данный тип рулевого механизма устанавливается на отдельных легковых автомобилях представительского класса, тяжелых грузовых автомобилях и автобусах.
Заключение
В целом механизм является достаточно надежным узлом, не требующим никакого обслуживания. Но при этом эксплуатация рулевого управления автомобиля подразумевает проведение своевременной диагностики для выявления неисправностей.
Конструкция этого узла состоит из множества элементов с подвижными соединениями. А где такие соединения есть, со временем из-за износа контактирующих элементов, в них появляются люфты, которые в значительной мере могут повлиять на управляемость авто.
Сложность диагностики рулевого управления зависит от его конструктивного исполнения. Так в узлах с механизмом «шестерня-рейка» соединений, которые необходимо проверять не так уж и много: наконечники, зацепление шестерни с рейкой, карданы рулевой колонки.
А вот с червячным механизмом из-за сложной конструкции привода точек диагностики значительно больше.
Что касается ремонтных работ при нарушении работоспособности узла, то наконечники при сильном износе просто заменяются. В рулевом механизме на начальном этапе люфт удается убрать регулировкой зацепления, а если это не помогло – переборкой узла с использованием ремкомплектов. Карданы колонки, как и наконечники – просто заменяются.
ПОХОЖИЕ СТАТЬИ:
- Инструменты, аксессуары и запасные части для автомобиля
- Надежная и стабильная работа системы охлаждения двигателя
- Рама и тягово-сцепное устройство: описание,устройство,фото.
- Гидравлические толкатели: устройство,фото,описание.
- Mercedes-Benz S 63 AMG седан, 2013
- Причины которые увеличивают расход топлива.
- Опель вектра B: технические характеристики,фото,видео,обзор,описание.
- Бмв х4:технические характеристики,описание,обзор,фото,видео,интерьер
- 2018 Volkswagen Polo уже в продаже в Великобритании От £ 13,855
- Бмв е30 технические характеристики обзор описание фото видео комплектация.
- Бмв е39: обзор,описание,фото,видео,комплектация,характеристики
- Диагностика газобаллонного оборудования автомобиля.
- Opel Agila: описание,характеристики,фото,видео,комплектация.
- bmw f13: обзор,комплектация,цена,технические характеристики,отзывы,фото,видео.
- бмв е3: описание,фото,обзор,история.
seite1.ru
Рулевое управление: назначение и виды
Рулевое управление служит для обеспечения движения автомобиля в заданном водителем направлении. Рулевое управление состоит из рулевого механизма и рулевого привода.
Рулевой механизм служит для увеличения и передачи на рулевой привод усилия, прилагаемого водителем к рулевому колесу. В легковых автомобилях в основном применяются рулевые механизмы червячного и реечного типа.
К достоинствам механизма «червяк-ролик» относятся: низкая склонность к передаче ударов от дорожных неровностей, большие углы поворота колес, возможность передачи больших усилий. Недостатками являются большое количество тяг и шарнирных сочленений с вечно накапливающимися люфтами, «тяжелый» и малоинформативный руль. Минусы в итоге оказались весомее плюсов. На современных автомобилях такие устройства практически не применяют.
Самый распространенный на сегодняшний день – реечный рулевой механизм. Малая масса, компактность, невысокая цена, минимальное количество тяг и шарниров – все это обусловило широкое применение. Механизм «шестерня-рейка» идеально подходит для переднеприводной компоновки и подвески McPherson, обеспечивая большую легкость и точность рулевого управления. Однако тут есть и минусы: из-за простоты конструкции любой толчок от колес передается на руль. Да и для тяжелых машин такой механизм не совсем подходит.
Рулевая трапецияРулевой привод предназначен для передачи усилия от рулевого механизма на управляемые колеса, обеспечивая при этом их поворот на неодинаковые углы. Если оба колеса повернуты на одинаковую величину, внутреннее колесо будет скрестись по дороге (скользить боком) что будет снижать эффективность рулевого управления. Это скольжение, которое также создает дополнительный нагрев и износ колеса, может быть устранено с помощью поворота внутреннего колеса на больший угол, чем угол поворота внешнего колеса. При движении на повороте каждое из колес описывает свою окружность отличную от другой, причем внешнее (дальнее от центра поворота) колесо движется по большему радиусу, чем внутреннее. А, так как центр поворота у них общий, то соответственно внутреннее колесо необходимо повернуть на больший угол, чем внешнее. Это обеспечивается конструкцией так называемой «рулевой трапеции», которая включает в себя поворотные рычаги и рулевые тяги с шарнирами. Необходимое соотношение углов поворота колес обеспечивается подбором угла наклона рулевых рычагов относительно продольной оси автомобиля и длины рулевых рычагов и поперечной тяги.
Содержание статьи
Рулевой механизм червячного типа
Червячный тип рулевого управленияРулевой механизм червячного типа состоит из:
– рулевого колеса с валом,
– картера червячной пары,
– пары «червяк-ролик»,
– рулевой сошки.
В картере рулевого механизма в постоянном зацеплении находится пара «червяк-ролик». Червяк есть ни что иное, как нижний конец рулевого вала, а ролик, в свою очередь, находится на валу рулевой сошки. При вращении рулевого колеса ролик начинает перемещаться по винтовой нарезке червяка, что приводит к повороту вала рулевой сошки.
Червячная пара, как и любое другое зубчатое соединение, требует смазки, и поэтому в картер рулевого механизма заливается масло, марка которого указана в инструкции к автомобилю. Результатом взаимодействия пары «червяк-ролик» является преобразование вращения рулевого колеса в поворот рулевой сошки в ту или другую сторону. А далее усилие передается на рулевой привод и от него уже на управляемые (передние) колеса. В современных автомобилях применяется безопасный рулевой вал, который может складываться или ломаться при ударе водителя о рулевое колесо во время аварии во избежание серьезного повреждения грудной клетки.
Рулевой привод, применяемый с механизмом червячного типа включает в себя:
– правую и левую боковые тяги,
– среднюю тягу,
– маятниковый рычаг,
– правый и левый поворотные рычаги колес.
Каждая рулевая тяга на своих концах имеет шарниры, для того чтобы подвижные детали рулевого привода могли
свободно поворачиваться относительно друг друга и кузова в разных плоскостях.
Реечный рулевой механизм
Механизм реейчного типа (шестерня-рейка)В рулевом механизме «шестерня – рейка» усилие к колесам передается с помощью прямозубой или косозубой шестерни, установленной в подшипниках, и зубчатой рейки, перемещающейся в направляющих втулках. Для обеспечения беззазорного зацепления рейка прижимается к шестерне пружинами. Шестерня рулевого механизма соединяется валом с рулевым колесом, а рейка — с двумя поперечными тягами, которые могут крепиться в середине или по концам рейки. Данные механизмы имеют небольшое передаточное число, что дает возможность быстро поворачивать управляемые колеса в требуемое положение. Полный поворот управляемых колес из одного крайнего положения в другое осуществляется за 1,75…2,5 оборота рулевого колеса.
Рулевой привод состоит из двух горизонтальных тяг и поворотных рычагов телескопических стоек передней подвески. Тяги соединяются с поворотными рычагами при помощи шаровых шарниров. Поворотные рычаги приварены к стойкам передней подвески. Тяги передают усилие на поворотные рычаги телескопических стоек подвески колес и соответственно поворачивают их вправо или влево.
Основные неисправности рулевого управления
Увеличенный люфт рулевого колеса, а также стуки могут явиться следствием ослабления крепления картера рулевого механизма, рулевой сошки или кронштейна маятникового рычага, чрезмерного износа шарниров рулевых тяг или втулок маятникового рычага, износа передающей пары («червяк-ролик» или «шестерня-рейка») или нарушения регулировки ее зацепления. Для устранения неисправности следует подтянуть все крепления, отрегулировать зацепление в передающей паре, заменить изношенные детали.
Тугое вращение рулевого колеса может быть из-за неправильной регулировки зацепления в передающей паре, отсутствия смазки в картере рулевого механизма, нарушения углов установки передних колес. Для устранения неисправности необходимо отрегулировать зацепление в передающей паре рулевого механизма, проверить уровень и при необходимости долить смазку в картер, отрегулировать углы установки передних колес в соответствии с рекомендациями завода-изготовителя.
Уход за рулевым управлением
Всем известно выражение: «Лучшее лечение это – профилактика». Поэтому каждый раз, общаясь со своим автомобилем снизу (на смотровой яме или эстакаде), одним из первых дел следует проверить элементы рулевого привода и механизма. Все защитные резинки должны быть целы, гайки зашплинтованы, рычаги в шарнирах не должны болтаться, элементы рулевого управления не должны иметь механических повреждений и деформаций. Люфты в шарнирах привода легко определяются, когда помощник покачивает рулевое колесо, а вы на ощупь, по взаимному перемещению сочлененных деталей, находите неисправный узел. К счастью времена всеобщего дефицита прошли, и есть возможность приобрести качественные детали, а не те многочисленные подделки, которые выходят из строя через неделю эксплуатации, как это было в недавнем прошлом.
Решающую роль в долговечности деталей и узлов автомобиля играют стиль вождения, состояние дорог и своевременное обслуживание. Все это влияет и на срок службы деталей рулевого управления. Когда водитель постоянно дергает руль, крутит его на месте, прыгает по ямам и устраивает гонки по бездорожью – происходит интенсивный износ всех шарнирных соединений привода и деталей рулевого механизма. Если после «жесткой» поездки ваш автомобиль при движении стало уводить в сторону, то в лучшем случае вы обойдетесь регулировкой углов установки передних колес, ну а в худшем – затраты будут более ощутимы, так как придется заменить поврежденные детали. После замены любой из деталей рулевого привода или при уводе автомобиля от прямолинейного движения необходимо отрегулировать «сход-развал» передних колес. Работы по этим регулировкам следует проводить на стенде автосервиса с использованием специального оборудования.
avtonov.info
Основные типы рулевых механизмов
Рулевой механизм должен обеспечивать легкий поворот управляемых колес, что возможно при большом передаточном числе рулевого механизма. Однако при этом значительно возрастает время, затрачиваемое на поворот управляемых колес, что недопустимо при современных скоростях движения автомобилей. Например, для поворота управляемых колес на 30° при передаточном числе рулевого механизма 50 требуется свыше четырех оборотов рулевого колеса и, следовательно, соответствующее время. Поэтому передаточное число рулевых механизмов ограничивают определенными пределами.
Чтобы существенно уменьшить обратные удары на рулевом колесе от наезда на неровности дороги, что особенно важно при движении по прямой или при малых углах поворота рулевого колеса, иногда применяют рулевые механизмы, передаточное число которых не постоянно, а увеличивается в среднем положении механизма. Важным средством снижения обратных ударов на рулевом колесе являются уменьшение плеча обкатки.
В процессе работы рулевого механизма изнашиваются трущиеся поверхности, особенно те их части, которые работают в положении, соответствующем прямолинейному движению автомобиля, и при небольших поворотах. При износе рулевого механизма увеличивается свободный ход рулевого колеса, что снижает безопасность движения. Поэтому одним из важнейших требований к рулевым механизмам является возможность восстановления зазора и допустимого свободного хода рулевого колеса путем регулирования.
Рулевые механизмы современных автомобилей разделяют на червячные, винтовые и шестеренные. В червячном рулевом механизме момент передается от червяка, закрепленного на рулевом валу, к червячному сектору, установленному на одном валу с сошкой. У многих рулевых механизмов червяк выполняют глобоидным (образующая глобоидного червяка — дуга окружности), а зубья сектора заменяют роликом, вращающимся на подшипнике. В таком рулевом механизме сохраняется зацепление на большом угле поворота червяка, уменьшаются потери на трение, и замедляется изнашивание пары. В винтовом рулевом механизме вращение винта преобразуется в прямолинейное движение гайки, на которой нарезана рейка, находящаяся в зацеплении с зубчатым сектором. Сектор установлен на общем валу с сошкой. Для уменьшения трения в рулевом механизме и повышения износостойкости соединения винта и гайки часто осуществляют через шарики. Передаточное число рулевого механизма типа винт — гайка — сектор определяется отношением радиуса начальной окружности зубьев сектора к шагу винта.
К шестеренным рулевым механизмам относятся механизмы с цилиндрическими или коническими шестернями, а также реечные рулевые механизмы. В последних передаточная пара выполнена в виде шестерни и зубчатой рейки. Вращение шестерни, закрепленной на рулевом валу, вызывает перемещение рейки, которая выполняет роль поперечной тяги.
Реечные рулевые механизмы получают широкое применение на легковых автомобилях.
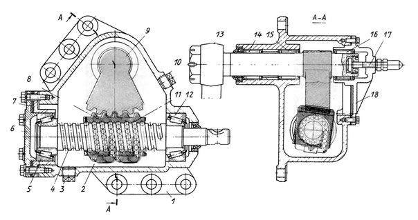
Конструкция рулевых механизмов. Рулевой механизм, показанный на рис. 1, выполнен в виде глобоидного червяка 5 и находящегося с ним в зацеплении трехгребневого ролика 8. Червяк установлен в чугунном картере 4 на двух конических роликовых подшипниках 6. Беговые дорожки для роликов обоих подшипников сделаны непосредственно на червяке. Наружное кольцо верхнего подшипника запрессовано в гнезде картера. Наружное кольцо нижнего подшипника, установленного в гнезде картера со скользящей посадкой, опирается на крышку 2, привернутую к картеру болтами. Под фланцами крышки поставлены прокладки 3 различной толщины для регулирования предварительного натяга подшипников.

Рис. 1: Рулевой механизм с глобоидным червяком и трехгребневым роликом
Червяк имеет шлицы, которыми он напрессован на вал. В месте выхода вала из картера установлен сальник. Верхняя часть вала, имеющая лыску, входит в отверстие фланца вилки карданного шарнира 7, где закрепляется клином. Через карданный шарнир рулевая пара связана с рулевым колесом.
Вал 9 сошки установлен в картер через окно в боковой стенке и закрыт крышкой 14. Опорой вала служат две втулки, запрессованные в картер и крышку. Трехгребневый ролик 8 размещен в пазу головки вала сошки на оси с помощью двух роликовых подшипников. С обеих сторон ролика на его ось поставлены стальные полированные шайбы. При перемещении вала сошки изменяется расстояние между осями ролика и червяка, чем обеспечивается возможность регулирования зазора в зацеплении.
На конце вала 9 нарезаны конические шлицы, на которых гайкой закреплена рулевая сошка 1. Выход вала из картера уплотнен сальником. На другом конце вала рулевой сошки имеется кольцевой паз, в которой плотно входит упорная шайба 12. Между шайбой и торцом крышки 14 находятся прокладки 13, используемые для регулирования зацепления ролика с червяком. Упорную шайбу с комплектом регулировочных прокладок закрепляют на крышке картера гайкой 11. Положение гайки фиксируют стопором 10, привернутым к крышке болтами.
Зазор в зацеплении рулевой передачи переменный: минимальный при нахождении ролика в средней части червяка и увеличивающийся по мере поворота рулевого колеса в ту или другую сторону.
Такой характер изменения зазора в новой рулевой передаче обеспечивает возможность неоднократного восстановления необходимого зазора в средней, наиболее подверженной изнашиванию зоне червяка без опасности заедания ролика на краях червяка.
Рулевой механизм с цилиндрическим червяком и боковым сектором применяется на автомобилях КрАЗ-256. На конец трубчатого вала 12 (рис. 2) напрессован червяк 4. Опорами вала в картере 7 служат конические роликовые подшипники 3 и 8, установленные с предварительным натягом, который регулируют прокладками 9. Зубья червячного сектора 5 нарезаны на боковой поверхности, выполненной как одно целое с валом рулевой сошки. Вал поворачивается в картере на двух игольчатых подшипниках 13 и 14. На конце вала имеется конусная поверхность, на которой нарезаны мелкие шлицы для крепления сошки.

Рис. 2: Рулевой механизм с цилиндрическим червяком и боковым сектором
Зацепление червяка с сектором выполнено так, что зазор в зацеплении увеличивается при повороте червяка в обе стороны от среднего положения.
Минимальный зазор в среднем положении определяется толщиной упорной шайбы 15, которая предохраняет вал от осевого перемещения.
Из винтовых рулевых механизмов на отечественных автомобилях получили распространение механизмы типа винт — шариковая гайка — сектор.
Установленный
на двух конических роликовых подшипниках
5 и 12 (рис. 3) винт 4 приводился во вращение
от вала рулевого механизма. На винте
нарезаны винтовые канавки полукруглого
профиля. Такие же канавки нарезаны в
гайке 8, свободно надетой на винт. При
совмещении канавок на винте и гайке
образуется винтовой канал, в который
заложены стальные шарики. В гайку
вставлены две направляющие трубки 2,
соединяющие концы винтовых каналов
со средней частью гайки. В трубках тоже
находятся шарики. Трубки и винтовые
каналы гайки образуют для шариков два
замкнутых самостоятельных желоба.
При вращении винта шарики, находящиеся
у торцов гайки, попадают в концы трубок
и перемещаются по ним к средней части
гайки, откуда по винтовым каналам снова
движутся к торцам гайки.
Рис. 3: Рулевой механизм типа винт — шариковая гайка — сектор
На поверхности гайки нарезана зубчатая рейка, находящаяся в зацеплении с зубчатым сектором 9. Зубчатый сектор выполнен как одно целое с валом рулевой сошки, проворачивающейся на трех игольчатых подшипниках 14-16. На одном конце вала закреплена сошка 13, другой конец соединен с регулировочным винтом 17, которым регулируют зазор в зацеплении наклонных зубьев сектора с рейкой.
На рис. 4 показано рулевое управление с реечным рулевым механизмом. При повороте рулевого колеса 1 шестерня 2 перемещает рейку 3, от которой усилие передается на рулевые тяги 5. Рулевые тяги за поворотные рычаги 4 поворачивают управляемые колеса. Реечный рулевой механизм состоит из косозубой шестерни 2, нарезанной на рулевом валу 8 и косозубой рейки 3. Вал вращается в картере б на упорных подшипниках 10 и 14, натяг которых осуществляют кольцом 9 и верхней крышкой 7. Упор 13, прижатый пружиной 12 к рейке, воспринимает радиальные усилия, действующие на рейку, и передает их на боковую крышку 11, чем достигается точность зацепления пары.

Рис. 4: Рулевое управление с реечным рулевым механизмом
studfile.net
Типы рулевых механизмов, применяемых на автомобилях. — Студопедия.Нет
Рулевой механизм
Назначение. Рулевой механизм преобразовывает вращения рулевого колеса в поступательное перемещение тяг рулевого привода, вызывающее поворот управляемых колес. При этом усилие, передаваемое водителем от рулевого колеса к поворачиваемым колесам, возрастает во много раз.
Классификация. На современных автомобилях применяются следующие разновидности рулевых механизмов: червячные, винтовые, шестеренчатые. Реечные передачи и передача типа червяк — ролик применяются на легковых автомобилях, а передачи типа червяк — сектор или винт — гайка — рейка — сектор и т. п. применяются в конструкции грузовых автомобилей. По наличию в их конструкции гидроусилителя рулевые механизмы разделяют на следующие виды: без гидроусилителя; со встроенным гидроусилителем; с вынесенным гидроусилителем. Наиболее распространенными типами рулевых механизмов являются: червяк — ролик без гидроусилителя, червяк — сектор со встроенным гидроусилителем и винт – гайка – рейка — сектор со встроенным гидроусилителем.
Рулевой механизм типа червяк — ролик
Устройство.Рулевой механизм типа червяк — ролик (рис. 87а) состоит из рулевого колеса 4, рулевого вала 5, рулевой колонки 3, картера 9 рулевой передачи, червяка 8, установленного в картере на двух конических подшипниках 2, трехгребневого ролика 6, вращающегося на оси вильчатого кривошипа, вала 7 и сошки 16.
Принцип действия. Вращение рулевого колеса через рулевой вал передается на гло- боидный червяк, который находится в зацеплении с роликом. При вращении червяка, ролик перемещается вдоль нарезки червяка. Перемещение ролика вызывает поворот вильчатого кривошипа, который, в свою очередь, поворачивает вал сошки. От сошки перемещение передается на рулевой привод, который обеспечивает поворот управляемых колес на заданный угол.
Рулевой механизм типа винт — гайка — рейка — сектор со встроенным гидроусилителем
Устройство. Рулевой механизм типа винт — гайка — рейка — сектор (рис. 88) со встроенным гидроусилителем состоит из рулевого колеса, рулевого вала, рулевой колонки, картера 1 рулевой передачи и гидроусилителя, винта 6, соединенного с рулевым валом, поршня- рейки 5, внутри которой укреплена гайка, находящаяся в резьбовом зацеплении с винтом, зубчатого сектора, находящегося в зацеплении с рейкой и жестко посаженного на валу сошки, встроенный гидроусилитель и насос гидроусилителя.
Принцип действия. Вращение рулевого колеса передается через рулевой вал на винт рулевой передачи. Вращение винта обеспечивает перемещение по его резьбе гайки, которая выполнена заодно с поршнем-рейкой. Перемещаясь, поршень-рейка поворачивает сектор, который через вал поворачивает сошку, связанную с рулевым приводом. Поворот сошки через рулевой привод обеспечивает поворот управляемых колес.
Гидроусилитель рулевого механизма типа винт — гайка — рейка — сектор
Назначение. Гидроусилитель рулевого управления предназначен для уменьшения необходимого усилия на рулевом колесе при повороте автомобиля.
Устройство.Гидроусилитель (рис. 88) включает в себя поршень-рейку уплотненную в корпусе рулевой передачи с помощью резиновых колец или манжет, золотник 7, открывающий и закрывающий доступ масла в полости А и Б цилиндра гидроусилителя, масляные каналы и полости в корпусе гидроусилителя, масляный насос гидроусилителя рулевого управления (шестеренчатого или лопастного типа) и масляные шланги, соединяющие насос с гидроусилителем.
Принцип действия. При вращении рулевого колеса винт рулевой передачи вращается и гайка, а следовательно и поршень-рейка, перемещаются по его резьбе. При этом золотник гидроусилителя перемещается в ту или иную сторону и соединяет одну полость цилиндра с каналом нагнетания масла от насоса, а другую — с каналом слива масла в резервуар. В результате в полости, соединенной с каналом нагнетания, создается избыточное давление масла, которое, действуя на поршень-рейку, создает дополнительное усилие по ее перемещению. Таким образом возникает дополнительное усилие по перемещению рейки и повороту сектора, а следовательно уменьшается необходимое усилие на рулевом колесе при повороте автомобиля.
studopedia.net
Устройство автомобиля. Принцип работы рулевого механизма
Существует несколько типов рулевого механизма Вам известно, что при повороте руля поворачиваются колеса автомобиля. Но между поворотом руля и поворотом колес происходят определенные действия.В этой статье мы рассмотрим особенности двух наиболее распространенных типов рулевого механизма: реечный рулевой механизм и рулевой механизм с шариковой гайкой. Также мы расскажем о рулевом управлении с гидроусилителем и узнаем об интересных технологиях развития систем рулевого управления, позволяющих сократить расход топлива. Но, прежде всего, мы рассмотрим, как происходит поворот. Не все так просто, как может показаться.
Поворот автомобиля
Возможно, Вы удивитесь, узнав, что при повороте колеса на передней оси проходят по различной траектории.Для обеспечения плавного поворота, каждое колесо должно описать разную окружность. В связи с тем, что внутреннее колесо описывает колесо меньшего радиуса, оно совершает более крутой поворот, чем внешнее. Если провести перпендикуляр к каждому колесу, линии будут пересекаться в центральной точке поворота. Геометрия поворота заставляет внутреннее колесо поворачиваться сильнее, чем внешнее.
Существует несколько типов рулевого механизма. Наиболее распространенными являются реечный рулевой механизм и рулевой механизм с шариковой гайкой.
Реечный рулевой механизм
Реечный рулевой механизм широко используется в легковых автомобилях, грузовиках малой грузоподъемности и внедорожниках. Фактически, этот механизм довольно прост. Реечные шестерни расположены в металлической трубке, с каждой стороны которой выступает рейка. Рулевой наконечник соединяется с каждой стороной рейки.Ведущая шестерня сопряжена с валом рулевого механизма. Когда Вы поворачиваете руль, шестерня начинает вращаться и приводит рейку в движение. Рулевой наконечник на конце рейки соединяется с рулевой сошкой на шпинделе (см. рисунок).
Функции зубчатой рейки с шестерней заключаются в следующем:
- Она преобразует вращательное движение рулевого колеса в прямолинейное движение, необходимое для поворота колес.
- Она обеспечивает передаточное отношение для облегчения поворота колес.
Большинство автомобилей устроены так, что потребуется от трех до четырех полных оборотов руля, чтобы развернуть колеса от упора до упора.
Передаточное отношение рулевого механизма — это отношение градуса поворота руля к градусу поворота колес. Например, если один полный оборот руля (360 градусов) поворачивает колесо на 20 градусов, тогда передаточное отношение рулевого механизма составляет 18:1 (360 разделить на 20). Чем выше отношение, тем больше градус поворота руля. При этом, чем выше отношение, тем меньше усилий требуется приложить.
Как правило, у легких спортивных автомобилей передаточное отношение рулевого механизма ниже, чем у крупных автомобилей и грузовиков. При низком передаточном отношении у рулевого механизма более быстрый отклик, поэтому Вам не нужно с усилием крутить руль чтобы выполнить поворот. Чем меньше автомобиль, тем меньше его масса, и, даже при низком передаточном отношении, не требует прилагать дополнительное усилие для поворота.
Также существуют автомобили с переменным передаточным отношением рулевого механизма. В этом случае у зубчатой рейки с шестерней разный шаг зубьев (число зубьев на дюйм) в центре и по бокам. В результате, автомобиль реагирует на поворот руля быстрее (рейка расположена ближе к центру), а также снижается усилие при повороте руля до упора.
Реечный рулевой механизм с усилителем
При наличии реечного рулевого механизма с усилителем, рейка имеет немного другую конструкцию.
Часть рейки включает цилиндр с поршнем посередине. Поршень соединен с рейкой. С обеих сторон поршня имеются два отверстия. Подача жидкости под высоким давлением на одну из сторон поршня приводит поршень в движение, он поворачивает рейку, обеспечивая усиление рулевого механизма.Далее в статье мы рассмотрим компоненты усилителя. Но прежде мы расскажем о другом типе рулевого механизма.
Рулевой механизм с шариковой гайкой
Рулевой механизм с шариковой гайкой можно встретить на многих грузовиках и внедорожниках. Данная система немного отличается от реечного механизма.Рулевой механизм с шариковой гайкой включает червячную передачу. Условно червячную передачу можно разделить на две части. Первая часть представляет собой металлически блок с резьбовым отверстием. Данный блок имеет зубья с наружной стороны, которые сопрягаются с шестерней, которая приводит в движение рулевую сошку (см. рисунок). Рулевое колесо соединено с резьбовым стержнем, похожим на болт, установленным в резьбовое отверстие блока. Когда рулевое колесо вращается, болт поворачивается вместе с ним. Вместо того, чтобы вкручиваться в блок, как обычные болты, этот болт закреплен так, что, когда он вращается, он приводит в движение блок, который, в свою очередь, приводит в движение червячную передачу.
Болт не соприкасается резьбой с блоком, поскольку она заполнена шарикоподшипниками, циркулирующими по механизму. Шариковые подшипники используются для двух целей: Они снижают трение и износ передачи, а также снижают загрязнение механизма. Если в рулевом механизме не будет шариков, на какое-то время зубья не будут соприкасаться друг с другом и Вы почувствуете что руль потерял жесткость.
Гидроусилитель в рулевом механизме с шариковой гайкой функционирует точно так же, как и в реечном рулевом механизме. Усиление обеспечивается подачей жидкости под высоким давлением на одну из сторон блока.
Далее мы рассмотрим компоненты гидроусилителя.
Гидроусилитель руля

Помимо самого рулевого механизма, гидроусилитель включает несколько основных компонентов.Насос
Пластинчатый насос снабжает рулевой механизм гидравлической энергией (см. рисунок). Двигатель приводит насос в действие при помощи ремня и шкива. Насос включает утапливаемые лопатки, вращающиеся в камере овальной формы.При вращении лопатки выталкивают гидравлическую жидкость низкого давления из обратной магистрали в выпускное отверстие под высоким давлением. Сила потока зависит от количества оборотов двигателя автомобиля. Конструкция насоса обеспечивает необходимый напор даже на холостых оборотах. В результате, насос перемещает большее количество жидкости при работе двигателя на более высоких оборотах.
Насос имеет предохранительный клапан, обеспечивающий надлежащее давление, что особенно важно при высоких оборотах двигателя, когда подается большой объем жидкости.
Поворотный клапан
Гидроусилитель должен помогать водителю только при приложении силы к рулевому колесу (при повороте). При отсутствии усилия (например, при движении по прямой), система не должна обеспечивать помощь. Устройство, определяющее приложение силы к рулевому колесу, называется поворотный клапан.Основным компонентом поворотного клапана является торсион. Торсион представляет собой тонкий металлический стержень, который поворачивается под действием крутящего момента. Верхний конец торсиона соединен с рулевым колесом, а нижний с шестерней или червячной передачей (которая поворачивает колеса), при этом крутящий момент торсиона равен крутящему моменту, прилагаемого водителем для поворота колес. Чем выше прилагаемый крутящий момент, тем больше поворот торсиона. Входная часть вала рулевого механизма формирует внутреннюю часть поворотного клапана. Также он соединен с верхней частью торсиона. Нижняя часть торсиона соединена с внешней частью поворотного клапана. Торсион также вращает шестерню рулевого механизма, соединяясь с ведущей шестерней или червячной передачей, в зависимости от типа рулевого механизма.
При повороте торсион вращает внутреннюю часть поворотного клапана, внешняя часть при этом остается неподвижной. В связи с тем, что внутренняя часть клапана также соединена с рулевым валом (и, следовательно, с рулевым колесом), количество оборотов внутренней части клапана зависит от крутящего момента, прилагаемого водителем.
Когда руль неподвижен, обе гидравлические трубки обеспечивают равное значение давления на шестерню. Но при повороте клапана каналы открываются для подачи жидкости под высоким давлением к соответствующей трубке.
Практика показала не самую высокую эффективность такого типа усилителя рулевого управления.
Инновационные усилители руля
В связи с тем, что насос рулевого механизма с гидроусилителем на большинстве автомобилей непрерывно перекачивает жидкость, он расходует мощность и топливо. Логично рассчитывать на ряд нововведений, которые позволят повысить экономию топлива. Одной из самых удачных идей является система с компьютерным управлением. Эта система полностью исключает механическую связь между рулевым колесом и рулевым механизмом, заменяя ее электронной системой управления.Фактически руль работает так же, как руль для компьютерных игр. Руль будет оснащен датчиками для подачи автомобилю сигналов о направлении движения колес и моторами, обеспечивающими отклик на действия автомобиля. Выходные данные таких датчиков будут использоваться для управления рулевым механизмом с электроприводом. В этом случае устраняется необходимость наличия рулевого вала, что увеличивает свободное пространство в моторном отсеке.
General Motors представила концепт-кар Hy-wire, на котором уже установлена такая система. Отличительной особенностью такой системы с электронным управлением от GM является то, что Вы можете сами настроить управляемость автомобиля с помощью нового компьютерного программного обеспечения без замены механических компонентов. В автомобилях с электронным управлением будущего Вы сможете подстроить систему контроля под себя нажатием лишь нескольких кнопок. Все очень просто! За последние пятьдесят лет система рулевого управления не сильно изменились. Но в следующем десятилетии наступит эпоха более экономичных автомобилей
www.exist.ru
Назначение и общее устройство рулевого управления автомобиля
Рулевое управление служит для изменения направления движения автомобиля. Изменяют направление при помощи поворота передних направляющих колес.
В рулевое управление входят рулевой механизм и рулевой привод.
Рулевой механизм
Рулевой механизм служит для передачи усилия от рулевого колеса к рулевой сошке.
Рулевой механизм состоит из рулевого колеса 9, рулевого вала 10, рулевой колонки 8, картера 6 с рулевой передачей и вала 5 рулевой сошки 4.

Рис. Схема рулевого управления: 1 — поворотный кулак; 2 — верхний рычаг левого поворотного кулака; 3 — продольная рулевая тяга; 4 — рулевая сошка; 5 — вал рулевой сошки; 6 — картер рулевого механизма; 7 — червяк; 8 — рулевая колонка; 9 — рулевое колесо; 10 — рулевой вал; 11 — ролик; 12 — поперечная рулевая тяга; 13 — наконечник поперечной тяги; 14 — нижняя тяга
На автомобилях применяются главным образом следующие типы рулевых передач: глобоидальный червяк с двух- или с трехгребневым роликом и червяк с боковым сектором.
Рулевая передача, состоящая из глобоидального червяка и ролика, устроена следующим образом. На нижнем конце рулевого вала 8 напрессован глобоидальный червяк 5 (червяк со специальной резьбой). Опорами для червяка служат два роликоподшипника 3. С червяком зацепляется своими гребнями ролик 10, сидящий на шариковых 14 или на игольчатых подшипниках на оси 15, смонтированной в прорези головки 16 вала 11 рулевой сошки 17.

Рис. Рулевая передача с глобоидальным червяком и двухгребневым роликом (автомобили ГАЗ-63 и ГАЗ-51 А): 1 — нижняя крышка картера; 2 — регулировочные прокладки; 3 — роликоподшипник червяка; 4 — картер; 5 — глобоидальный червяк; 6 — пробка заливного отверстия; 7 — верхняя крышка картера; 8 — рулевой вал; 9 — роликоподшипник вала сошки; 10 — двухгребневый ролик; 11 — вал рулевой сошки; 12 — бронзовая втулка; 13 — сальниковое уплотнение; 14 — шарикоподшипник ролика; 15 — ось ролика; 16 — головка вала сошки; 17 — рулевая сошка
При вращении рулевого колеса червяк заставляет находящийся с ним в зацеплении ролик вместе с рулевой сошкой поворачиваться относительно оси вала сошки. Вогнутая форма червяка обеспечивает правильное зацепление пары червяк — ролик в различных положениях рулевой сошки. Установка ролика на подшипниках качения уменьшает потери на трение и износ (при вращении червяка ролик не скользит по поверхности его резьбы, а перекатывается).

Рис. Рулевая передача с цилиндрическим червяком и боковым сектором (автомобили КрАЗ-214 и КрАЗ-219): 1 — сальниковое уплотнение подшипников червяка; 2 — роликоподшипник червяка; 3 — цилиндрический червяк; 4 — рулевой вал; 5 — пробка заливного отверстия; 6 — регулировочные прокладки; 7 — картер; 8 — боковой сектор; 9 — игольчатые подшипники; 10 — пробка сливного отверстия; 11 — сальник; 12 — рулевая сошка
Рулевая передача, состоящая из червяка и бокового сектора, показана на рисунке. Для этой передачи применяется цилиндрический червяк 3. Червяк напрессован на рулевой вал 4 и опирается на два роликоподшипника 2. Червяк находится в зацеплении со спиральными зубьями бокового сектора 8, который выполнен заодно с валом рулевой сошки и вращается в картере 7 на двух игольчатых подшипниках 9. Такого типа передачи применяются на автомобилях большой грузоподъемности, где через рулевое управление передаются большие усилия.
Рулевые передачи размещаются в литом картере, заполненном, маслом. В картере имеются обычно два отверстия: верхнее, закрытое пробкой 5, для заливки масла и нижнее, закрытое пробкой 10, для слива масла. Картер рулевого механизма крепится при помощи болтов к раме автомобиля.
Для обеспечения нормальной работы рулевой передачи в ней регулируются осевой зазор червяка в подшипниках и правильность зацепления передаточной пары.
Рулевая передача значительно облегчает работу водителя. Однако на автомобилях большой грузоподъемности усилие, которое должен прикладывать водитель к рулевому колесу, бывает настолько велико, что уменьшить его, только увеличив передаточное число в рулевой передаче, не удается. Поэтому на автомобилях типа КрАЗ-214 применяются специальные устройства — усилители рулевого управления, которые облегчают управление автомобилем и резко снижают усилие, необходимое для поворота рулевого колеса.
Рулевой привод
Рулевой привод служит для передачи усилия от рулевого механизма к управляемым колесам. Он состоит из рулевой сошки 1, продольной рулевой тяги 7, верхнего рычага 11 левого поворотного кулака, правого и левого нижних рычагов 24 поворотных кулаков 25 и поперечной рулевой тяги 14. Перечисленные детали соединены между собой шарнирно.
Рулевая сошка одним концом жестко связана с наружным концом вала, а другим через продольную рулевую тягу 7 шарнирно соединена с верхним рычагом 11 поворотного кулака 25 левого колеса. Крепление рулевой сошки к валу осуществляется на мелких конусных шлицах при помощи гайки.
Продольная рулевая тяга соединяется с рулевой сошкой и рычагом поворотного кулака при помощи шаровых пальцев 2, закрепленных на концах сошки и рычага. Шаровые пальцы входят в наконечники 5 продольной рулевой тяги, в которых установлены сухари 8. Сухари охватывают шаровые пальцы, под действием сжимающих пружин 4. Пробки 9, ввернутые в наконечники продольной рулевой тяги, дают возможность регулировать затяжку пружин и предохраняют пружины и сухари от выпадания из наконечников тяги. Чтобы пробки не могли самопроизвольно отвертываться, их шплинтуют. Ограничители 3 ограничивают предельное сжатие пружин сухарей при их регулировке. Наличие пружин в соединениях тяг способствует смягчению ударов, передающихся от колес автомобиля. Для защиты шаровых пальцев и сухарей от пыли и грязи места прохода шаровых пальцев в. наконечники тяг закрываются уплотнительными кольцами 10. Смазка к шаровым пальцам и сухарям подводится через масленки 6, установленные на наконечниках продольной рулевой тяги.

Рис. Рулевой привод (автомобиль ГАЗ-51А): 1 — рулевая сошка; 2 — шаровой палец; 3 — ограничитель пружин; 4 — пружина; 5 — наконечник продольной рулевой тяги; 6 и 19 — масленки; 7 — продольная рулевая тяга; 8 — сухари шарового пальца; 9 — пробка; 10 — уплотнительное кольцо; 11 — верхний рычаг поворотного кулака; 12 — гайка крепления рычага поворотного кулака; 13 — ограничитель поворота колес; 14 — поперечная рулевая тяга; 15 — наконечник поперечной рулевой тяги 16 — козырек уплотнительного кольца; 17 — стяжные болты; 18 — конический палец; 20 — пружина; 21 — шайба; 22 — пята конического пальца; 23 — вкладыш конического пальца; 24 — нижний рычаг поворотного кулака; 25 — поворотный кулак
Рычаги поворотных кулаков устанавливаются в отверстиях вилок кулаков на шпонках и крепятся гайками 12, которые затем шплинтуются. Рычаги поворотных кулаков автомобилей с ведущим передним мостом выполняются заодно с крышками подшипников шкворней. Соединение поперечной рулевой тяги с рулевыми рычагами выполнено также шарнирно. Наконечники крепятся на поперечной рулевой тяге при помощи резьбы (с одной стороны правая, с другой — левая) и стяжными болтами 17. Вращением этих наконечников можно изменять длину тяги и тем самым регулировать схождение передних колес.
Для соединения поперечной рулевой тяги с рычагами поворотных кулаков колес используются обычно саморегулирующиеся конические шарнирные соединения. Палец 18 поворотного рычага конической поверхностью прижимается к вкладышу 23 усилием пружины. 20. Вкладыш устанавливается в наконечник поперечной рулевой тяги и от повертывания стопорится винтом, входящим в паз вкладыша. Прижимная пружина верхним концом упирается в пяту 22 пальца, а нижним — в шайбу 21, закрепленную в наконечнике стопорным кольцом. По мере износа конических поверхностей пальца и вкладыша зазор между трущимися поверхностями выбирается перемещением пальца в осевом направлении под действием прижимной пружины.
На автомобилях повышенной проходимости шарнирное соединение поперечной рулевой тяги осуществляется с помощью пальцев и бронзовых втулок. Поперечная рулевая тяга таких автомобилей имеет вильчатые наконечники.
Правильным поворотом направляющих колес является только такой поворот автомобиля, при котором его колеса будут катиться по дороге без скольжения. А это возможно лишь в том случае, если направляющие колеса при повороте автомобиля будут поворачиваться на различные углы, причем внутреннее по отношению к центру поворота колесо должно поворачиваться на больший угол, чем наружное.
Одновременность поворота направляющих колес на необходимые углы обеспечивается рулевой трапецией, которую составляют передняя ось, рулевые рычаги и поперечная рулевая тяга. Правильные соотношения сторон и углов рулевой трапеции выбираются при конструировании автомобиля.
ustroistvo-avtomobilya.ru
