Устройство тормозной системы
Назначение тормозной системы
Тормозная система предназначена для снижения скорости движения и полной остановки (экстренной) автомобиля, а также для удержания на месте неподвижно стоящего автомобиля.
Процесс торможения движущегося автомобиля заключается в создании искусственного сопротивления этому движению. Обычно уменьшение скорости автомобиля вплоть до полной его остановки осуществляется путем создания тормозных сил в контакте колес с дорогой, направленных в сторону, противоположную движению. Тормозные силы необходимы и для удерживания автомобиля на месте.
Тормозная сила создается путем торможения колеса специальным, обычно фрикционным, устройством — тормозным механизмом. Наиболее высокая эффективность торможения требуется в экстренных случаях. Именно на это должна быть рассчитана тормозная система, хотя они составляют не более 1—3% от общего числа использования тормозной системы.
Рабочая тормозная система позволяет водителю снижать скорость движения автомобиля и останавливать его при обычном режиме эксплуатации.
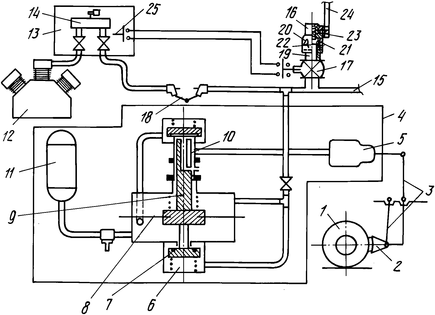
1 — тормозной диск колеса;
2 — скоба тормозного механизма передних колес;
3 — передний тормозной контур;
4 — главный тормозной цилиндр;
5 — бачок с датчиком аварийного падения уровня тормозной жидкости;
6 — вакуумный усилитель;
7 — толкатель;
8 — педаль тормоза;
9 — выключатель света торможения;
10 — тормозные колодки задних колес;
11 — тормозной цилиндр задних колес;
12 — задний контур;
13 — кожух полуоси заднего моста;
14 — нагрузочная пружина;
15 — регулятор давления;
16 — задние тросы;
17 — уравнитель;
18 — передний (центральный) трос;
20 — сигнализатор аварийного падения уровня тормозной жидкости;
21 — выключатель сигнализатора стояночного тормоза;
22 — тормозная колодка передних колес.

Запасная тормозная система позволяет водителю уменьшать скорость движения автомобиля и останавливать его при неисправности рабочей тормозной системы. С целью упрощения конструкции отдельная (автономная) запасная система практически не применяется. Обычно ее роль выполняют оставшиеся исправные части (контуры привода) рабочей тормозной системы или специальным образом спроектированная стояночная тормозная система. Часто на больших автомобилях для повышения надежности используют одновременно оба указанных технических решения.
Стояночная тормозная система позволяет удерживать автомобиль в неподвижном состоянии на наклонной поверхности и при отсутствии водителя.
Вспомогательная тормозная система предназначена для длительного поддержания постоянной скорости, в основном на затяжных спусках. Используемые в остальных тормозных системах фрикционные тормозные механизмы при длительной работе перегреваются и резко снижают эффективность торможения.
Поэтому на некоторых типах автомобилей (автобусы, грузовые автомобили большой грузоподъемности) для поддержания безопасной скорости на длительных спусках применяют вспомогательные механизмы, так называемые тормоза-замедлители.
Автоматическая тормозная система — оборудование, автоматически затормаживающее прицеп при его случайном отделении от тягача.
Содержание:
1. Привод тормозной системы
1.1 Системы тормозов
1.2 Приводы тормозных механизмов
1.3 Механический привод тормозов
1.4 Гидропривод тормозов
1.5 Пневмопривод тормозов
1.6 Усилители тормозных приводов
1.7 Двухконтурные тормозные приводы
1.8 Многоконтурные тормозные приводы
1.9 Приборы тормозного пневмопривода
1.10 Двухсекционный тормозной кран
1.11 Кнопочный тормозной кран
1.12 Двухпроводный привод
1.13 Защитные устройства пневматических приводов
1.
14 Механизмы пневматических тормозных приводов
2. Тормозная система и ее обслуживание
2.1 Как подобрать тормозную жидкость
2.2 Какой ресурс тормозных колодок?
2.3 Как работает АБС
2.4 Устройство антиблокировочной системы
2.5 Стояночная тормозная система
2.6 Как менять тормозные колодки самому
Тормозная система автомобиля
Устройство тормозной системы
Тормозная система авто состоит из двух групп устройств:
- Устройства привода: педаль (выполняет роль рычага), цилиндры, вакуумный усилитель для повышения усилия давления на педаль, бачок, трубопроводы, шланги (у гидроприводов), рычаги, система тяг, всевозможные тросы, наконечники (у механических приводов), воздухозаборник, компрессор, ресивер, дроссель, распределитель, пневмомотор (у пневмоприводов). Привод нужен для создания усилия и передачи воздействия непосредственно от педали к тормозному механизму.
- Тормозные механизмы: диск, суппорт, накладки (для дисковых механизмов) или барабан, колодки, поршень, цилиндр (для барабанных механизмов).
Дисковый механизм монтируют на передних , барабанный – на задних колёсах Тормозной механизм формирует тормозной момент – главное условие для замедления или полной остановки машины.
На картинке представлено устройство системы с гидроприводом и задними барабанными тормозными механизмами:
- Колесный цилиндр заднего барабанного тормоза. Прижимает к барабанам тормозные колодки заднего тормоза. Переносит на колодки давление, полученное в главном цилиндре (мастер-цилиндре).
- Тросовый привод ручного тормоза.
- Уравновешивающий механизм.
- Регулируемая тяга стояночного тормоза (такой тормоз выручает, когда нужно удержать машину на уклонах).
- Рукоятка стояночного тормоза.
- Педаль. Рычажный механизм, формирующий тормозное усилие,пропорциональное силе, прилагаемой к педали.
- Вакуумный усилитель рабочего привода. Работает совместно с главным (мастер-) цилиндром. В бензиновых моторах вакуум создается подключением вакуумной камеры к впускному коллектором, в дизелях – за счёт работы специального вакуумного насоса.

- Шланг тормозного механизма.
- Мастер-цилиндр.
- Суппорт. Предназначен для крепления переднего дискового механизма к неподвижной части подвески колеса.
- Компенсационный бачок. Обеспечивает требуемое количество тормозной жидкости в контуре.
- Механический регулятор тормозных сил в задней оси. В быту – «колдун». Помогает оказать противодействие заносу задней оси транспортного средства, обеспечить пропорциональное торможение каждым из колёс автомобиля минимизировать риски ДТП.
- Рычаг привода регулятора
Виды тормозных систем
Существует несколько классификаций. Самая распространённая – деление по функциональному назначению и применению. В зависимости от этого система может быть четырёх видов.Рабочая. Задействована во всех режимах движения транспорта. Предназначена для снижения скорости транспортного средства до момента полной остановки и кратковременного удержания авто на месте.
Запасная. Нужна для остановки транспортного средства в чрезвычайной ситуации (при выходе из строя базовой – рабочей системы).
Тормозящее действие – существенно меньше. Но в экстренной ситуации его достаточно, чтобы предотвратить аварию.Стояночная. Служит для удержания транспортного средства на месте, предупреждает его самопроизвольное движение. Это, прежде всего, актуальное решение при уклоне дорожного полотна в холмистой местности. Кроме того, для коммерческого транспорта большой грузоподъёмности, автобусов это ещё и отличное подспорье для оптимизации нагрузки на цилиндры основной – рабочей системы. Управляется водителем посредством рычага ручного тормоза.
Вспомогательная. Устанавливается на коммерческом транспорте. Помогает при движении на затяжном спуске. Сохраняет стабильную скорость транспортного средства, снижает нагрузку на колёсный тормоз.
В ряде случаев функции могут совмещаться . Например, функцию запасной системы может взять на себя стояночная система
Кроме того, в зависимости от рабочего тела , за счёт которой система приводится в действие, выделяют следующие типы тормозных систем:
- Гидравлическая.
Это решение используют для легковых автомобилей, внедорожников, микроавтобусов, малогабаритных грузовиков и спецтехники. - Пневматическая. Монтируется на грузовых машинах, погрузчиках, грейдерах, автокранах, бульдозерах.
- Механическая. Привод механическими тягами был использован на первых автомобилях. Но из-за низкого КПД и проблем с равномерным распределением усилия на все колёса, сейчас это решение не актуально .
- Комбинированная (например, может совмещаться гидравлический и пневматический механизм работы).
Физические основы торможения.
Движение авто всегда связано с наличием кинетической энергии. Процесс торможения всегда связан с преобразованием кинетической энергии в тепловую. Тепловая энергия, выделяющаяся при трении диска и колодок рассеивается в окружающую среду.
При рекуперативном торможении часть кинетической энергии преобразуется в электрическую энергию, которая запасается для её использования при разгоне автомобиля.
Принцип рекуперативного торможения долгое время использовался на железнодорожном транспорте, но вскоре он стал базовым и для работы тормозной системы авто.
Принцип действия гидравлической системы
Гидравлическая система реализует следующий принцип:- Водитель нажимает на педаль, мышечное усилие передаётся на поршень главного цилиндра где преобразуется в давление тормозной жидкости.
- Жидкость вытесняется поршнем в гидравлические линии (трубки).
- По трубопроводам жидкость под давление подаётся к исполнительным цилиндрам.
- Срабатывают механизмы торможения.
- Скорость вращения колёс уменьшается.
Рабочим телом в гидравлической системе является жидкость, на 93-98%, состоящая из полигликолей и их эфиров, и на 2-7% — из присадок, предназначенных для защиты деталей от коррозии.
Обладающая высокой плотностью, жидкость не сжимается, и гидропривод срабатывает очень быстро. Еще одно достоинство гидропривода – его самодостаточность. Конструкция не содержит компрессор или иное устройство, зависимое от работы мотора.
При перемещении жидкости по трубопроводу потеря энергии – несущественная, и КПД гидропривода достаточно высок (исключение – работа при температурах ниже минус 30 °С).
Работа тормозной системы с рекуперацией
Принцип же действия тормозной системы с рекуперацией иной:При нажатии на педаль в генераторном режиме запускается электромотор (у электрического и гибридного транспорта) Создаётся тормозной момент на валу мотора.
Начинает вырабатываться электрическая энергия, направляемая в аккумуляторы или суперконденсаторы.
Если транспорт неэлектрический – запасается кинетическая энергия вращения маховика (впоследствии её используют для разгона).
Многие современные автомобили оснащены электронно-управляемой системой торможения, которая одновременно выполняет функции антиблокировочной, пробуксовочной системы; а также оснащена функцией динамической стабилизации транспортного средства.
Решения с рекуперацией способны обеспечить безисносную работу тормоза, кратчайший путь во время торможения с обеспечением высокой курсовой устойчивости, и предотвращение потери сцепления колёс с дорожным полотном.
Конструктивные решения с пневматикой
Отдельного внимания заслуживают решения с пневматикой.- Энергоносителем служит сжатый воздух.
- В работе участвуют компрессор, осушитель, регулятор давления (может быть встроенным в осушитель или самостоятельным устройством) и ресиверы регенерации (компоненты хранения и подачи сжатого воздуха), краны, передаточные устройства.
- Через воздушный фильтр в компрессор, работающий при включенном двигателе, втягивается воздух, и через регулятор и многоконтурный защитный клапан воздух под давлением закачивается в ресиверы. Осушитель оптимизирует состав воздуха, а регулятор — его давление.
Система изнашивается менее интенсивно, чем у решений с гидравликой (воздух менее агрессивен, нежели жидкостный наполнитель, нет риска, что энергоноситель закипит или замёрзнет).На схеме:
- Центральный электронный блок управления.
- Кран EBS.
- Пропорциональный ускорительный клапан.
- Магнитный клапан ABS.
- Модулятор задней оси.
- Разобщающий клапан резервного контура.
- Клапан управления тормозами прицепа.
Деление систем на независимые контуры
Тормозные системы могут быть одноконтурными, двухконтурными и многоконтурными.У одноконтурных решений магистрали всех колёс – передних и задних объединены в одну ветвь, для управления воздухом используется всего один кран. Решение дешёвое, не крайне ненадёжное . На практике его сейчас можно встретить только на некоторых сельскохозяйственных машинах и прицепах с пневматикой, причём речь идёт только о старых моделях машин, новые решения с пневмоприводом ориентированы на несколько контуров.
Если же речь идёт о решениях с гидроприводом, то весьма вероятна разгерметизация, и жидкость вытечет из системы. И здесь об использовании одного контура и вовсе не может быть и речи. Предотвратить риски помогает наличие нескольких контуров. Даже если произойдёт разгерметизация одного из них, хоть и возникнет потеря эффективности, катастрофы можно будет избежать. Ведь контуры подстраховывают друг друга.
Самый распространённый вариант – наличие двух контуров. При этом схемы разделения гидропривода на 2 контура могут быть очень разными:
- 2 +2, параллельное подключение. 1-й контур действует на тормоза передней оси, второй — на заднюю ось). Недостаток—задняя ось обеспечивает не более 40% тормозных сил. Поэтому, если исправен только 2-й контур, длина тормозного пути (ТП) увеличится в 2,5-3 раза.
- 2+ 2 – диагональное подключение. 1-й контур действует на правое переднее и левое заднее колёса, а второй — на левое переднее и правое заднее.
- Подходит для переднеприводных машин.
Неисправность любого из контуров чревата увеличением ТП в два раза. - 4 + 2. 1-й контур действует на все колеса, а второй — только на передние.
Наиболее безопасно, с точки зрения опытных автомехаников, диагональное деление (эффективности удаётся достичь, даже если один из контуров поврежден) и схема разделения 4 + 2.
У грузовых автомобилей, автобусов часто может встречаться 4 и 5 контуров. Это сложные, но очень надёжные конструкции. У каждого контура— своя «зона ответственности (например, передняя ось, задняя тележка, стояночный, аварийное растормаживание), при этом каждый контур независим. Это возможно благодаря присутствию в конструкции специальных разделяющих клапанов.
Многоконтурная пневмосистема оптимизирует уровень устойчивости крупногабаритного транспортного средства, процесс управления им. Кроме того, пневматическая система позволяет без опасения потери рабочего тела подключать и отключать пневмосистемы тягача к прицепу или полуприцепу. При отсоединении прицепа автоматически срабатывает стояночная топливная система.
Диагностика и неисправности тормозной системы
Неисправности тормозного привода или механизма могут быть самыми разными. И каждый из них может стать сигналом нескольких проблем:- При торможении траектория движения начинает непредсказуемо изменяться, непонятная сила «уводит» авто в сторону. Это может свидетельствовать о загрязнении или поломке колодок с одной стороны, заклинивании поршня главного цилиндра, повреждении подвески, рулевого управления, ослабевших или изношенных стяжных болтах рессор. Также такое «поведение» автомобиля возможно при неисправности гидроклапана антиблокировочной системы. Для обнаружения этой неисправности на каждое колесо нужно установить манометры. Если будет обнаружен значительный перепад давления, это прямое указание на такую неисправность.
- Свободный ход педали существенно увеличивается. Такая проблема чаще всего возникает при неисправностях главного рабочего цилиндра, вакуумного усилителя. Если применяется гидравлический привод, то к такой проблеме также может привести его завоздушивание.

- Педаль при нажатии «проваливается», становится «мягкой». Это опять-таки может быть и сигналом появления воздуха в гидравлическом приводе, и сигналом износа главного цилиндра либо повреждения шлангов и трубопроводов.
- Педаль «стопорит», для нажатия приходится прикладывать огромные усилия. Очень часто это вызвано, некорректно установленными колодками или неправильно присоединёнными шлангами (стоит только их демонтировать и поставить правильно – проблема тут же решится), повреждение контуров гидропривода. Также иногда это прямая реакция на заклинивший поршень в колёсном цилиндре.
- При торможении чувствуется биение, вибрации: со стороны педали или со стороны педали и руля. Как правило, это ответная реакция на коробление диска, ослабленное крепление суппорта или износ одного из элементов рулевого управления, подвески.
- Колодки быстро стираются под углом. Главные виновники – неисправные суппорты.
Профилактика тормозной системы
В первую очередь, важно проводить профилактику суппорта. Практика показывает, что профилактику суппорта важно проводить не реже одного раза в два года и при каждой замене колодок. Обязательными мероприятиями является диагностика суппортов, их очистка и смазка.
Для смазки \рекомендуется использовать высокотемпературные, нерастворимые в воде и химически стойкие пастообразные составы, совместимые с эластомерными и пластиковыми деталями. Для этого снимается пылезащитные колпачки и очищаются контактные поверхности, затем равномерно наносится смазка.
Одновременно с профилактикой суппортов проводят замену тормозной жидкости, удаление воздуха из системы.
Важными профилактическими мероприятиями также являются регулировка стояночного тормоза, диагностика вакуумного усилителя, проверка на видимые дефекты шлангов, проверка на износ колодок (для этого замеряется их остаточная толщина).
Своевременный осмотр, диагностика, очистка и обработка деталей смазочными пастами, замена отдельных деталей – это предотвращение дорогостоящего ремонта в будущем.
Для того, чтобы максимально систематизировать знания, проверить уровень своих умений, навыков по этой теме, рекомендуем обратить внимание на электронный интерактивный тренинг и систему проверки знаний «Тормозная система автомобиля» на базе электронной платформы ELECTUDE. Обучающий продукт включает 19 учебных модулей, 15 тестовых модулей. Удобный вариант для дистанционного обучения автомехаников, а также проверки знаний при подборе кандидатов на эту вакансию , проведения аудита и аттестации персонала СТО.
Обучение является модульным. Электронная программа позволяет перейти от азов физики к нюансам взаимной работы, включая роль каждого компонента системы. В обучающую платформу встроен специализированный тренажёр. Поэтому слушателям доступны симуляции различных неисправностей. На конкретных примерах можно отточить навыки и увеличить скорость диагностики, ремонта.
Ещё больше систематизированной информации по системам, устройству автомобиля.
Назначение и типы тормозных систем автомобиля.
Тормозная система автомобиля служит для снижения его скорости или полной остановки.
По назначению выделяют следующие типы тормозных систем: рабочую, резервную и стояночную.
1. Рабочая (основная) тормозная система предназначена для снижения скорости движения автомобиля и для его остановки. Часть системы, которая переносит усилие с педали тормоза на тормозные колодки, называют тормозным приводом.
а. Механический привод осуществляется при помощи тросов и рычагов: механический, пневматический, гидравлический и комбинированный. Из-за его малой эффективности и неудобства обслуживания в современном автомобилестроении практически не используется. Существуют различные виды тормозных приводов.
б. Пневматический привод в своей работе использует разрежение воздуха. В настоящее время распространен на грузовиках и автобусах.
в.
Гидравлический привод приводится в действие благодаря жидкости на основе спирта, гликоля или силикона. Распространен повсеместно.
д. Комбинированный привод использует несколько типов энергоносителей и, ввиду своей сложности, не применяется без крайней необходимости.
2.
Резервная (запасная) тормозная система включается при неисправности рабочей системы. В современном автомобилестроении, как правило, выполнена не автономно, а в составе одной из частей рабочей системы.
3. Стояночная тормозная система, в первую очередь, служит для предотвращения нежелательного самопроизвольного движения автомобиля во время стоянки.
Кроме того, ее используют для облегчения трогания в гору, при длительной остановке в «пробке», для ухода в управляемый занос или при полном отказе рабочей тормозной системы.
Эта система может быть реализована механическим способом (тросы к задним колесам или к трансмиссии) или посредством гидравлики.
История развития тормозных механизмов.
Самый примитивный тормозной механизм, использовавшийся в гужевых повозках,представлял собой деревянную колодку, затормаживающую непосредственно рабочую поверхность колеса.
Эта колодка приводилась в рабочее положение ручным рычагом.
Этот механизм посредством колодок воздействовал на металлический обод колеса и приводился в действие тросами. Ближайший современный аналог — это тормозные механизмы велосипедов.С распространением резиновых шин данный способ торможения стал абсолютно неэффективным, что привело к появлению клещевого колодочного тормоза.
Параллельно с колодочным тормозом появился ленточный механизм.
Гибкая металлическая лента охватывала тормозной барабан. При торможении, посредством рычагов, лента натягивалась, что приводило к затормаживанию колес. Данная система довольно долго использовалась еще и в качестве стояночного тормоза.
В 1910-20-х годах стали появляться барабанные тормоза, которые по своему принципу работы соответствуют современным. Однако, за это время существенно изменились тормозные приводы, пройдя свой путь от раздельного механического до совмещенного гидравлического. Впервые гидравлическая система была применена в 1921 году Малкольмом Локхидом.
Примерно в конце 1920-х конструкторы начали реализовывать системы, снижающие усилие на педаль тормоза. Ввиду сложности конструкции, усилители тормозов использовались только на автомобилях класса люкс.
Их широкое распространение пришлось на 1950-е годы. Этому развитию послужило увеличение скоростных характеристик и динамических качеств автомобилей.
В конце 1950-х начали серийно устанавливать дисковые тормоза. В данной системе колодки прижимаются не к внутренней поверхности барабана, а к наружным плоскостям диска. Этот тормоз конструктивно проще барабанного, обладает лучшей эффективностью, меньшей массой, и он проще в обслуживании.
В усовершенствованном виде такие тормоза используются до сих пор.
Гидравлическая тормозная система.
Получила распространение в 1930-е годы, как альтернатива механическим тормозам. Системы того времени отличались простотой своей конструкции. В тормозном приводе использовались: главный тормозной цилиндр, тормозные трубки и 2 рабочих цилиндра (по одному на каждое заднее колесо). В качестве жидкости использовалось растительное масло. Совершенствование данной системы проходило сразу в нескольких направлениях. Улучшение качества энергоносителя — переход от жидкости на основе растительного масла к жидкости на основе спирта и глицерина, а затем к гликолевым и силиконовым жидкостям. Следующее улучшение — практически повсеместное появление усилителя тормозов — сначала гидро-вакуумного, затем вакуумного. И самое важное нововведение — появление двухконтурной тормозной системы. Дело в том, что при потере герметичности любого из элементов одноконтурной системы, тормоза полностью теряли свою работоспособность.
Если же сломается какой-либо элемент двухконтурной системы, то в качестве резервной тормозной системы продолжит работать один из контуров.
Двухконтурная гидравлическая тормозная система.
Существует несколько основных способов разделить тормозную систему на контуры: поосевой, диагональный и полный. Рассмотрим каждый подробнее.
1. Поосевая система — один контур на передние колеса, второй контур — на задние. Это наиболее простой способ, часто применяемый на автомобилях классической компоновки, например, ВАЗовская «классика». К его достоинствам можно отнести отсутствие увода в сторону при торможении с одним рабочим контуром. Однако, есть важный недостаток — при обрыве переднего контура эффективность торможения значительно падает (примерно на 65%).
2.
Диагональная система — один контур на переднее левое и заднее правое колеса, второй контур — на переднее правое и заднее левое.
К положительным сторонам этого способа можно отнести равномерное распределение нагрузки между контурами. То есть, не зависимо от того, какой контур выйдет из строя, эффективность торможения упадет ровно на 50%.
Главный недостаток — увод от прямолинейного движения при торможении после обрыва одного из контуров. Это связано с тем, что эффективность работы передних тормозных механизмов значительно выше, чем в задних. Данный тип разделения применим в большинстве современных автомобилей.
3. Полная система — значительно сложнее двух предыдущих. Один из контуров работает на все 4 колеса, второй контур — только на передние. При этом, передние тормозные механизмы имеют минимум по 2 полностью независимых цилиндра. Система нашла свое применение на автомобилях Москвич, Волга, Нива.
Выше говорилось, что эффективность передних тормозов легковых автомобилей значительно выше, чем в задних. Поскольку при торможении автомобиля центр тяжести смещается вперед, нагрузка на переднюю ось возрастает, а на заднюю ось — уменьшается.
Соответственно задние колеса имеют худшее сцепление с дорогой, чем передние и при большом тормозном усилии могут сорваться в юз. Это особенно опасно на скользкой дороге или при торможении во время прохождения поворота.
Один из самых простых способов борьбы с этой проблемой — применение на задней оси автомобиля тормозных систем со сниженной эффективностью. Например, на переднюю ось устанавливаются тормозные диски на 14 дюймов, а на заднюю — на 12. Более надежный способ — применение регулятора тормозных усилий. Впервые в отечественном автомобилестроении данный элемент применен на Жигулях ВАЗ-2101. Принцип его работы был не совсем понятен рядовым автолюбителям, поэтому его в народе прозвали «колдун». Регулятор имеет в своей конструкции клапан, частично перекрывающий тормозную жидкость и снижающий ее давление. Регулятор обычно закрепляют под днищем автомобиля, а от клапана ведут тягу к задней балке. При торможении автомобиля его задняя подвеска разгружается, увеличивается расстояние между днищем и балкой, а тяга перекрывает клапан, снижая тормозное усилие.
Существуют регуляторы, снижающие усилие постоянно, не зависимо от загруженности подвески. Такие регуляторы ранее применялись на ВАЗ-1111; в настоящее время нашли применение на корейских автомобилях эконом-класса.
Стояночная тормозная система.
На большинстве современных легковых автомобилей применяют механический стояночный тормоз, представляющий собой рычаг и систему тросов.
Если задние тормоза барабанные, то тросы присоединяются к распоркам колодок. При наличии на задней оси дисковых механизмов, осуществить механический способ подключения стояночной тормозной системы сложно, поэтому часто применяют отдельные барабанные стояночные механизмы.
В автоспорте нашел применение гидравлический тормозной привод. При его применении давление жидкости передается на задний контур поосевой тормозной системы или на задние магистрали диагональной системы (причем, в обход регулятора тормозных усилий).
Гидравлический привод обладает большей эффективностью, чем механический, и позволяет точно дозировать усилие. Поэтому его используют для увода автомобиля в управляемый занос. Однако, эта система не подходит для повседневного использования, так как не позволяет оставить машину на длительной стоянке. Дело в том, что давление в системе постепенно снижается и колодки отпускаются.
Проверка технического состояния тормозных систем.
Для проверки стояночной системы в «гаражных» условиях рычаг затягивают до упора, включают первую передачу и плавно отпускают сцепление. Если система работает, то двигатель заглохнет.
Проверка рабочей тормозной системы в «домашних» условиях малоэффективна. Ее начинают с осмотра. Оценивают уровень тормозной жидкости в бачке, проверяют систему на отсутствие подтеков жидкости. При нажатии педали тормоза во время движения, должны блокироваться все колеса. При этом автомобиль не должно вести в сторону, недопустимы вибрации педали тормоза и ее провалы, срабатывание тормоза не с первого «качка», появление посторонних скрипов и увеличение тормозного пути.
Для более точной диагностики необходимо обращаться в сервисный центр. Полную проверку необходимо проводить не реже, чем через каждые 50000 км.
Тормозная система — устройство и принцип действия
Тормозная система автомобиля предназначена для снижения скорости его движения, а также для остановки и удержания на месте при стоянке.
Тормозная система является важнейшим средством обеспечения безопасности движения автомобиля, поэтому к ней предъявляются различные требования, регламентированные государственным стандартом и международными правилами.
К тормозной системе автомобиля предъявляют следующие требования:
1) сохранение устойчивости при торможении;
2) минимальный тормозной путь;
3) стабильность тормозных свойств при неоднократном торможении;
4) малое усилие тормозной педали;
5) пропорциональность между усилием на педаль и приводным моментом;
6) отсутствие органолептических явлений;
7) надежность всех элементов тормозной системы.
Кроме этого элементы тормозной системы должны иметь гарантированную прочность, не выходить из строя в течение гарантированного срока службы, а также в системе торможения должна быть предусмотрена специальная сигнализация, оповещающая водителя о неисправности системы.
При эксплуатации автомобиля и тормозной системы необходимо соблюдать следующие правила:
1) после установки новых тормозных колодок необходимо воздержаться от полного торможения на протяжении первых 200 км пробега;
2) каждый раз после прохождения автомобиля по луже и перед стоянкой необходимо просушить тормоза в движении, нажав несколько раз на педаль торможения;
3) если при прохождении поворота наблюдается изменение хода педали тормоза, необходимо проверить бой внешнего диаметра тормоза и в случае необходимости заменить тормозной диск;
4) при выполнении очистки тормозной системы необходимо избегать вдыхания тормозной пыли, поскольку эта пыль очень вредна для здоровья;
5) перед проведением технического обслуживания тормозной системы необходимо очистить каждый ее элемент от грязи.
Кроме этого необходимо помнить, что на мокрой дороге, а также в зимнее время под воздействием соли и песка тормозные диски могут сильно загрязняться, что, в свою очередь, снижает эффективность торможения.
Тормозное управление автомобиля должно включать в себя следующие системы:
1) рабочую;
2) запасную;
3)стояночную;
4) вспомогательную (тормоз-замедлитель).
Рабочая тормозная система применяется при всех режимах движения автомобиля для снижения скорости до полной остановки. Рабочая тормозная система приводится в действие усилием, прилагаемым к педали ножного тормоза. Эта система обладает наибольшей эффективностью по сравнению с другими видами тормозных систем.
Запасная тормозная система предназначена для остановки автомобиля в том случае, когда рабочая тормозная система не функционирует. Запасная тормозная система обладает немного меньшим тормозящим действием, чем рабочая система.
Функции запасной тормозящей системы, как правило, выполняет исправная часть рабочей тормозной системы либо полностью стояночная система.
Стояночная тормозная система предназначена для удержания на месте остановленного автомобиля. Стояночная система исключает самопроизвольное движение автомобиля. Управление системой стояночного торможения осуществляется при помощи рычага ручного тормоза.
Вспомогательная тормозная система является обязательной для автобусов, полная масса которых превышает 5 тонн, а также для грузовых автомобилей полной массой более 12 тонн. Вспомогательная система предназначена для торможения на длительных спусках. Эта система должна сохранять скорость автомобиля до 30 км/ч на спуске с уклоном не более 7% на протяжении не менее 6 км. На некоторых автомобилях роль вспомогательной тормозной системы играет двигатель, выпускной трубопровод которого перекрывается специальной заслонкой. Кроме этого в ряде случаев замедление движения может осуществляться при переводе двигателя в компенсационный режим.
В общем виде тормозная система включает в себя тормозной механизм и тормозной привод.
Тормозные механизмы препятствуют вращению колес, в результате этого между колесами автомобиля и дорожным покрытием появляется тормозная сила, останавливающая транспортное средство. Тормозные механизмы размещаются на передних и задних колесах.
Тормозной привод передает усилие от тормозной педали на тормозные механизмы. Тормозной привод может быть механическим, гидравлическим и пневматическим. Механический привод в качестве привода рабочей тормозной системы в настоящее время не применяется. Гидропривод применяется на всех легковых и грузовых автомобилях, полная масса которых не превышает 7,5 тонны, на автомобилях большей массы гидропривод тормозной системы применяется в сочетании с пневматическим приводом.
Гидравлический привод включает в себя:
1) главный тормозной цилиндр;
2) рабочий тормозной цилиндр; 1
3) гидровакуумный усилитель;
4) трубопровод;
5) педаль тормоза с элементами крепления.
При нажатии на педаль тормоза поршень главного цилиндра оказывает давление на жидкость, которая по трубопроводам перетекает к рабочим цилиндрам. Жидкость передает усилие нажатия тормозным механизмам колес, которые преобразуют это усилие в сопротивление вращению колес и вызывают торможение автомобиля. Если педаль тормоза отпустить, то жидкость перестанет оказывать давление на тормозные механизмы и перетечет обратно к главному тормозному механизму, сопротивление вращению колес пропадет, и автомобиль прекращает тормозить. Гидровакуумный усилитель гидропривода создает дополнительные усилия, которые передаются на тормозные механизмы и облегчают управление тормозной системой.
Для повышения работоспособности тормозной системы автомобиля в приводе применяют различные устройства, которые сохраняют ее работоспособность в случае частичного отказа тормозной» системы. Например, разделитель, предназначенный для автоматического отключения при торможении часто неисправного привода в момент отказа.
Устройство тормозной системы на Газель ГАЗ-3302, 2705, проверка
Автомобиль Газель ГАЗ-3302 и ГАЗ-2705 имеет три независимые тормозные системы: рабочую, запасную и стояночную. Привод рабочей тормозной системы на Газель гидравлический. Она двухконтурная (разделена на передний и задний контуры), с вакуумным усилителем, регулятором давления и датчиком аварийного падения уровня тормозной жидкости в бачке.
Запасная система образована каждым контуром рабочей. При отказе одного из контуров тормозной системы второй контур обеспечивает торможение автомобиля, хотя и с меньшей эффективностью. Стояночная система – механическая, с тросовым приводом от ручного рычага на тормозные колодки задних колес.
Устройство тормозной системы на Газель ГАЗ-3302 и ГАЗ-2705, рабочая и стояночная тормозная система, особенности конструкции, проверка вакуумного усилителя тормозов.
На автомобилях Газель ГАЗ-3302 и ГАЗ-2705 установлена двухконтурная рабочая тормозная система. Привод системы гидравлический.
Для облегчения управления приводом на автомобиле предусмотрен вакуумный усилитель. Тормозные механизмы передних колес дисковые, задних — барабанные.
Узлы и детали тормозной системы на Газель ГАЗ-3302 и ГАЗ-2705.
Схема рабочей тормозной системы на Газель ГАЗ-3302 и ГАЗ-2705.
Диски тормозных механизмов передних колес вентилируемые. Они установлены на ступице и прикреплены к ней шестью болтами. Тормозной суппорт плавающего типа прикреплен двумя болтами к поворотному кулаку. Для защиты рабочих поверхностей диска установлен тормозной щит, препятствующий попаданию грязи и влаги а также обеспечивающий охлаждение диска. Минимально допустимая остаточная толщина накладок передних тормозных колодок 3 мм. Минимально допустимая толщина изношенного диска 19 мм.
Устройство тормозного механизма переднего колеса на Газель ГАЗ-3302 и ГАЗ-2705.
Тормозные колодки тормозного механизма заднего колеса приводятся в действие одним рабочим цилиндром двухстороннего действия.
В цилиндр с натягом установлены два разрезных металлических упорных кольца, каждое кольцо соединено с поршнем. Узел поршень-упорное кольцо выполняет роль автоматического устройства, поддерживающего постоянный зазор между фрикционными накладками колодок по мере их износа и рабочей поверхностью барабана при не заблокированном заднем тормозе.
Устройство тормозного механизма заднего колеса на Газель ГАЗ-3302 и ГАЗ-2705.
В тормозном щите предусмотрено отверстие, закрытое заглушкой, для визуального контроля состояния фрикционных накладок тормозных колодок. Минимальная допустимая толщина накладок задних тормозных колодок – 1 мм. Максимально допустимый внутренний диаметр тормозного барабана – 283 мм.
Предельно допустимые и регулировочные размеры тормозной системы на Газель ГАЗ-3302 и ГАЗ-2705.
1. Минимально допустимая толщина фрикционных накладок тормозных колодок, мм:
— тормозного механизма переднего колеса: 3
— тормозного механизма заднего колеса: 1
2.
Минимально допустимая толщина тормозного диска, мм: 19
3. Максимально допустимый диаметр барабана тормозного механизма заднего колеса, мм: 283
4. Ход педали тормоза, мм:
— полный: 150
— свободный: 3-5
5. Зазор между регулировочным болтом и торцом крышки вакуумного усилителя тормозной системы, мм: 1,35-1,65
6. Расстояние между центрами оси стойки и отверстием под ось в кронштейне заднего моста для отладки регулятора давления, мм: 13-17
Вакуумный усилитель рабочей тормозной системы на Газель ГАЗ-3302 и ГАЗ-2705, особенности конструкции.
За счет разрежения во впускной трубе двигателя вакуумный усилитель тормозной системы при торможении создает дополнительное усилие на толкатель поршня главного тормозного цилиндра пропорционально усилию на педали.
Вакуумный усилитель соединен с впускной трубой через шланг и обратный клапан, который удерживает разрежение в усилителе при падении разрежения во впускной трубе двигателя. В передний торец толкателя усилителя ввернут регулировочный болт с контргайкой, обеспечивающий требуемый зазор для правильной работы главного тормозного цилиндра.
Главный тормозной цилиндр рабочей тормозной системы на Газель ГАЗ-3302 и ГАЗ-2705, особенности конструкции.
Главный тормозной цилиндр типа «тандем» состоит из двух раздельных камер сжатия и создает давление в двух независимых контурах передних и задних тормозных механизмов. Первая камера управляет цилиндрами тормозных механизмов задних колес, вторая — цилиндрами тормозных механизмов передних колес.
Полость бачка главного тормозного цилиндра разделена на два отсека каждый из которых питает одну из камер главного цилиндра. В пробке бачка установлен датчик уровня тормозной жидкости. Лампа загорающаяся по его сигналу, показывает, что герметичность тормозной системы нарушена. При отсутствии утечек жидкости ее уровень в бачке главного тормозного цилиндра должен находиться между метками МАХ и MIN. По мере изнашивания тормозных накладок уровень понижается.
Регулятор давления рабочей тормозной системы на Газель ГАЗ-3302 и ГАЗ-2705, особенности конструкции.
Регулятор давления при торможении корректирует давление тормозной жидкости в рабочих цилиндрах тормозных механизмов задних колес.
Исключая возможность блокировки задних колес раньше передних. Регулятор закреплен на раме и через нагрузочную пружину реагирует на нагрузку воспринимаемую задним мостом.
Устройство стояночной тормозной системы на Газель ГАЗ-3302 и ГАЗ-2705, особенности конструкции.
Стояночная тормозная система механическая, с тросовым приводом от рычага, установленного в кабине водителя, к тормозным механизмам задних колес. При воздействии на рычаг через систему тросов и рычагов колодки тормозных механизмов прижимаются к барабанам, затормаживая автомобиль.
Детали стояночной тормозной системы на Газель ГАЗ-3302 и ГАЗ-2705.
Рычаг фиксируется в поднятом положении с помощью храпового механизма, состоящего из собачки и зубчатого сектора. При поднятом рычаге выключатель, расположенный на кронштейне крепления рычага, включает контрольную лампу в комбинации приборов.
Трубопроводы тормозной системы на Газель ГАЗ-3302 и ГАЗ-2705 с двигателями ЗМЗ-4063, ЗМЗ-40522 и ГАЗ-5602.
Проверка работы вакуумного усилителя тормозов рабочей тормозной системы на Газель ГАЗ-3302 и ГАЗ-2705.
Проверяйте работоспособность вакуумного усилителя, если повысилось усилие нажатия на педаль тормоза. Для этого несколько раз нажмите на педаль тормоза до упора при неработающем двигателе и, удерживая педаль в нажатом положении, пустите двигатель. Из-за перепада давления в полостях усилителя тормозная педаль должна переместиться вперед.
Если этого не происходит, проверьте герметичность соединений шланга вакуумного усилителя и при необходимости устраните подсос воздуха. Если и это не даст положительного результата, то усилитель неисправен и его необходимо заменить.
Проверка герметичности вакуумного усилителя тормозов рабочей тормозной системы на Газель ГАЗ-3302 и ГАЗ-2705.
Для того чтобы проверить герметичность вакуумного усилителя, откройте капот и пустите двигатель на 1 минуту. Приблизительно через 30 секунд после того, как двигатель был заглушен, нажмите два раза на тормозную педаль.
При этом должно прослушиваться характерное шипение входящего в усилитель воздуха. В противном случае усилитель замените.
Продуйте шланг с обратным клапаном с обоих концов. Воздух должен проходить только со стороны обратного клапана. В противном случае замените обратный клапан.
Похожие статьи:
- Аккумуляторные батареи с общей крышкой, устройство, соединение в батарею свинцовых аккумуляторов точечной контактной электросваркой и газовой сваркой, герметизации пластмассой.
- Автомобильные аккумуляторные батареи с отдельными крышками, устройство, опорная призма, моноблок, электроды, сепаратор, мостик, борн, крышка, пробка, перемычка.
- Маркировка автомобильных свинцовых стартерных аккумуляторных батарей по ГОСТ 959-2002, DIN, ETN, European Type Number, SAE.
- Двигатель ЗМЗ–40522.
10 для ГАЗель и Соболь, внешний вид, характеристики, применяемое топливо, моторное масло и охлаждающая жидкость. - Автомобиль скорой медицинской помощи АСМП ГАЗ-221727 Соболь Бизнес, назначение, характеристики, комплектация и оборудование медицинского салона.
- Автомобили ГАЗель Классик категории N1 и M2, ГАЗ-33027, ГАЗ-33023, ГАЗ-330273, ГАЗ-330232, ГАЗ-27057, ГАЗ-3221, ГАЗ-32217, ГАЗ-32213, ГАЗ-322173, ГАЗ-32212 и ГАЗ-322132.
Устройство и принцип работы тормозной системы автомобиля | канал мужика «всё обо всём»
Тормозная система автомобиля (англ. — brake system) относится к системам активной безопасности и предназначена для изменения скорости движения автомобиля вплоть до его полной остановки, в том числе экстренной, а также удержания машины на месте в течение длительного периода времени. Для реализации перечисленных функций применяются следующие виды тормозных систем: рабочая (или основная), запасная, стояночная, вспомогательная и антиблокировочная (система курсовой устойчивости).
Совокупность всех тормозных систем автомобиля называется тормозным управлением.
Содержание [Скрыть]
Рабочая (основная) тормозная системаСхема тормозной системы автомобиляСхема тормозной системы автомобиля
Главное предназначение рабочей тормозной системы заключается в регулировании скорости движения автомобиля вплоть до его полной остановки.
Основная тормозная система состоит из тормозного привода и тормозных механизмов. На легковых автомобилях применяется преимущественно гидравлический привод.
РЕКЛАМА
Гидропривод состоит из:
- главного тормозного цилиндра (ГТЦ)
- вакуумного усилителя
- регулятора давления в задних тормозных механизмах (при отсутствии АВS)
- блока ABS (при наличии)
- рабочих тормозных цилиндров
- рабочих контуров
Главный тормозной цилиндр преобразует усилие, сообщаемое водителем педали тормоза, в давление рабочей жидкости в системе и распределяет его по рабочим контурам.
Для увеличения силы, создающей давление в тормозной системе, гидропривод оснащается вакуумным усилителем.
Регулятор давления предназначен для уменьшения давления в приводе тормозных механизмов задних колес, что способствует более эффективному торможению.
Виды контуров тормозной системыВиды контуров тормозной системы
Контуры тормозной системы, представляющие собой систему замкнутых трубопроводов, соединяют между собой главный тормозной цилиндр и тормозные механизмы колес.
Контуры могут дублировать друг друга или осуществлять только свои функции. Наиболее востребована двухконтурная схема тормозного привода, при которой пара контуров работает диагонально.
Запасная тормозная системаЗапасная тормозная система служит для экстренного или аварийного торможения при отказе или неисправности основной. Она выполняет те же функции, что и рабочая тормозная система, и может функционировать и как часть рабочей системы, и как самостоятельный узел.
Стояночная тормозная системаОсновными функциями и назначением стояночной тормозной системы являются:
Схема стояночного тормозаСхема стояночного тормоза
- удержание транспортного средства на месте в течение длительного времени
- исключение самопроизвольного движения автомобиля на уклоне
- аварийное и экстренное торможение при выходе из строя рабочей тормозной системы
Основой тормозной системы являются тормозные механизмы и их приводы.
Тормозная система
Тормозной механизм служит для создания тормозного момента, необходимого для торможения и остановки транспортного средства. Механизм устанавливается на ступице колеса, а принцип его работы основан на использовании силы трения. Тормозные механизмы могут быть дисковыми или барабанными.
Конструктивно тормозной механизм состоит из статичной и вращающейся частей. Статичную часть у барабанного механизма представляет тормозной барабан, а вращающуюся – тормозные колодки с накладками. В дисковом механизме вращающаяся часть представлена тормозным диском, неподвижная – суппортом с тормозными колодками.
Управляет тормозными механизмами привод.
Гидравлический привод не является единственным из применяемых в тормозной системе. Так в системе стояночного тормоза используется механический привод, представляющий собой совокупность тяг, рычагов и тросов. Устройство соединяет тормозные механизмы задних колес с рычагом стояночного тормоза. Также существует электромеханический стояночный тормоз, в котором используется электропривод.
В состав тормозной системы с гидравлическим приводом могут быть включены разнообразные электронные системы: антиблокировочная, система курсовой устойчивости, усилитель экстренного торможения, система помощи при экстренном торможении (Brake Assist System).
Существуют и другие виды тормозного привода: пневматический, электрический и комбинированный. Последний может быть представлен как пневмогидравлический или гидропневматический.
Принцип работы тормозной системыРабота тормозной системы строится следующим образом:
- При нажатии на педаль тормоза водитель создает усилие, которое передается к вакуумному усилителю.
- Далее оно увеличивается в вакуумном усилителе и передается в главный тормозной цилиндр.
- Поршень ГТЦ нагнетает рабочую жидкость к колесным цилиндрам через трубопроводы, за счет чего растет давление в тормозном приводе, а поршни рабочих цилиндров перемещают тормозные колодки к дискам.
- Дальнейшее нажатие на педаль еще больше увеличивает давление жидкости, за счет чего срабатывают тормозные механизмы, приводящие к замедлению вращения колес.
Давление рабочей жидкости может приблизиться к 10-15 МПа. Чем оно больше, тем эффективнее происходит торможение. - Опускание педали тормоза приводит к ее возврату в исходное положение под действием возвратной пружины. В нейтральное положение возвращается и поршень ГТЦ. Рабочая жидкость также перемещается в главный тормозной цилиндр. Колодки отпускают диски или барабаны. Давление в системе падает.
Важно! Рабочую жидкость в системе нужно периодически менять. Сколько тормозной жидкости потребуется на одну замену? Не более литра-полутора.Основные неисправности тормозной системы
В таблице ниже приведены наиболее распространенные неисправности тормозной системы автомобиля и способы их устранения.
СимптомыВероятная причинаВарианты устраненияСлышен свист или шум при торможенииИзнос тормозных колодок, их низкое качество или брак; деформация тормозного диска или попадание на него постороннего предметаЗамена или очистка колодок и дисковУвеличенный ход педалиУтечка рабочей жидкости из колесных цилиндров; попадание воздуха в тормозную систему; износ или повреждение резиновых шлангов и прокладок в ГТЦЗамена неисправных деталей; прокачка тормозной системыУвеличенное усилие на педаль при торможенииОтказ вакуумного усилителя; повреждение шланговЗамена усилителя или шлангаЗаторможенность всех колесЗаклинивание поршня в ГТЦ; отсутствие свободного хода педалиЗамена ГТЦ; выставление правильного свободного хода
ЗаключениеТормозная система является основой безопасного движения автомобиля.
Поэтому на нее всегда должно быть обращено пристальное внимание. При неисправности рабочей тормозной системы эксплуатация транспортного средства запрещается полностью.
Тормозная система
Одной из ключевых систем транспортного средства (ТС) является тормозная система. Она необходима для управляемого изменения скорости машины, ее остановки и удержания на месте продолжительный период времени. Данная система действует за счет тормозной силы, возникающая между колесом и поверхностью дорогой. Создаваться тормозная сила может несколькими способами: колесным тормозным механизмом, электрическим либо гидравлическим тормозом-замедлителем в трансмиссии, силовым агрегатом.
Для осуществления вышеуказанных функций на ТС устанавливаются несколько видов тормозных систем: рабочая, стояночная, запасная.
Рабочая тормозная система отвечает за управляемое снижение скорости транспортного средства и его полную остановку.
Для удержания ТС на месте продолжительное время используется стояночная тормозная система.
В случае сбоя рабочей системы применяется запасная тормозная система. Ее функции аналогичны функциям рабочей системы. Может быть как автономной системой, так и частью рабочей – один из контуров тормозного привода.
Легковой и грузовой автотранспорт оснащают разными системами и устройствами, призванными улучшить эффективность тормозной системы и устойчивость при торможении, например: усилитель экстренного торможения, антиблокировочная система, усилитель тормозов и т.д.
Тормозная система: устройство и особенности
Тормозная система объединяет тормозной механизм и тормозной привод.
Посредством тормозного механизма создается тормозной момент, требуемый для снижения скорости и остановки автомобиля. Транспортные средства оснащаются фрикционными тормозными механизмами, которые функционируют за счет сил трения. В рабочей системе тормозные механизмы находятся непосредственно в колесе.
В стояночной системе могут находиться за раздаточной коробкой либо коробкой передач.
От конструкции фрикционной части зависит, какой вид тормозных механизмов будет использован на автомобиле: барабанные либо дисковые.
Конструкция тормозного механизма включает 2 части: неподвижная и вращающаяся. Неподвижной частью барабанного механизма являются тормозные ленты либо колодки, вращающейся частью – тормозной барабан.
Вращающейся частью дискового механизма является тормозной диск, а неподвижной частью – тормозные колодки. В современных ТС на передней и задней осях, как правило, устанавливаются дисковые механизмы.
Конструкция дискового тормозного механизма включает тормозной диск и 2 неподвижных колодки (крепятся внутри суппорта с двух сторон).
Суппорт фиксируется на кронштейне. В пазах суппорта предусмотрены рабочие цилиндры, в функцию которых входит прижимание тормозных колодок к диску в момент торможения.
В процессе торможения тормозной диск подвергается сильному нагреванию. Его охлаждение выполняется естественным образом за счет потока воздуха. Чтобы улучшить отвод тепла, в поверхности диска проделывают отверстия. На спортивные машины чаще всего устанавливают керамические диски, что обеспечивает стойкость к перегреву и более эффективное торможение.
С помощью пружинных элементов тормозные колодки прижимаются к суппорту. Колодки имеют специальные фрикционные накладки. На современных транспортных средствах тормозные колодки, как правило, имеют специальный датчик износа, который в определенный момент сигнализирует о необходимости замены изношенных деталей.
За управление тормозными механизмами отвечает тормозной привод. В тормозных системах могут использоваться несколько типов тормозных приводов: электрический, механический, пневматический, гидравлический, комбинированный.
Стояночная тормозная система использует механический привод.
Такой привод являет собой систему рычагов, тяг и тросов. Данная система соединяет рычаг стояночного тормоза с тормозным механизмом задних колес. Механический привод включает рычаг привода, рычаги привода колодок, тросы с регулируемыми наконечниками, уравнитель тросов.
На некоторых транспортных средствах стояночный тормоз работает от ножной педали. В настоящее время в стояночной системе все чаще применяется электропривод, при этом само устройство имеет название – электромеханический стояночный тормоз.
В рабочей тормозной системе в качестве основного используется гидравлический привод. Его конструкция включает следующие элементы: педаль тормоза, главный тормозной цилиндр, усилитель тормоза, цилиндры колесные, трубопроводы, шланги соединительные.
Усилие от ноги водителя передается через тормозную педаль главному тормозному цилиндру. Благодаря усилителю тормозов создается дополнительное усилие. Наиболее широкое применение получил вакуумный усилитель.
Главный тормозной цилиндр выполняет функции по созданию давления тормозной жидкости и ее нагнетанию к тормозным цилиндрам. На современных ТС используется тандемный (сдвоенный) главный тормозной цилиндр, способный создавать давление сразу для 2-х контуров. Расширительный бачок (необходим для доливки тормозной жидкости) находится над главным цилиндром.
Колесный цилиндр отвечает за срабатывание тормозного механизма, то есть прижатие колодок к тормозному барабану (диску).
Для осуществления тормозных функций работа элементов гидропривода организована по независимым контурам. В случае поломки одного контура, его функции будет осуществлять другой контур. Кроме того, рабочие контура могут не только выполнять свои функции, они способны дублировать друг друга, реализовывать часть функций друг друга. В настоящее время наиболее востребованной считается схема, в которой 2 контура работают диагонально.
На современном автотранспорте в состав гидравлического тормозного привода входят всевозможные электронные системы, такие как электронная блокировка дифференциала, усилитель экстренного торможения, антиблокировочная система тормозов, система распределения тормозных усилий.
На грузовом автотранспорте в тормозной системе задействован пневматический привод. Что касается комбинированного привода, то он состоит из нескольких типов приводов. В качестве примера можно привести привод электропневматический.
Тормозная система: принцип действия
Принцип действия тормозной системы будет рассмотрен на примере гидравлической рабочей системы.
Когда нажимается педаль тормоза, возникает нагрузка, которая передается к усилителю. Далее усилитель увеличивает нагрузку на главном цилиндре. Поршень главного цилиндра через трубопроводы подает жидкость к колесным цилиндрам, при этом давление жидкости увеличивается в тормозном приводе. Поршни колесных цилиндров подводят тормозные колодки к тормозным барабанам (дискам).
Давление жидкости будет увеличиваться при дальнейшем удерживании педали тормоза, при этом происходит срабатывание тормозных механизмов, что приводит к замедлению вращения колес и образованию тормозных сил в точке контакта автомобильных шин с поверхностью дороги.
Чем больше приложена сила к тормозной педали, тем эффективнее происходит торможение колес. Давление жидкости может достигать отметки в 10–15 МПа.
При окончании торможения педаль принимает исходное положение под воздействием возвратной пружины. В исходное положение также возвращается поршень главного цилиндра. Пружинные элементы отводят тормозные колодки от барабанов (дисков). Тормозная жидкость по трубопроводам вытесняется в главный цилиндр. Снижается давление в системе.
Стоит отметить, что благодаря системам активной безопасности можно существенно улучшить эффективность тормозной системы.
Типы тормозных систем и типы тормозов
В большинстве тормозов используется трение с двух сторон колеса, коллективное нажатие на колесо преобразует кинетическую энергию движущегося объекта в тепло. Например, рекуперативное торможение превращает большую часть энергии в электрическую, которая может быть сохранена для дальнейшего использования. Вихретоковые тормоза используют магнитные поля для преобразования кинетической энергии в электрический ток в тормозном диске, лезвии или рельсе, который преобразуется в тепло.
Ниже приведены наиболее распространенные типы тормозных систем в современных автомобилях. Всегда полезно знать, какие из них подходят вашему автомобилю, чтобы упростить поиск и устранение неисправностей и обслуживание.
Гидравлическая тормозная система:
Эта система работает на тормозной жидкости, цилиндрах и трении. Создавая давление внутри, эфиры гликоля или диэтиленгликоль заставляют тормозные колодки останавливать движение колес.
• Сила, создаваемая в гидравлической тормозной системе, выше по сравнению с механической тормозной системой.
• Гидравлическая тормозная система считается одной из важных тормозных систем современных автомобилей.
• В случае гидравлической тормозной системы вероятность отказа тормозов очень низка. Прямое соединение между приводом и тормозным диском или барабаном снижает вероятность отказа тормоза.
Электромагнитная тормозная система:
Электромагнитные тормозные системы можно найти во многих современных и гибридных транспортных средствах. Электромагнитная тормозная система использует принцип электромагнетизма для торможения без трения.Это способствует увеличению срока службы и надежности тормозов. Кроме того, традиционные тормозные системы склонны к проскальзыванию, в то время как это поддерживается быстрыми магнитными тормозами. Таким образом, без трения и необходимости смазки эта технология предпочтительнее для гибридов. Кроме того, он имеет довольно скромные размеры по сравнению с традиционными тормозными системами. В основном используется в трамваях и поездах.
Чтобы заставить работать электромагнитные тормоза, когда магнитный поток проходит в направлении, перпендикулярном направлению вращения колеса, мы видим быстрый ток, текущий в направлении, противоположном вращению колеса.Это создает силу, противоположную вращению колеса, и замедляет колесо.
Преимущества электромагнитной тормозной системы:
• Электромагнитное торможение — быстрое и дешевое.
• При электромагнитном торможении нет затрат на техническое обслуживание, таких как периодическая замена тормозных колодок.
• Использование электромагнитного торможения позволяет повысить производительность системы (например, более высокие скорости, большие нагрузки).
• Часть энергии подается в источник, следовательно, эксплуатационные расходы снижаются.
• При электромагнитном торможении выделяется незначительное количество тепла, тогда как при механическом торможении на тормозных колодках выделяется огромное количество тепла, что приводит к отказу тормозов.
Серво тормозная система:
Также известно как вакуумное или вакуумное торможение. В этой системе давление, прикладываемое водителем к педали, увеличивается.
Они используют вакуум, который создается в бензиновых двигателях системой забора воздуха во впускной трубе двигателя или с помощью вакуумного насоса в дизельных двигателях.
Тормоз, в котором усилитель мощности используется для уменьшения человеческих усилий. В автомобиле вакуум в двигателе часто используется для того, чтобы большая диафрагма изгибалась и приводила в действие цилиндр управления.
• Усилители серво-тормозной системы, используемые с гидравлической тормозной системой. Размер цилиндра и колес практически используется. Вакуумные усилители увеличивают тормозное усилие.
• При нажатии на педаль тормоза сбоку от усилителя сбрасывается разрежение. Разница в давлении воздуха толкает диафрагму для торможения колеса.
Механическая тормозная система:
Механическая тормозная система приводит в действие ручной или аварийный тормоз. Это тип тормозной системы, в которой тормозное усилие, прикладываемое к педали тормоза, передается на конечный тормозной барабан или дисковый ротор с помощью различных механических соединений, таких как цилиндрические стержни, точки опоры, пружины и т. Д., Для остановки транспортного средства.
Механические тормоза использовались в нескольких старых автомобилях, но в настоящее время они устарели из-за своей меньшей эффективности.
Типы тормозов:
ТОРМОЗ ДИСКОВЫЙ
Дисковый тормоз — это механизм для замедления или остановки вращения колеса от его движения. Дисковый тормоз обычно изготавливается из чугуна, но в некоторых случаях он также изготавливается из композитов, таких как углерод-углерод или композиты с керамической матрицей. Это связано с колесом и / или осью. Чтобы остановить колесо, фрикционный материал в виде тормозных колодок прижимается к обеим сторонам диска. Из-за трения на диске колесо замедлится или остановится.
БАРАБАННЫЕ ТОРМОЗА
Барабанный тормоз — это традиционный тормоз, при котором трение вызывается набором колодок или колодок, которые прижимаются к вращающейся части в форме барабана, называемой тормозным барабаном.
Термин «барабанный тормоз» обычно означает тормоз, при котором колодки давят на внутреннюю поверхность барабана. Там, где барабан зажат между двумя колодками, как в стандартном дисковом тормозе, его иногда называют «пережимным барабанным тормозом», хотя такие тормоза встречаются относительно редко.
Компоненты тормозной системы вашего автомобиля> Columbia Auto Care & Car Wash
Многое зависит от ваших тормозов. Собственно, вся ваша машина. Не говоря уже о вас и ваших пассажирах. Ох, и все остальные водители на дороге. Эти тормоза очень важны, и их необходимо поддерживать в отличном состоянии, чтобы они работали на должном уровне. Итак, как работает тормозная система и какие компоненты входят в состав тормозной системы вашего автомобиля?
Как работают тормоза
Не знаю, откуда она взялась, но помню старую покрышку, валявшуюся во дворе, когда я был ребенком.Мы с братьями иногда катали эту шину по двору или по подъездной дорожке. Когда я хотел, чтобы шина перестала катиться, я хватал ее за стороны и сжимал. Трение моих рук о боковины в конечном итоге остановило шину. Позже я узнал, что десятискоростной велосипед останавливается примерно так же. Я мог выжать тормозной рычаг, который прижал пару резиновых тормозных колодок к колесу. И снова возникшее трение остановило мой байк.
Тот же принцип применим к вашему автомобилю, грузовику или внедорожнику.Тормозная система принимает кинетическую энергию движущегося автомобиля и преобразует ее в тепловую энергию за счет трения. Эта энергия используется, чтобы замедлить и остановить вашу металлическую машину весом более четырех тысяч фунтов. Концепция та же; оборудование, ну это немного сложнее.
Например, там, где велосипед может использовать трос для активации тормозов, автомобиль полагается на гидравлику. Насос, расположенный в моторном отсеке, главный цилиндр, воздействует на гидравлическое масло в тормозных магистралях каждый раз, когда вы нажимаете педаль тормоза.Эта сила ощущается в каждом углу транспортного средства, где зажимные устройства, суппорты, сжимают пару тормозных колодок против вращающихся металлических дисков (роторов), прикрепленных к каждому колесу. Тормозные колодки захватывают роторы, как эти резиновые колодки захватывают колесо велосипеда. Трение и тепло приводят к остановке колес и вашего автомобиля.
В то время как большинство транспортных средств на дорогах сегодня оснащены четырехколесными дисковыми тормозными системами, некоторые старые легковые и грузовые автомобили на дороге (и некоторые новые грузовики) имеют барабанные тормоза.Обычно используемые для задних колес (хотя некоторые автомобили имели четырехколесные барабанные тормоза много лет назад), барабанные тормоза имеют полый цилиндр ( барабан ), прикрепленный к оси, которая вращается вместе с колесом. Когда вы нажимаете на тормоз, пара тормозных колодок давит на внутреннюю часть барабана, а не на внешнюю часть ротора. Барабанные тормоза могут обеспечить большее тормозное усилие, чем дисковые тормоза пропорционального размера. Кроме того, они служат дольше и дешевле в производстве. Но барабанные тормоза сложнее обслуживать.Они тяжелые, сохнут долго и могут быстро перегреваться. Дисковые тормоза стали стандартом для большинства современных автомобилей.
Антиблокировочная система тормозов
Вместе с тормозами работает антиблокировочная тормозная система, или АБС. Когда вы резко тормозите в экстренной ситуации, на рыхлом гравии или на скользкой поверхности, ваши колеса могут заблокироваться и перестать вращаться. Если бы это произошло, количество шины, соприкасающейся с дорогой, уменьшилось бы до небольшого участка резины.Недостаточно, чтобы остановить вас. Конечно, недостаточно, чтобы позволить вам управлять. Когда ваши передние колеса перестают вращаться, вы теряете способность управлять автомобилем. Таким образом, АБС предотвращает заклинивание шин.
Как это сделать? Специальные датчики скорости вращения колес, расположенные в каждой ступице колес, постоянно определяют скорость ваших колес. Компьютер (модуль ABS) отслеживает данные с датчиков и знает, когда одно из ваших колес изменило скорость. Если вы нажмете на педаль тормоза и одно или несколько колес перестают вращаться, модуль ABS дает команду насосу попеременно накачивать и отпускать тормоза до пятнадцати раз в секунду.Быстрое сжатие и отпускание позволяет автомобилю замедляться и останавливаться без полной остановки колес, что позволяет сохранять управляемость. В некоторых случаях вы можете прекратить раньше; в других случаях остановка может занять немного больше времени. Но в любом случае вы сможете держать свою машину под контролем.
Компоненты тормозной системы
Когда дело доходит до отдельных компонентов вашей тормозной системы, это зависит от того, есть ли у вас четырехколесные дисковые тормоза (вероятно, так), четырехколесные барабанные тормоза (гораздо менее вероятно) или их комбинация. спереди и барабаны сзади (возможно).Тем не менее, вот краткая разбивка каждого компонента тормозной системы.
• Главный цилиндр и усилитель тормозов . Главный цилиндр — это гидравлический насос, который приводится в действие педалью тормоза. К насосу прикреплен резервуар для тормозной жидкости и вакуумный усилитель мощности, чтобы облегчить нажатие на педаль.
• Ротор . Тормозной ротор — это тяжелый металлический диск, прикрепленный к колесу (фактически, к ступице колеса). Он вращается вместе с колесом и шиной.Тормозные роторы со временем изнашиваются из-за всего приложенного к ним трения. Они также подвержены перегреву, если вы склонны к агрессивному вождению или перевозите тяжелые грузы.
• Колодки тормозные . Тормозные колодки предназначены для захвата тормозного ротора. Жертвенный фрикционный материал колодок входит в контакт с ротором при торможении, создавая трение и тепло, используемое для передачи кинетической энергии в тепловую. Материалы тормозных колодок бывают самых разных составов, от органических до керамических и полуметаллических.У каждого типа тормозных колодок есть свои достоинства и недостатки.
• Тормозные колодки . Как и тормозные колодки, тормозные колодки создают трение, чтобы остановить ваш автомобиль. Но обувь чаще встречается на автомобилях прошлых десятилетий или на грузовиках. Представьте себе чашу, крутящуюся на гончарном круге, или ленивую сьюзан. Если бы вы залезли в миску, раздвинули руки и надавили бы на внутреннюю часть миски, вы создадите сопротивление. Это в основном то, что делают тормозные колодки внутри тормозного барабана.
• Тормозной барабан . Когда ротор захватывается снаружи тормозными колодками, тормозной барабан захватывается изнутри парой тормозных колодок.
• Суппорт и кронштейн суппорта. Тормозной суппорт — это гидравлический зажим, который прижимает тормозные колодки к ротору в ответ на усилие, прилагаемое вашей педалью тормоза через насос главного цилиндра. Кронштейн суппорта удерживает суппорт на месте и подвешивает тормозные колодки по обе стороны от ротора.
• Колесный цилиндр .В установке барабанного тормоза нет суппорта. Вместо этого гидравлическое устройство, называемое колесным цилиндром, раздвигает тормозные колодки и прижимает их к внутренней части барабана.
В дополнение к этим компонентам тормозной системы есть и другие второстепенные детали: крепежные зажимы, прокладки, направляющие, штифты и тому подобное. Эти компоненты могут быть небольшими и казаться незначительными, но отсутствующий зажим или корродированный штифт могут помешать правильной работе тормозов — или вообще. Вот почему выбор дешевого сервиса тормозов — плохой вариант при ремонте тормозов.Качественный сервис тормозов должен включать в себя все необходимые запчасти и аксессуары. Если вы слышите визг при нажатии на педаль тормоза или замечаете, что горит сигнальная лампа тормоза, запишитесь на прием к квалифицированному специалисту в проверенной ремонтной мастерской.
Columbia Средства по уходу за автомобилем и автомойка | Автор: Майк Алес | Авторское право
Эта статья предназначена только в качестве общего руководства, и вы полагаетесь на ее материалы на свой страх и риск. Используя этот общий руководящий документ, вы соглашаетесь защищать, освобождать от ответственности и оградить Columbia Auto Care & Car Wash и ее дочерние компании от любых претензий, убытков, издержек и расходов, включая гонорары адвокатов, возникающих в связи с вашими или связанными с ними. использование этого руководящего документа.В той мере, в какой это полностью разрешено действующим законодательством, Columbia Auto Care & Car Wash не делает никаких заявлений или гарантий любого рода, явных или подразумеваемых, в отношении информации, содержания или материалов, включенных в этот документ. Это резервирование прав должно быть настолько широким и всеобъемлющим, насколько это разрешено законодательством государства вашего проживания.
Что такое антиблокировочная тормозная система?
Работа антиблокировочной тормозной системы: ABS или антиблокировочная тормозная система — это часть защитного оборудования, которое предотвращает блокировку колес транспортного средства в аварийных, панических или резких условиях торможения.Антиблокировочная тормозная система значение, преимущества: Как работает антиблокировочная тормозная система? Тормоза с АБС останавливаются быстрее? Что лучше ABS или не-ABS? В этом определении антиблокировочной тормозной системы мы стремимся ответить на эти общие вопросы. АБС или антиблокировочная тормозная система — это часть защитного оборудования, которое предотвращает блокировку колес транспортного средства в аварийных условиях, в панике или в условиях резкого торможения. Благодаря последним правилам безопасности почти все четырехколесные и двухколесные автомобили в настоящее время оснащены АБС.В случае резкого торможения существует вероятность немедленной потери сцепления между шинами и дорожным покрытием. Это может вызвать занос шин. Ситуация усугубляется, когда все это происходит бесконтрольно. В таком случае транспортное средство продолжает движение, и потеря сцепления с дорогой может привести к тому, что водитель или гонщик потеряют контроль над управлением транспортным средством. Это, в свою очередь, может привести к аварии. Здесь на помощь приходит АБС!
Как работает антиблокировочная тормозная система?
Работа антиблокировочной тормозной системы или ABS включает следующие процессы:
- В автомобиле датчики скорости вращения колес расположены на колесах, которые контролируют скорость каждого колеса.Электронный блок управления (ЭБУ) считывает сигнал с каждого датчика. После того, как датчики скорости обнаруживают, что скорость любого колеса (колес) резко снижается по сравнению с другими, ЭБУ посылает сигнал на клапаны соответствующего колеса (колес), чтобы уменьшить тормозное давление, и клапаны закрываются.
- После этого колеса снова начинают ускоряться, и сигнал еще раз отправляется на ЭБУ, который, в свою очередь, отправляет сигнал на открытие клапана и увеличение тормозного давления, и, следовательно, срабатывают тормоза.
- Цикл повторяется до тех пор, пока включение тормозов не станет нормальным.
В чем преимущество антиблокировочной тормозной системы или ABS?
Когда работает АБС, тормоза включаются и отпускаются несколько раз за одну секунду, и, следовательно, система гарантирует, что колеса не заблокируются при резком торможении. Автомобиль замедляется, сохраняя сцепление с дорогой, а имеющаяся тяга также позволяет водителю управлять рулем. Это помогает водителю управлять автомобилем, чтобы избежать аварии.Таким образом, усовершенствованная антиблокировочная тормозная система предлагает значительные преимущества по сравнению с обычными тормозами.
Получите текущие цены на акции с BSE, NSE, рынка США и последние данные NAV, портфель паевых инвестиционных фондов, ознакомьтесь с последними новостями IPO, наиболее эффективными IPO, рассчитайте свой налог с помощью калькулятора подоходного налога, узнайте лучших игроков рынка, лучших проигравших и лучший капитал Фонды. Поставьте нам лайк на Facebook и подпишитесь на нас в Twitter.
Financial Express теперь в Telegram. Нажмите здесь, чтобы присоединиться к нашему каналу и оставаться в курсе последних новостей и обновлений Biz.
Дай мне тормоз: взгляд на тормозные системы
Крис Гросеник,
Технология авиационных тормозных систем перешла от использования силы тяжести и простых гидроцилиндров к чрезвычайно сложным системам с большим количеством проводов и трубопроводов. На всех самолетах используются одни и те же базовые типы тормозных систем, сложность которых определяется размером и типом самолета.
На самолетах размера King Air и меньше обычно используются узлы с одним или двумя дисками с несколькими поршнями.Самолеты большего размера обычно используют многодисковые тормоза с полным корпусом держателя поршня и от четырех до пяти пар ротор / статор. Более старые большие самолеты, созданные во время Второй мировой войны, используют тормоза с расширяющейся трубой, которые хорошо подходят для более медленных самолетов с поршневым двигателем, но не имеют требований к поглощению энергии для более быстрых и тяжелых реактивных двигателей. Современные тормозные системы больших самолетов, такие как системы 747, должны поглощать крутящий момент в миллионы фут-фунтов, который преобразует импульс приземляющегося самолета в более низкие скорости вращения и, конечно же, тепло.
Тормозные узлы
Тормозные узлы изготовлены из тех же основных материалов. В малых дисковых тормозах используются стальные роторы и алюминиевые поршни и корпуса (рис. 1). Они работают как автомобильные тормоза, и их конструкция очень проста. Компоненты некоторых крупных самолетов с несколькими дисковыми тормозами в сборе изготовлены из магния и бериллия, и эти системы используются в основном в военной сфере. Наиболее распространенными компонентами многодисковых тормозов являются алюминиевый корпус поршня, саморегулирующиеся механизмы, стальные пластины статора, роторы из углеродистого композита и стальная торсионная трубка, которая удерживает все вместе (Рисунок 2.).
Тормозные системы для малогабаритных самолетов просты в конструкции и эксплуатации. Типичные компоненты включают резервуар для жидкости, главные цилиндры для обеих педалей руля направления, трубопроводы / шланги к тормозному узлу и сам тормоз. Типичные установки показаны на Рисунке 3 на странице 32. Эти системы обычно называют независимыми тормозными системами, поскольку они не используют внешние источники энергии.
Силовые тормозные системы
В самолетах, таких как авиалайнеры, бизнес-джеты и военные самолеты, используются системы торможения с усилителем, которые используют давление гидравлической системы самолета.Конструктивные особенности и двигательные установки играют роль в том, какой тип тормозной системы использует самолет. В небольших турбовинтовых самолетах используется обычная система с главным цилиндром, поскольку силовая установка может использоваться в диапазоне реверсивной тяги для обеспечения существенного торможения.
Большие турбовинтовые двигатели также используют реверсивную тягу, но по-прежнему нуждаются в механической тормозной системе просто из-за общего веса и необходимости установки противоскольжения. Реверсеры тяги, реверсивный шаг и тормозные системы работают вместе, чтобы остановить самолет, но они также обеспечивают друг другу резервные системы в случае неисправности или повреждения самолета.Некоторые распространенные компоненты тормозной системы для больших самолетов включают в себя следующее: дозирующие клапаны силового тормоза, дозирующие клапаны ведомого тормоза, стопорные клапаны, селекторные клапаны, антипробуксовочные приводы, противоскользящие клапаны, гидравлические предохранители, челночные клапаны, аккумуляторы, демпферные клапаны, шарнирное соединение. шарниры и датчики давления.
Когда пилот / второй пилот наступает на верхнюю часть педалей руля направления, механическая связь устанавливает золотник в дозирующем клапане силового тормоза (Рисунок 4, страница 33). Этот клапан измеряет давление в тормозных узлах через ряд других клапанов для перемещения поршней и сжатия «стопки» статора / ротора на тормозном узле.Уложенные друг на друга роторы прикреплены шпонками к внутренней части половины колеса, а статоры — к установленной на стойке торсионной трубке. Величина необходимого торможения выбирается перемещением педалей, что позволяет большему или меньшему давлению через клапан в зависимости от величины хода педали. Эта функция измерения определяет, какое давление действует на тормозные поршни и, следовательно, какое тормозное усилие создается. (Помните, что сила равна давлению, умноженному на площадь [F = PxA].) Это важное понятие при обсуждении противоскольжения.
Гидравлические системы
В зависимости от самолета несколько гидравлических систем обеспечивают надежность и резервирование, при этом некоторые системы используют до трех источников питания для тормозов. Запорные клапаны, селекторные клапаны и челночные клапаны используются для направления и управления этими другими источниками давления. Следующим основным дозирующим устройством в системе является противоскользящий клапан, который измеряет давление в зависимости от входов и условий системы противоскольжения.После клапанов противоскольжения давление проходит через предохранители, предохранительные клапаны и челночные клапаны к тормозам. Когда в тормозных системах все больше использовались резиновые шланги, после противоскользящих клапанов требовались предохранители и челночные клапаны, поскольку резиновые шланги регулярно выходили из строя. Широкое использование шлангов Teflon® позволило проектировать системы с возможностью перемещения предохранителей, поскольку они намного более надежны и устойчивы к разрыву. Предохранители представляют собой устройства, чувствительные к потоку, которые пропускают определенный объем потока до отключения потока и давления ниже по потоку, а челночные клапаны используются для разделения нормальных и альтернативных / аварийных источников давления, причем некоторые из них вместо этого устанавливаются на тормозном узле. дальше вверх по течению.
Противоскользящие системы
Системы противоскольжения являются неотъемлемой частью тормозных систем больших самолетов и используются во время руления, взлета и посадки. Когда самолет входит в занос, управление по курсу нарушается, и эти системы работают по принципу сброса дозируемого давления, что позволяет пилоту применять максимальное тормозное усилие. Компоненты системы противоскольжения включают датчики скорости вращения колес, компьютер / процессор, индикатор неисправности и клапан противоскольжения (Рисунок 5, страница 34.). Эти системы также имеют несколько режимов, включая защиту от приземления, защиту от блокировки колеса и сброс перепада давления. Во время посадки защита от приземления запрещает задействовать тормоза до того, как колеса окажутся под нагрузкой. Защита заблокированных колес — это функция обычного процесса измерения системы, а сброс перепада давления использует скорость самолета в зависимости от скорости отдельного колеса, чтобы тормоза не смещались в одну сторону во время максимального торможения.
При взлете или посадке раскрутка колес приводит в действие датчики скорости вращения колес, которые являются не чем иным, как генераторами постоянного тока.Эти маленькие генераторы посылают сигнал (напряжение) на компьютер / процессор противоскольжения, а компьютер обрабатывает и сравнивает сигналы, поступающие от отдельных детекторов. Когда обнаруживается быстрое падение напряжения, компьютер интерпретирует это как неизбежное состояние заноса и отправляет команду на крутящий момент электрогидравлического сервоклапана в клапане противоскольжения. Изнутри сервоклапан направляет давление на золотник, который сдвигает и сбрасывает часть или все приложенное давление из дозирующего клапана тормоза для возврата.Тормозное действие меньше из-за уменьшения давления и ускорения колеса. Датчик скорости вращения колеса определяет увеличенное вращение и передает большее напряжение на компьютер, который сообщает клапану противоскольжения, чтобы он измерял золотник в другом направлении и прикладывал большее давление к тормозному узлу. Эта система с замкнутым контуром измеряет давление до диапазона базовой скорости от 20 до 40 узлов в зависимости от самолета и выполняет много циклов в секунду, чтобы обеспечить плавное замедление. На авиалайнерах с несколькими тормозами, от двух до четырех на грузовик в большинстве случаев, система противоскольжения определяет скорость вращения колес на обеих передачах, и если одна передача замедляется больше, чем другая, система будет сбрасывать давление на противоположной стороне, чтобы сохранить самолет от трогания с одной стороны взлетно-посадочной полосы.В более старых самолетах используется более примитивная система, в которой используются трехходовые электромагнитные клапаны вместо электрогидравлического сервоклапана и аналоговое управление с теми же датчиками скорости вращения колес, которые используются на новых самолетах.
Большинство современных авиалайнеров имеют систему автоматического торможения, которая работает вместе с системой противоскольжения. Входы в процессор поступают от датчиков скорости вращения колес и инерциальной системы отсчета и останавливают измерение давления ниже 10 узлов. Пилоту по-прежнему необходимо поддерживать управление по курсу с помощью румпеля или педалей руля направления, а уровень торможения можно выбрать, чтобы обеспечить ряд вариантов торможения.Большие самолеты также оснащены системой противодействия пробуксовке. Эта система обычно не зависит от противоскольжения и используется для остановки вращения колеса до втягивания шестерни. Большие вращающиеся колеса развивают гироскопический момент, который может препятствовать или останавливать втягивание шестерни, особенно когда на каждую стойку шестерни приходится от двух до четырех вращающихся шин. В этих системах используется повышенное гидравлическое давление, передаваемое через челночные клапаны к тормозам, или приводы, которые устанавливают регулирующие клапаны силового тормоза для нормального включения тормозов.
Системы экстренного торможения
Системы экстренного торможения используются по-разному на разных самолетах, но все они имеют несколько общих черт. На самолетах GA нет особой необходимости в резервной гидравлической тормозной системе из-за низких посадочных скоростей, но по мере увеличения веса самолета даже при низких посадочных скоростях требуется какая-то резервная тормозная система. Турбовинтовые двигатели имеют функцию обратного шага, а в больших самолетах используются несколько источников давления для обеспечения избыточности торможения.Множественные системы обычно состоят из аккумулятора и одного или двух альтернативных источников от других бортовых гидроэнергетических систем (Рисунок 6). Альтернативные источники подключаются к системе перед клапанами противоскольжения и не работают иначе, чем обычная система. Аварийные системы обычно обходят систему противоскольжения и, в зависимости от емкости аккумулятора, имеют от пяти до 20 применений, прежде чем торможение будет потеряно. Естественно, что с увеличением размера и сложности самолета растет и количество альтернативных / аварийных вариантов и функций торможения.
Прочие указания по технике безопасности
Здесь уместны некоторые указания по технике безопасности при горячих тормозах и удалении воздуха из тормозной системы. Горячие тормоза не представляют большой проблемы для легких самолетов, но на более тяжелых самолетах они могут привести к повреждению самолета и травмам. Никогда не приближайтесь к предполагаемому или действительному горячему тормозу лицом к половине колеса или ступице, всегда подходите лицом к протектору ребром и не обрызгивайте горячие тормоза водой или огнетушащим веществом, если только не возникнет пожар или неминуемая опасность.Одним из признаков горячих тормозов на больших / высокопроизводительных самолетах является спущенная шина. В этих шинах есть пробки для плавления, которые сбрасывают давление в перегретой шине до того, как давление поднимется до уровня, достаточного для разрушения обода и взрыва. Прокачка тормозов — важная функция технического обслуживания, которой иногда пренебрегают. Воздух в тормозной системе вызывает сбои в работе системы противоскольжения, что может привести к срабатыванию предохранителей и снижению эффективности торможения. Всегда следуйте руководству по техническому обслуживанию и используйте правильное оборудование, чтобы прокачать тормоза, короткие пути здесь могут иметь катастрофические результаты.
При таком большом количестве различных самолетов здесь сложно адекватно описать все тормозные системы. Некоторые из них сложнее других, и это влияет на надежность больше, чем на избыточность. Всегда изучайте руководство по техническому обслуживанию конкретного самолета и используйте опыт и общие системные знания для понимания и обслуживания тормозных систем.
Об авторе
Крис Гросеник — специалист по обеспечению качества в Исследовательском центре НАСА в Лэнгли, Хэмптон, Вирджиния.Он имеет сертификат A&P, а также является частным пилотом.
Дополнительные ресурсы
Гудрич: www.goodrich.com/fus/products/brakes/default.asp
Мессье-Бугатти: www.messier-bugatti.com/company
Parker Aerospace, Cleveland Wheels & Brakes: www.parker.com/cleveland
Тестирование гидравлической тормозной системы автомобиля
Товар
Пожалуйста, оставьте это поле пустым.
Имя *
Электронная почта *
Название компании *
Телефон *
Адрес
Город
StateAlaskaAlabamaArkansasArizonaCaliforniaColoradoConnecticutDelawareFloridaGeorgiaHawaiiIowaIdahoIllinoisIndianaKansasKentuckyLouisianaMassachusettsMarylandMaineMichiganMinnesotaMissouriMississippiMontanaNorth CarolinaNorth DakotaNebraskaNew HampshireNew JerseyNew MexicoNevadaNew YorkOhioOklahomaOregonPennsylvaniaRhode IslandSouth CarolinaSouth DakotaTennesseeTexasUtahVirginiaVermontWashingtonWisconsinWest VirginiaWyomingDistrict Колумбия
Страна ArubaAfghanistanAngolaAnguillaÅland IslandsAlbaniaAndorraUnited Арабского EmiratesArgentinaArmeniaAmerican SamoaAntarcticaFrench Южный TerritoriesAntigua и BarbudaAustraliaAustriaAzerbaijanBurundiBelgiumBeninBonaire, Синт-Эстатиус и SabaBurkina FasoBangladeshBulgariaBahrainBahamasBosnia и HerzegovinaSaint BarthélemyBelarusBelizeBermudaBolivia, многонациональное государство ofBrazilBarbadosBrunei DarussalamBhutanBouvet IslandBotswanaCentral Африканский RepublicCanadaCocos (Килинг) IslandsSwitzerlandChileChinaCôte d’IvoireCameroonCongo, Демократическая Республика theCongoCook IslandsColombiaComorosCape VerdeCosta RicaCubaCuraçaoChristmas IslandCayman IslandsCyprusCzech RepublicGermanyDjiboutiDominicaDenmarkDominican RepublicAlgeriaEcuadorEgyptEritreaWestern SaharaSpainEstoniaEthiopiaFinlandFijiFalkland остров (Мальвинские острова) ФранцияФарерские островаМикронезия, Федеративные Штаты ГабонВеликобританияГрузияГернсиГанаГибралтарГвинеяГваделупаГамбияГвина-БисауЭкваториальная ГвинеяГрецияГренадаG reenlandGuatemalaFrench GuianaGuamGuyanaHong Island KongHeard и McDonald IslandsHondurasCroatiaHaitiHungaryIndonesiaIsle из ManIndiaBritish Индийского океана TerritoryIrelandIran, Исламская Республика ofIraqIcelandIsraelItalyJamaicaJerseyJordanJapanKazakhstanKenyaKyrgyzstanCambodiaKiribatiSaint Киттс и NevisKorea, Республика ofKuwaitLao Народная Демократическая RepublicLebanonLiberiaLibyaSaint LuciaLiechtensteinSri LankaLesothoLithuaniaLuxembourgLatviaMacaoSaint Мартин (французская часть) MoroccoMonacoMoldova, Республика ofMadagascarMaldivesMexicoMarshall IslandsMacedonia, бывшая югославская Республика ofMaliMaltaMyanmarMontenegroMongoliaNorthern Mariana IslandsMozambiqueMauritaniaMontserratMartiniqueMauritiusMalawiMalaysiaMayotteNamibiaNew CaledoniaNigerNorfolk IslandNigeriaNicaraguaNiueNetherlandsNorwayNepalNauruNew ZealandOmanPakistanPanamaPitcairnPeruPhilippinesPalauPapua Новый GuineaPolandPuerto Рико, Корейская Народно-Демократическая Республика, Португалия, Парагвай, Палестина, Государство Французская Полинезия, Катар, Реюньон, Роман iaRussian FederationRwandaSaudi ArabiaSudanSenegalSingaporeSouth Джорджия и Южные Сандвичевы IslandsSaint Елены, Вознесения и Тристан-да CunhaSvalbard и Ян MayenSolomon IslandsSierra LeoneEl SalvadorSan MarinoSomaliaSaint Пьер и MiquelonSerbiaSouth SudanSao Томе и PrincipeSurinameSlovakiaSloveniaSwedenSwazilandSint Маартен (Голландская часть) SeychellesSyrian Arab RepublicTurks и Кайкос IslandsChadTogoThailandTajikistanTokelauTurkmenistanTimor-LesteTongaTrinidad и TobagoTunisiaTurkeyTuvaluTaiwan, провинция ChinaTanzania, Объединенная Республика Уганда Украина Малые отдаленные острова США Уругвай Соединенные Штаты Узбекистан Святое море (Ватикан) Сент-Винсент и Гренадины Венесуэла, Боливарианская Республика Виргинские острова, Британские Виргинские острова, США.Сан-Вьетнам ВануатуУоллис и Футуна Самоа ЙеменЮжная Африка Замбия Зимбабве
Почтовый индекс *
Комментарий
Рынок автомобильных тормозных систем оценивается в
Нью-Йорк, 22 января 2020 г. (GLOBE NEWSWIRE) — Reportlinker.com объявляет о выпуске отчета «Глобальный рынок автомобильных тормозных систем — рост, тенденции и прогноз (2019–2024 гг.)» — https: // www. reportlinker.com/p05778144/?utm_source=GNW
Постановления правительства привели к тому, что автомобильные компании во всем мире стали использовать АБС в каждом производимом автомобиле.Таким образом, ожидается, что передовые технологии, такие как ABS, которые разрабатываются производителями автомобильных тормозов, будут стимулировать рост рынка автомобильных тормозных систем в последние годы.
Факторы, такие как усиление внимания к решениям по безопасности транспортных средств в связи с ростом числа дорожно-транспортных происшествий во всем мире и увеличение продаж коммерческих автомобилей в связи с ростом сектора электронной коммерции, что приводит к росту логистики. промышленность, вероятно, подтолкнет развитие автомобильных тормозных систем; таким образом, что приведет к росту рынка в ближайшие годы.
Развитие передовой технологии электродвигателя, также известной как тормозная система с электронным управлением, устраняет необходимость в насосах, шлангах, ремнях, жидкостях, цилиндрах и вакуумных сервоприводах с использованием электронных датчиков и электрических приводов. Ожидается, что рост продаж электромобилей и гибридных автомобилей приведет к увеличению спроса на систему с проводным тормозом, которая предоставит возможности роста для различных игроков на рынке в ближайшие годы.
Объем отчета
Тормоз — это механическое устройство, которое препятствует движению, поглощая энергию от движущейся системы.Тормоза используются для замедления или остановки движущегося транспортного средства. Автомобильная тормозная система известна как группа механических, электронных и гидравлически активируемых компонентов, которые используют тепло / трение для остановки движущегося транспортного средства. Наиболее распространенными типами автомобильных тормозов, доступных на рынке, являются гидравлические, фрикционные, насосные, электромагнитные и сервоприводы. Исследование рынка автомобильных тормозных систем включает такие продукты, как дисковые тормоза и барабанные тормоза, материалы тормозных колодок, такие как органические, металлические и керамические, различные каналы продаж, такие как производители оригинального оборудования (OEM) и вторичный рынок, а также типы транспортных средств. , например, легковые и коммерческие автомобили.
Ключевые тенденции рынка
Ожидается, что сегмент керамики будет расти высокими темпами
В настоящее время сегмент керамики (материал тормозных колодок) занимает наибольшую долю среди всех сегментов. Автомобильные тормозные колодки, изготовленные из керамических материалов, более плотные и долговечные, чем тормозные колодки, изготовленные из любого другого материала. Кроме того, керамические тормозные колодки также имеют тонкие медные волокна, которые встроены в тормоза, что способствует увеличению трения и теплопроводности тормозов.Кроме того, керамика является наиболее предпочтительным материалом для производителей автомобильных тормозов из-за различных свойств, которыми обладает материал, таких как низкий уровень шума при нажатии на тормоза, меньшее количество пыли во время износа, а также большая надежность в различных условиях движения. , повышенное внимание к этому сегменту должно привести к его расчетному высокому среднегодовым темпам роста.
Ожидается, что в Азиатско-Тихоокеанском регионе будет наблюдаться самый высокий рост
На рынке автомобильных тормозных систем ожидается, что в течение прогнозируемого периода рост в Азиатско-Тихоокеанском регионе будет более значительным.Китай — один из крупнейших автомобильных рынков мира. Растущая китайская экономика и рост располагаемых доходов населения Китая увеличили спрос на автомобили в стране. Кроме того, низкие производственные затраты в Китае способствовали росту производства автомобилей в Китае. Более того, рост числа аварий в Индии привел к повышению безопасности, особенно в автомобилях среднего уровня. Чтобы свести к минимуму такие инциденты, правительство Индии обязало все автомобильные компании установить антиблокировочные тормозные системы на свои автомобили к апрелю 2019 года.Таким образом, ожидается, что такие разработки будут стимулировать рост рынка автомобильных тормозных систем в Азиатско-Тихоокеанском регионе.
Конкурентная среда
Рынок автомобильных тормозных систем фрагментирован, на нем присутствуют различные игроки. Advics Co. Ltd — ведущий игрок на рынке. Рынок определяется тенденцией производства автомобилей, уровнем замены послепродажного обслуживания и покупательской деятельностью ключевых игроков.
Среди других игроков на рынке — Akebono Brake Industry Co., Brembo SpA, Continental AG, ZF TRW CO. И т. Д., Которые составляют более 50% рынка. Различные инициативы и инновационные продукты, реализованные компаниями, привели их к усилению своего присутствия на рынке. Например, в 2018 году Brembo SpA анонсировала Flexira — новую концепцию высокопроизводительного суппорта. Технология, применяемая в компактном фиксированном суппорте Brembo, была задумана и разработана таким образом, чтобы его можно было устанавливать в ограниченном пространстве, сохраняя при этом функциональность и характеристики, типичные для фиксированного суппорта.
Причины для покупки этого отчета:
— Таблица рыночной оценки (ME) в формате Excel
— Настройка отчета в соответствии с требованиями клиента
— 3 месяца поддержки аналитиков
Прочтите полный отчет: https: //www.reportlinker. com / p05778144 /? utm_source = GNW
О Reportlinker
ReportLinker — это отмеченное наградами решение для исследования рынка. Reportlinker находит и систематизирует самые свежие отраслевые данные, чтобы вы могли мгновенно получать все необходимые исследования рынка в одном месте.
__________________________
Как использовать антиблокировочные тормоза
Когда ваши колеса блокируются на мокрой и скользкой дороге или во время панической остановки, вы можете потерять сцепление с дорогой и управляемость, что приведет к пробуксовке вашего автомобиля. Антиблокировочная система тормозов предотвращает блокировку ваших колес, поэтому ваш автомобиль сохраняет контроль над направлением движения, даже если вы не можете вовремя полностью остановиться. Если у вас есть антиблокировочная тормозная система (АБС), убедитесь, что у вас есть скидка на страховку вашего автомобиля.
ABS разработана для того, чтобы помочь вам сохранить контроль над автомобилем в ситуациях экстренного торможения, а не заставлять его останавливаться быстрее. Хотя ABS сокращает тормозной путь на мокрой или скользкой дороге, на очень мягких поверхностях, таких как неупакованный снег или рыхлый гравий, система ABS может фактически увеличить тормозной путь.
Факты об АБС (антиблокировочная тормозная система)
- Антиблокировочная тормозная система работает с обычными тормозами вашего автомобиля.
- Ваш автомобиль всегда будет иметь штатную тормозную систему, даже если АБС выйдет из строя.
- ABS срабатывает только на скользкой дороге или во время аварийной остановки, когда водитель нажимает на тормоза, заставляя их заблокироваться.
- Антиблокировочная тормозная система чувствительна к скорости, и тормозная система не срабатывает на очень низких скоростях.
- Некоторые системы предназначены для предотвращения блокировки только задних колес.
- Системы с задним расположением колес встречаются на некоторых старых пикапах и внедорожниках.
- АБС заднего колеса предотвращает неконтролируемое вращение автомобиля; однако, если передние колеса заблокируются, рулевого управления у вас не будет.
- Все остальные системы ABS, в том числе для автомобилей и минивэнов, предназначены для предотвращения блокировки всех четырех колес.
- АБС на четыре колеса фактически позволит вам сохранить способность управлять автомобилем, пока вы все еще тормозите.
- ABS предотвращает блокировку колес, чтобы ваш автомобиль оставался на прямой.
- Если у вас есть рулевое управление, можно избежать аварии, объезжая опасные места, если полная остановка не может быть выполнена вовремя.
- В автомобилях, оборудованных АБС, ступня водителя должна оставаться на педали тормоза, позволяя системе автоматически задействовать тормоза.
- АБС делает то же самое, что и человек, нажимающий на тормоза. Он автоматически изменяет давление в тормозных магистралях вашего автомобиля, чтобы поддерживать максимальную эффективность торможения до блокировки колес.
Практика с ABS
Для эффективного использования тормозов на автомобиле, оборудованном АБС, требуется другая техника, чем на автомобиле без АБС. Чтобы в полной мере воспользоваться преимуществами безопасности с антиблокировочной тормозной системой, водители должны научиться правильно использовать свои антиблокировочные тормозные системы.
Пустые автостоянки или другие открытые площадки — отличные места для отработки аварийных остановок. Один из способов познакомиться с работой АБС — это испытать автомобиль на скорости, выше которой срабатывает АБС (обычно выше 10 миль в час).
Четырехколесная антиблокировочная тормозная система
Как использовать четырехколесную антиблокировочную тормозную систему:
- Удар по тормозам. АБС должна предотвращать занос колес.
- Вы можете почувствовать вибрацию педали тормоза и услышать щелчок — это нормально.
- НЕ качайте тормоза (это отключит АБС).
- Крепко держите ногу на педали тормоза.
- Держите рулевое управление, чтобы АБС всех колес работала правильно.
Антиблокировочная тормозная система заднего колеса
Как использовать антиблокировочную тормозную систему задних колес:
- В легких грузовиках, оборудованных антиблокировочной тормозной системой задних колес, передние колеса могут блокироваться так же, как и обычные тормоза.
- Если передние колеса блокируются, отпустите педаль тормоза с усилием, достаточным для того, чтобы передние колеса снова катились, чтобы вы могли управлять автомобилем.
Антиблокировочная тормозная система включает контрольную лампу на приборной панели, которая предупреждает водителя об обнаружении неисправности системы. Если лампа загорается во время движения, система ABS будет отключена и система вернется к стандартному режиму торможения без использования ABS. Хотя автомобиль по-прежнему может двигаться со штатными тормозами, его следует как можно скорее доставить в ремонт. Как и при наличии автомобильной страховки, без нее вам не захочется водить машину.
Защитите свою семью и свой автомобиль с помощью недорогой автостраховки от Freeway Insurance.Позвоните по телефону (800) 777-5620 или запросите бесплатное предложение по автострахованию онлайн и узнайте, сколько вы можете сэкономить на автостраховании.
.
Дисковый механизм монтируют на передних , барабанный – на задних колёсах Тормозной механизм формирует тормозной момент – главное условие для замедления или полной остановки машины.
Это решение используют для легковых автомобилей, внедорожников, микроавтобусов, малогабаритных грузовиков и спецтехники. 
10 для ГАЗель и Соболь, внешний вид, характеристики, применяемое топливо, моторное масло и охлаждающая жидкость.
Давление рабочей жидкости может приблизиться к 10-15 МПа. Чем оно больше, тем эффективнее происходит торможение.