Карбюратор: устройство и принцип работы
Ищем двух авторов для нашего сайта, которые ОЧЕНЬ хорошо разбираются в устройстве современных автомобилей.Обращаться на почту [email protected].
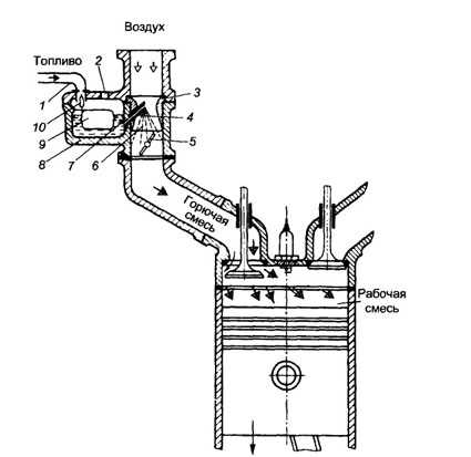
Жидкое топливо в бензиновых двигателях не может обеспечить работу поршневой группы. Для создания крутящего момента на коленчатом валу необходима серия циклических микровзрывов в цилиндрах, в то время, как жидкий бензин просто горит. Когда топливо смешивается с воздухом (содержащим большое количество кислорода), создается смесь, способная образовывать вспышку, обладающую большой кинетической энергией.
Автомобильные карбюраторы – история развития
На заре двигателестроения применение газа стало невыгодным. Возникла необходимость создания устройства, которое могло с высокой степенью надежности и безопасности обеспечить формирование из бензина и воздуха качественной смеси. Принцип работы карбюратора первой серии основывался на испарении паров топлива. Камера нагревалась от внешнего источника тепла, бензиновые пары смешивались с воздухом за счет конвекции.

Характеристики такого карбюратора не позволяли развивать большую мощность, поэтому эта конструкция не прижилась в моторостроении. Для первых экземпляров автомобилей было достаточно того, что они просто ехали, в дальнейшем потребности клиентов росли, стал развиваться автоспорт. Возникла необходимость создать карбюратор, не имеющий ограничений по мощности мотора.
Следующее поколение, изобретенное немецкими инженерами Даймлером и Майбахом, работало по принципу распыления топлива. Размеры агрегата уменьшились (не было необходимости встраивать объемную испарительную камеру с емкостью для нагрева), а производительность, напротив, выросла в разы. Фактически был создан вакуумный карбюратор, конструкция которого используется в современных моделях. Главный технический прорыв – переход топлива в газообразное состояние происходил принудительно, что давало простор для экспериментов с производительностью. Разумеется, устройство карбюратора Даймлера – Майбаха было не похоже на современные конструкции высокопроизводительных вакуумных моделей со специальным ресивером и контролем за разряжением воздуха.

Однако принцип работы был таким же, как на любом современном образце.
Устройство карбюратора (типовое описание для всех модификаций)
На схеме изображено взаимное расположение основных узлов:

- Трубка подачи бензина от топливного насоса;
- Поплавок с игольчатым клапаном, перекрывающим топливопровод;
- Жиклер приема топлива из поплавковой камеры;
- Форсунка распылителя жидкого топлива;
- Камера смесителя, в которой образовывается топливная смесь;
- Воздушная заслонка, регулирующая объем входящего потока чистого воздуха из фильтра;
- Диффузор, формирующий направление потока воздуха;
- Заслонка дросселя, регулирующая подачу смеси во впускной тракт двигателя.
Как работает карбюратор?
Рассмотрим работу каждого узла.
- Бензин под небольшим давлением (не путать с высокопроизводительными форсунками инжекторных систем) поступает в поплавковую камеру. Важно поддерживать уровень топлива в карбюраторе, не превышающий расположение жиклера. Иначе в смесительной камере не будет происходить аэрозольное распыление. Для каждой модели установлен верхний предел заполнения камеры, за которым механически «следит» поплавок с игольчатым клапаном. Такая конструкция выбрана потому, что небольшим усилием можно удерживать давление входящего топливопровода. При достижении предела – клапан запирает входное отверстие, при падении уровня – заполняет камеру бензином;
- Недостаток конструкции (к сожалению, безальтернативной) – высокая зависимость от загрязнения. Игольчатый клапан может «зависнуть» в закрытом состоянии, и работа мотора будет остановлена;
- Далее бензин поступает в жиклер. Диаметр этого элемента строго регламентирован, не допускаются отклонения даже в сотые доли миллиметра. В противном случае, на входе в смесительную камеру не будет происходить аэрозольное распыление, и топливовоздушная смесь не сформируется, а на жидком бензине, как уже говорилось, ДВС не работает;
- Из диффузора выходит аэрозоль из мельчайших капелек бензина, готовая для смешивания с воздухом;
- Камера смесителя (фактически – корпус карбюратора) предназначена для формирования газообразной смеси, состоящей из паров бензина и кислорода, содержащегося в воздухе. Бензин, равно как и воздух, попадает в камеру не под напором, а наоборот, за счет разряжения. При движении цилиндра вниз, возникает разница в давлении, своеобразный вакуум. За счет специально рассчитанной формы корпуса, потоки топлива и воздуха смешиваются равномерно, образуя качественную смесь;
- Заслонки (дроссельная и воздушная) управляемые педалью газа, дозируют интенсивность потока воздуха и скорость всасывания топлива из жиклера. Мотор работает интенсивнее, скорость вращения коленвала меняется вместе с мощностью и крутящим моментом.
Все системы карбюратора должны работать слаженно: если один из каналов (жиклеров) будет засорен, или неверно настроить положение заслонок, формирование смеси будет нарушено. Возрастет расход бензина, потеряется мощность, силовой агрегат будет работать неустойчиво, поэтому все узлы должны быть чистыми, их размер соответствовать заводским расчетам, произведена настройка регулировочных параметров. На карбюраторе есть ряд подстроечных винтов, правильные технические характеристики устанавливаются с их помощью. На иллюстрации показан пример карбюратора «Озон».

Хорошо настроенный карбюратор «выжимает» из мотора максимум возможностей при наименьших затратах на топливо. Разные модели карбюраторов могут иметь свои способы регулировки, но общий принцип единый.
У каждого карбюратора есть инструкция по выставлению параметров. Регулировка может производиться самостоятельно, или на профильном сервисе. При смене условий эксплуатации (количество кислорода в воздухе, регулярная нагрузка на автомобиль, включение кондиционера в летний период и пр.), следует произвести повторную настройку.
Чем отличаются карбюратор классической конструкции и устройство с электронным управлением?
Выше по тексту были описаны принципы работы механического карбюратора. Все настройки устанавливаются с помощью винтов, и не могут быть изменены динамически, в ходе работы. Схема карбюратора постоянно совершенствуется, и в новых моделях (некоторые выпускаются по сей день) достаточно много электроники. Например, электромагнитным клапаном оснащены практически все механические модели.
На этом устройстве остановимся подробнее:
Дело в том, что при полностью отпущенной педали газа, дроссельная заслонка перекрыта, и мотор по идее должен заглохнуть. Для работы ДВС без нагрузки (просто чтобы не заводить его каждый раз после остановки), внедрена система холостого хода. С ее помощью, даже при перекрытых заслонках, в корпус поступает минимальный объем бензина и воздуха. Формируемой топливной смеси достаточно для поддержания работоспособности силового агрегата без нагрузки на коленвал.
Этот параметр требует точной регулировки: если обороты холостого хода завышены, вырастет расход бензина, а если занижены – мотор будет глохнуть при остановках. При изменении условий работы (температура, наличие климатической установки с кондиционером, дополнительное оборудование, дающее нагрузку на генератор), режим холостого хода меняется, поэтому был установлен клапан холостого хода (электрический), который управляет процессом линейно, в зависимости от нагрузки.
Никакой программы управления нет, в клапан заходит лишь провод питания. В зависимости от некоторых условий работы, положение клапана меняется.

Это далеко не все электронные системы, которые могут быть внедрены в механику процесса. Например, все регулировки заводятся на блок управления, типа ЭБУ для инжекторных моторов. Такой микрокомпьютер постоянно отслеживает параметры нагрузки на силовой агрегат, и в реальном времени может менять настройки карбюратора. Задавая себе вопрос: «какой карбюратор лучше поставить?», можно рассматривать внедрение в машину современной конструкции. В отличие от карбюраторов традиционного исполнения, электронные системы не нуждаются в периодической настройке, но имеют более высокую стоимость, и сложнее в обслуживании и ремонте. Для обеспечения электроники исходными данными, на двигатель устанавливаются различные датчики, которые следят за параметрами мотора. На основе получаемой информации, исполнительные механизмы карбюратора приводятся в действие.
Виды карбюраторов по производителям – какой выбрать?
У всех на слуху различие т.н. китайской продукции, и карбюраторов именитых брендов (в список которых входят и ДААЗ, и Солекс, и Озон…). На самом деле, это не более, чем предрассудки. Изделие, выпущенное на заводе, с соблюдением технологии, имеющее сертификат качества, будет хорошо работать вне зависимости от географии производства. Низким качеством отличаются лишь так называемые товары «no-name», собранные крестьянами из Поднебесной буквально напильником на коленке, поэтому при подборе нового карбюратора, прежде всего ориентируйтесь на известность производителя и наличие сопроводительной документации. Разумеется, и гарантийные обязательства должны быть обеспечены сервисными центрами в пределах доступности. То есть, если вы живете в Калининграде, а ближайший сервисный центр производителя в Димитровграде – есть смысл подыскать другой экземпляр.
Итог
Не следует бояться этого на первый взгляд сложного устройства. Схема работы простая и надежная, залог нормального функционирования – чистота всех внутренних элементов и правильная настройка.
Если у вас возникли вопросы — оставляйте их в комментариях под статьей. Мы или наши посетители с радостью ответим на них
swapmotor.ru
Устройство и принцип работы карбюратора
Автомобильная индустрия не стоит на месте и постоянно совершенствует и модернизирует свои системы. Одной из таковых считается, проверенная временем, система питания, которая подразделяется на два вида: инжекторная и карбюраторная. Последняя значительно устарела относительно первой, однако не изжила себя полностью.
Карбюраторная система главным образом предназначена для подготовки, а затем соединения бензина или солярки с воздухом, для получения обогащенной смеси. После этого система распределяет полученный состав по камерным отсекам двигателя внутреннего сгорания.

Есть две разновидности систем карбюратора: поплавковая и игольчато-мембранная. Существует еще барботажная, но она больше не применяется. Отметим, что в автомеханике используется исключительно поплавковый тип, а вот игольчатый встречается, например, в бензопилах или мотокосах, но активнее всего этот принцип применяется авиапромышленности.
Термин «карбюратор» прекрасно символизирует основное предназначение данного механизма. Оно произошло от слова «carburation», что в переводе с французского означает «смешивать». Именно он стал первым механизмом, созданным для получения топливновоздушной смеси.
Действительно внутри карбюратора запускается процесс соединения кислорода и содержащихся в нем примесей, как правило, это азот и иные газы, плюс бензин или дизельное топливо.
Пропорции соотношения веществ, для оптимальной работы, составляют примерно пятнадцать к одному. Чтобы запустить двигатель внутреннего сгорания нужно больше горючего топлива, примерный расчет десять к одному.
Данные показатели формальны, и при разных обстоятельствах и переменных формула может меняться. Также много зависит от качества самого топлива. По этой причине механизм современного карбюратора сложен и многофункционален.
Чтобы лучше разобраться в строении карбюратора поплавковой модификации , нужно разобрать его основные детали, после чего станет проще разобраться как они между собой взаимодействуют. За всю историю развития машиностроения было разработано много конструктивных решений, они все незначительно отличались друг от друга, но функционально выполняли одинаковые задачи и принцип работы у всех одинаковый.
Из чего состоит стандартный карбюратор

Из чего состоит стандартный карбюратор: 1 — топливопровод; 2 — игольчатый клапан; 3 — отверстие в крышке поплавковой камеры; 4 — распылитель; 5 — воздушная заслонка; 6 — диффузор; 7 — дроссельная заслонка; 8 — смесительная камера; 9 — топливный жиклер; 10 — поплавок; 11 — поплавковая камера.
Современный механизм состоит из четырех основных элементов:
- Сама камера с поплавком;
- Жиклер;
- Распылитель;
- Диффузор;
- Дроссельная заслонка.
Поплавковая камера
Полость камеры разделена на два отсека. Первый отсек контролирует наличие и поступление топлива в пределах узла. С её помощью происходит бесперебойное и непрерывное снабжение мотора топливом, независимо от условий. Незамысловатый механизм предусматривает, что внутри камеры находится поплавок, который цепляется за игольчатый клапан, расположенный у начала отверстия канала. Этот процесс обеспечивает подачу бензина из топливного бака.

Поплавковая камера: 1 – поплавок; 2 — ограничитель хода поплавка; 3-регулировка уровня топлива; 4 – уровень топлива в поплавковой камере.
По мере испарения топлива и снижения его уровня, поплавок погружается ниже, а клапан расширяется, за счет чего происходит очередное впрыскивание топлива внутрь полости. Если случается обратный процесс, то поплавок наоборот поднимается, а клапан сужается.
Второй камерный отсек служит для замешивания горючего и воздуха.
↑Диффузор
Когда бензин и воздушный поток соединяются воедино, то попадают в диффузор. Так как отверстие его очень маленькое, при попадании в него скорость циркуляции смеси увеличивается.

Диффузор карбюратора
↑Распылитель
Служит соединительным мостиком между камерными отсеками. Распылитель соприкасается с жиклером и диффузором.

Жиклер
Специальный вставочный механизм, с отверстием посередине. Оно сквозное и имеет определенный диаметр. Именно жиклер отвечает за подачу необходимого количества топлива.

Жиклеры
Итак, представим себе процесс. Сначала запускается двигатель, после чего поршень цилиндра начинает давить вниз, создавая разряжение. Из-за этого эффекта происходит усиленное засасывание воздуха при помощи заборника с фильтром, который установлен на карбюраторе.
Дроссельная и воздушная заслонки
Воздушная заслонка помогает следить за уровнем обогащенности горючего. При закрытии прохода случается излишнее обогащение (повышенное содержание смеси), которое влечет остановку работы мотора. Дроссельная заслонка установлена позади диффузора, поэтому перекрывая канал она регулирует скорость движения топливновоздушной массы.

Дроссельная заслонка
Когда водитель нажимает на акселератор, он таким образом воздействует на дроссель.
Так выглядит упрощенный вариант карбюраторной схемы. Но на самом деле он состоит из множества элементов и сложных механизмов, потому что эксплуатация двигателя происходит в разных условиях климата и рельефа, в зависимости от этого требуется различный состав топлива.
Именно по этой причине у современной поплавковой системы такое многоступенчатое устройство с вспомогательным оборудованием и дополнительными системами. Учитывая эти факторы карбюратор способен приготовить смесь для каждого случая.
Какие еще системные элементы дополняют конструкцию карбюратора?
- Пусковой механизм;
- Дозирующий механизм;
- Система холостого хода;
- Ускорительный насос;
- Экономайзер;
- Эконостат.
Всякий элемент выполняет свою роль для поддержания нормального рабочего состояния агрегата.
↑Пусковая система карбюратора
Данная система осуществляет впрыск обогащенного горючего в двигательные элементы (цилиндры). Это происходит в момент запуска. Тут ключевую роль играет воздушная заслонка. В консрукциях российского производства, она управляется вручную при помощи рукоятки подсоса, которая выведена внутрь салона. В иностранных моделях используется система автоматизированного запуска, которая независимо контролирует раскрытие воздушной заслонки.

Пусковое устройство карбюратора: 1 — рычаг привода воздушной заслоним; 2 — воздушная заслонка; 3 — тяга; 4 — шток-серьга; 5 -регулировочный винт; 6 — телескопическая тяга; 7 — тяга регулирования положения дроссельной заслонки; 8 — дроссельная заслонка.
Кроме того, система конструкции предусматривает предотвращение поступления переобогащенного питания внутрь цилиндров сразу после запуска. Специально привод сконструирован таким образом, что может выполнять открытие створки чтобы произошло обеднение смеси. Также она связана тягой с дросселем. Это дает возможность при запуске и во время прогрева регулировать уровень раскрытия створок.
↑Дозирующая система карбюратора
Первостепенная задача этого механизма – обеспечивать нужную дозировку при подаче топливной смеси, независимо от режима работы двигателя в целом. Есть только один режим, при котором дозирующая система отключается. Речь о холостом ходу. При подаче нужной величины топлива, хоть и обедненной в оба цилиндра.

Дозирующая система карбюратора: 1 — воздушный жиклер; 2 — распылитель; 3 — диффузор; 4 — топливный жиклер; 5 — дроссельная заслонка.
Для исключения возможности поступления обогащенной смеси на переходных этапах происходит восполнение недостающей величины воздуха при помощи вливания из распылителя не чистого горючего, а специальной эмульсии, в которой уже содержится необходимое количество кислорода. В большинстве карбюраторных систем, горючее перед тем как попасть в распылитель, проходит через сеть специальных эмульсионных колодцев, которые подмешивают воздух.
↑Холостой ход
Эта система призвана сделать работу по силовой установке на минимальных оборотах, в момент, когда дроссельная заслонка находится в закрытом состоянии.
Это система канальцев, сквозь которые проходит поток воздуха и вместе с топливом заливается под дроссельную заслонку. В этом случае, смесительная камера не используется, поскольку режим холостого хода производит достаточное количество смеси и наполняет впускной коллектор минуя её. Также эта система имеет дополнительный элемент в виде переходного канала, который должен поддерживать бесперебойную работу во время переключения режимов от холостого хода на средние передачи.

Данная система выполняет функцию по снабжению мотора горючим в тот момент, пока дозирующая система не активна. Именно по этой причине возможна силовая работа установки при пониженных оборотах. При помощи винтов регулировки происходит коррекция пропорциональных составляющих топлива и кислорода на холостых оборотах. В новых моделях автомобилей, чьи производители озабочены экологическим состоянием региона, и следят за уровнем загрязненности выхлопных газов снабжают систему опломбированным винтом регулировки. Не является правдивым утверждение, что подобное изменение смесительного состава вызывает изменение выхлопов при всех возможных вариациях.
↑Ускорительный насос
Ускорительный насос реализует возможность впрыска нужного количества и состава смеси во время резкого ускорения, когда основная система дозирования не справляется, так как должна обеспечивать функциональную подачу только при медленном раскрытии дроссельной заслонки. Целью насоса является быстрое и своевременное обогащение состава, а это способствует предотвращению «провала» во время ускорения.
Специально для этого сделан канал, со множеством шариковых клапанов, которые снабжены цельной мембраной. Соединительная подводка к клапану идет напрямую от дросселя. Когда происходит спонтанное воздействие на акселератор, шарики расширяются и позволяют клапанному отверстию раскрыться, а мембрана осуществляет выдавливание нужного количества эмульсионной смеси в распылитель, который расположен впереди диффузора.
Экономайзер и эконостат

Экономайзер
Экономайзер регулирует производительность мотора, когда это становится жизненнонеобходимым для поддержания работы. Это достигается при помощи подачи обогащенной смеси и дополнительной подаче порции эмульсии напрямую в основание распылителя, но в обход главной дозирующей системы.
Эконостат даёт ДВС возможность по итогу достигать максимальной мощности при работе на повышенных оборотах. Именно для этих целей предназначен данный элемент, обеспечивающий впрыскивание горючего напрямую из поплавковой шахты и мгновенное его распределение перед диффузором.
Это основные и главные детали в системе поплавковых карбюраторов. Кроме вышеперечисленного надо отметить, что в конструкции используется также камера сбалансированного типа. Это нужно для поддержания бензина на нужной отметке, а в камере отсутствует разряжение, для чего она соединена с атмосферой. В случае со сбалансированной камерой происходит стыковка с горловиной карбюратора, за счет чего невозможно попадание инородных веществ при заборе воздуха.
Несмотря на хитрую схему конструкции регулировок карбюратора немного, и все они относятся только к системе холостого хода. Чтобы оптимизировать и стабилизировать её работу в этом режиме, предусмотрены специальные винты: воздушный для количества и топливный для качества (игольчаты). Сквозь имеющееся отверстие поступает горючее.
Игольчатый винт находится внутри канала и передает эмульсию в задроссельный отсек. Чтобы скорректировать количество эмульсии, меняют сечение самого канала при помощи вкручивания или выкручивания, в зависимости от конкретной ситуации.
Слабая сторона карбюратора в том, что его конструкция предусматривает множество жиклеров и каналов, у которых небольшие насечки. По этой причине при использовании механизма по назначению в него попадают различные загрязнения. Они засасываются внутрь вместе с топливом, но не сгорают вместе с ней, а образуют осадок на стенках каналов и жиклеров, тем самым закупоривая их.
Поэтому нужно систематически производить чистку узла. Данная процедура может проводится профессионалами, но можно сделать её самостоятельно, но для этого понадобиться полная разборка узла. После чего необходимо качественное его промыть, просушить либо продуть каналы.
В последние годы индустрия бытовой химии шагнула вперед и появилось множество чистящих составов. Это химические составы, способные при взаимодействии с материей вызывают расщепление различных отложений и смол в каналах. В результате химической реакции вещество попадает в цилиндр, где смешивается с топливом и сгорает. Надо предупредить, что подобный способ очистки подходит исключительно в случае несерьезных засоров. В противном ситуации удалять их придется собственноручно.
prokarbyrator.ru
Устройство и принцип работы карбюратора ВАЗ
Дорогие друзья, в данном мануале мы попытаемся на пальцах объяснить основные принципы работы любого карбюратора, о его устройстве, с иллюстрациями и достаточно подробными комметариями. Особенно полезной будет эта статья для новичков, которые хотят разобраться в теме. В статье мы рассмотрим следующие моменты:
Режимы работы двигателя и состав горючей смеси, систему холостого хода и переходную систему, устройство поплавковой камеры и принципы ее работы, главную дозирующую систему карбюратора, систему пуска, принцип работы эконостата и многое другое. Ведь от правильной работы всех этих узлов напрямую зависит аппетит вашего авто. Он может быть как выше так и ниже того, который указан в технических характеристиках вашей машины. К примеру расходы Ваз — 2114, 2110, 2112 можете узнать пройдя по ссылке, паспортные расходы семерки ВАЗ-2107 можете глянуть здесь, и т.д. В общем запаситесь терпением, попкорном и приготовьтесь к интересному чтиву.
Режимы работы двигателя и состав горючей смеси
СОСТАВ ГОРЮЧЕЙ СМЕСИ Для работы двигателя внутреннего сгорания необходима смесь топлива с воздухом. В карбюраторных двигателях топливо (бензин) смешивается с воздухом в определенной пропорции вне цилиндров и, частично испарившись, образует горючую смесь. Этот процесс называется карбюрацией, а прибор, приготавливающий такую смесь, — карбюратором. Смесь, пройдя по впускному трубопроводу, попадает в цилиндры двигателя, где смешивается с остатками горячих отработавших газов, образуя рабочую смесь. Частички распыленного топлива при этом испаряются. Для пуска двигателя и его работы на разных режимах, необходим различный состав горючей смеси. Поэтому карбюратор устроен так, что позволяет изменять количественное соотношение распыленного топлива и воздуха в смеси, поступающей в цилиндры двигателя. Для полного сгорания 1 кг топлива необходимо около 15 кг воздуха. Топливовоздушная смесь в такой пропорции называется нормальной. Режим работы двигателя на этой смеси имеет удовлетворительные показатели по экономичности и развиваемой мощности. Незначительное увеличение количества воздуха в топливовоздушной смеси по сравнению с его нормальным содержанием (но не более 17 кг) приводит к обеднению смеси. На обедненной смеси двигатель работает в наиболее экономичном режиме, т.е. расход топлива на единицу развиваемой мощности минимален. Полную мощность на такой смеси двигатель не разовьет. При избытке воздуха (17 кг и более) образуется бедная смесь. Двигатель на такой смеси работает неустойчиво, при этом расход топлива на единицу вырабатываемой мощности возрастает. На смеси переобедненной, содержащей более 19 кг воздуха на 1 кг топлива, работа двигателя невозможна, так как смесь не воспламеняется от искры. Небольшой недостаток воздуха в топливовоздушной смеси по сравнению с нормальным (от 15 до 13 кг) способствует образованию обогащенной смеси. Такая смесь позволяет двигателю развивать максимальную мощность при несколько повышенном расходе топлива. Если воздуха в смеси меньше 13 кг на 1 кг топлива, смесь богатая. Из-за недостатка кислорода топливо сгорает не полностью. Двигатель на богатой смеси работает в неэкономичном режиме, с перебоями и при этом не развивает полной мощности. Переобогащенная смесь, содержащая менее 5 кг воздуха на 1 кг топлива, не воспламеняется — работа двигателя на ней невозможна. ПУСК ДВИГАТЕЛЯ При пуске холодного двигателя часть распыляемого топлива оседает на стенках впускного трубопровода, а часть испарившегося топлива, попав в цилиндры, конденсируется на стенках. К тому же при низкой температуре воздуха смесеобразование ухудшается, т. к. замедляется испарение бензина. Поэтому для пуска холодного двигателя необходимо, чтобы карбюратор приготовил переобогащенную топливовоздушную смесь. РАБОТА НА ХОЛОСТОМ ХОДУ На холостом ходу частота вращения коленчатого вала двигателя невелика, а дроссельные заслонки карбюратора почти полностью закрыты. Из-за этого вентиляция цилиндров не столь эффективна, по сравнению с работой на средней и высокой частотах вращения коленчатого вала и мало количество горючей смеси, поступающей в двигатель. В рабочей смеси содержится большое количество отработавших (остаточных) газов. Поэтому для устойчивой работы двигателя на холостом ходу необходима обогащенная смесь. РЕЖИМ ЧАСТИЧНЫХ НАГРУЗОК На режиме частичных нагрузок от двигателя не требуется полная мощность. Дроссельные заслонки открыты не полностью, но вентиляция цилиндров хорошая. Поэтому на этом режиме достаточно обедненной горючей смеси. Соотношение развиваемой двигателем мощности к количеству потребляемого топлива позволяет считать режим частичных нагрузок самым экономичным. РЕЖИМ ПОЛНОЙ НАГРУЗКИ На режиме полной нагрузки от двигателя требуется максимальная или близкая к максимальной мощность. Двигатель при этом работает на высоких оборотах, а дроссельные заслонки полностью (или почти полностью) открыты. Для этого режима требуется обогащенная смесь, обладающая повышенной скоростью сгорания. РЕЖИМ РЕЗКОГО УВЕЛИЧЕНИЯ НАГРУЗКИ При работе двигателя в режиме резкого увеличения нагрузки, например при разгоне автомобиля, необходима обогащенная смесь. Но поскольку процесс смесеобразования обладает некоторой инертностью, чтобы предотвратить возникновение «провала» при наборе скорости, требуется дополнительное кратковременное обогащение горючей смеси. Для этого дополнительное топливо впрыскивается непосредственно в смесительную камеру карбюратора.
ОСНОВНЫЕ СИСТЕМЫ КАРБЮРАТОРА
Современные карбюраторы оснащены десятком различных систем и устройств, которые имеют разветвленную сеть каналов, многочисленные калиброванные отверстия, сложные рычажные передачи и пневматические камеры. Сразу разобраться в этом хитросплетении непросто. Поэтому полезно рассмотреть все основные системы по отдельности на примере упрощенных схем. И начать следует с принципа работы и устройства простейшего карбюратора.
Конструкция простейшего карбюратора

Для работы бензинового двигателя необходимо во всасываемый воздух добавлять топливо, которое затем сгорает в цилиндре при рабочем ходе поршня. Чтобы топливо надежно воспламенялось и полностью сгорало, необходимо тщательно перемешивать его с воздухом и при этом выдерживать оптимальный со-став горючей смеси на всех режимах работы двигателя. Эти функции выполняет карбюратор, соединенный впускным трубо-проводом с цилиндрами двигателя. Простейший карбюратор состоит из двух камер: поплавковой и смесительной. Процесс приготовления горючей смеси продолжается на всем пути движения топлива и воздуха по впускному тракту, вплоть до цилиндров, но начинается с распы-ления топлива в смесительной ка-мере карбюратора. Для этого в смесительной камере установлен распылитель в виде трубки. Срез трубки выведен в центр диффузора камеры. Диффузор — это участок сужения смесительной камеры. Скорость воздушного потока в диффузоре возрастает, и у распылителя возникает разрежение. Под действием этого разрежения топливо вытекает из распылителя и интенсивно перемешивается с воздухом. В распылитель топливо поступает из поплавковой камеры, с которой он связан каналом. В канале установлен жиклер — пробка со сквозным отверстием определенных размеров и формы. Жиклер ограничивает поступление топлива в рас-пылитель. Одно из условий нормальной работы карбюратора — правильная установка уровня топлива в поплавковой камере. Поддерживается уровень топлива в камере при помощи поплавкового механизма с игольчатым клапаном. Топливо подается в поплавковую камеру по топливо-проводу. По мере заполнения камеры поплавок поднимается, а игла запирает отверстие клапана, при этом вытесняемый топливом воздух выводится наружу через специальное отверстие. Поплавковая камера и распылитель представляют собой сообщающиеся сосуды. Уровень топлива в поплавковой камере устанавливается так, чтобы он находился чуть ниже среза распылителя. При повышенном уровне топливо будет выходить из распылителя, переобогащая смесь, при пониженном — поступление топлива в распылитель недостаточно, в результате чего образуется сильно обедненная горючая смесь. Для того чтобы изменять состав смеси, в смесительной камере над диффузором установлена воздушная заслонка. По мере закрывания воздушной заслонки смесь будет обогащаться. Чрезмерное прикрывание заслонки приведет к переобогащению смеси и остановке двигателя. Для регулировки количества топливовоздушной смеси, поступающей в цилиндры, в нижней части смесительной камеры установлена дроссельная заслонка. Когда воздушная и дроссельная заслонки полностью открыты, сопротивление потоку воздуха минимально. Простейший карбюратор готовит горючую смесь оптимального состава только в определенном диапазоне частот вращения коленчатого вала. Диапазон зависит от пропускной способности жиклера, сечения диффузора, уровня топлива и положения дроссельной заслонки. Автомобильный двигатель должен работать в широком диапазоне частот вращения коленчатого вала и при постоянно изменяющейся нагрузке. Для приготовления смеси оптимального состава на всех возможных режимах работы автомобильные карбюраторы оборудованы дополнительными системами.
Главная дозирующая система

Главная дозирующая система карбюратора предназначена для подачи основного количества топлива на всех режимах работы двигателя, кроме режима холостого хода. При этом на средних нагрузках она должна обеспечивать приготовление требуемого количества обедненной смеси приблизительно постоянного состава. В простейшем карбюраторе по мере открытия дроссельной заслонки увеличение расхода воздуха, проходящего через диффузор, про-водит медленнее, чем увеличение расхода топлива, вытекающего из распылителя. Горючая смесь становится богатой. Чтобы исключить переобогащение смеси, необходимо компенсировать ее состав воздухом в зависимости от степени открытия дроссельной заслонки. В карбюраторе такое возмещение осуществляет главная дозирующая система. В карбюраторах «Солекс» компенсация осуществляется пневматическим торможением: топливо в распылитель поступает не непосредственно из поплавковой камеры, а через эмульсионный колодец — вертикальный канал, в котором установлена эмульсионная трубка. Стенки трубки имеют отверстия для выхода воздуха, поступающего в нее сверху через воздушный жиклер. Поступление топлива в эмульсионный колодец определяется топливным жиклером. В эмульсионном колодце топливо смешивается с воздухом, выходящим из отверстий эмульсионной трубки. В результате в распылитель попадает топливная эмульсия, а не чистое топливо. По мере открытия дроссельной заслонки в диффузоре увеличивается разрежение и возрастает истечение эмульсии из распылителя. Одновременно растет поступление воздуха в эмульсионный колодец через воздушный жиклер, из за чего уменьшается поступление топлива из поплавковой камеры через топливный жиклер. Количество топлива, проходящего через жиклер, соответствует поступающему в диффузор количеству воздуха, что и обеспечивает компенсацию состава смеси. Требуемый состав горючей смеси задается подбором проходных сечений топливного и воздушного жиклеров, а также типом эмульсионной трубки.
СБАЛАНСИРОВАННАЯ ПОПЛАВКОВАЯ КАМЕРА
В простейшем карбюраторе поплавковая камера связана с атмосферой через отверстие в крышке. В процессе эксплуатации по мере загрязнения воздушного фильтра в диффузоре такого карбюратора будет возрастать разрежение и, следовательно, смесь начнет обогащаться. Чтобы исключить влияние загрязнения воздушного фильтра на состав горючей смеси, внутренняя полость поплавковой камеры соединена ка-налом с горловиной карбюратора.
Система холостого хода и переходная система

Для. работы двигателя на холостом ходу с минимальной частотой вращения коленчатого вала требуется малое количество горючей смеси. Следовательно, дроссельная заслонка должна быть почти полностью закрыта. При этом разрежение в диффузоре недостаточно для вступления в работу главной дозирующей системы. Поэтому карбюратор дополнительно оборудован системой холостого хода, которая готовит топливовоздушную смесь в количестве, обеспечивающем устойчивую работу двигателя при закрытой дроссельной заслонке. Каналы системы холостого хода связывают задроссельное пространство (полость впускного трубопровода) с эмульсионным ней частью смесительной камеры. При работе двигателя на холостом ходу под дроссельной заслонкой об-разуется высокое разрежение. Под действием разрежения топливо из эмульсионного колодца проходит в топливный канал холостого хода, где смешивается с воздухом, поступающим по воздушному каналу из верхней части смесительной камеры. Соотношение топлива и воздуха в эмульсии определяется пропускной способностью топливного и воздушного жиклеров, которые установлены в каналах холостого хода. Далееэмульсия поступает в задроссельное пространство, где смешивается с воздухом, проходящим через зазор между стенкой камеры и заслонкой. Зазор регулируется упорным винтом «количества»(SOLEX). Количество топливной эмульсии, проходящее по каналу в задросельное пространство, регулируется винтом с конусообразным наконечником (винтом «качества»). При заворачивании винта проходное сечение канала уменьшается. И наоборот. При плавном открытии дроссельной заслонки расход воздуха через смесительную камеру увеличивается, а количество поступающей эмульсии остается на прежнем уровне. Разрежение в диффузоре при этом еще недостаточно для вступления в работу главной дозирующей системы. В результате смесь обедняется и в работе двигателя наблюдается «провал». Для обеспечения плавного перехода от холостого хода к режиму средней нагрузки служит переходная система, которая объединена с системой холостого хода. Канал переходной системы соединяет эмульсионный канал системы холостого хода снаддроссельным пространством смесительной камеры. Выходное отверстие канала расположено таким образом, что, после приоткрытия дроссельной заслонки, оно оказывается в зоне разрежения; через него поступает дополнительное количество эмульсии в смесительную камеру, сглаживая переход от одного режима работы двигателя к другому. На холостом ходу, когда дроссельная заслонка закрыта, часть воздуха через канал переходной системы подмешивается к топливной эмульсии. Изменение состава смеси компенсируется подбором жиклеров. При заворачивании винта «количества» дроссельная заслонка приоткрывается. В результате расход воздуха через канал переход ной системы уменьшается, а через зазор между стенками смесительной камеры и заслонкой увеличивается. Количество горючей смеси, поступающей в двигатель, увеличивается, и частота вращения коленчатого вала возрастает. При отворачивании винта заслонка закрывается и частота вращения коленчатого вала снижается.
Ускорительный насос

Главная дозирующая система обеспечивает бесперебойную работу двигателя только при очень плавном открытии дроссельной заслонки. При резком открытии заслонки (например, для интенсивного разгона автомобиля) в первый момент процесс смесеобразования нарушается. Чтобы исключить «провал» в работе двигателя на этом режиме, карбюратор оснащен специальным устройством — ускорительным насосом. Он предназначен для кратковременного обогащения горючей смеси при резком открытии дроссельной заслонки. На карбюраторах широко применяется ускорительный насос диафрагменного типа с приводом от оси дроссельной заслонки. При открытии заслонки кулачок, механически связанный с ее осью, поворачивается и нажимает толкатель диафрагмы. Когда дроссельная заслонка закрывается, кулачок перестает воздействовать на толкатель. Диафрагма под действием возвратной пружины перемещается в исходное положение, создавая разрежение в полости насоса. Шарик нагнетательного клапана при этом закрывает отверстие в колодце под распылителем, шарик всасывающего клапана пропускает топливо в насос. Бензин из поплавковой камеры проходит через всасывающий клапан, заполняя полость насоса. При резком нажатии педали «газа», кулачок давит на телескопический толкатель, сжимая его пружину. При этом шарик нагнетательного клапана под давлением топлива приподнимается, открывая путь топливу из полости насоса в распылитель. Резкого перемещения диафрагмы не происходит, т.к. топливо не может быстро пройти через малое выходное отверстие распылителя. Поскольку пружина толкателя жестче возвратной пружины диафрагмы, первая, преодолевая сопротивление последней, перемещает диафрагму, вытесняя порцию топлива через нагнетательный клапан и распылитель в смесительную камеру карбюратора. Процесс впрыскивания получается растянутым по времени до нескольких секунд. Этим обеспечивается устойчивая работа двигателя при ускорении автомобиля, и, кроме того, диафрагма предохраняется от разрыва под действием давления топлива.
Система пуска

При пуске двигателя частота вращения коленчатого вала невелика, разрежение во впускной системе мало, и бензин плохо испаряется. К тому же, как уже было отмечено ранее, на холодном двигателе, особенно при низкой температуре окружающего воздуха, большая часть образовавшихся паров топлива конденсируется во впускном тракте. Поэтому для стабильного пуска двигателя необходимо приготовить в карбюраторе заведомо переобогащенную топливовоздушную смесь. Для этого следует закрыть воздушную заслонку и приоткрыть дроссельную. Тогда в диффузоре создается разрежение, достаточное для вытекания необходимого количества топлива из распылителя даже при медленном вращении коленчатого вала. Образуется рабочая смесь, пригодная для пуска двигателя. Но как только в цилиндрах появятся первые вспышки, чтобы двигатель не заглох от пере-обогащения, необходимо приоткрыть воздушную заслонку, открывая путь воздуху в диффузор. Для выполнения этих операций карбюратор дополнен специальным пусковым устройством. На карбюраторах двигателей отечественных автомобилей широко применяется пусковое устройство с ручным управлением. Оно состоит из воздушной заслонки, автоматического устройства ее приоткрывания и элементов привода. Воздушную заслонку водитель закрывает из салона автомобиля при помощи рукоятки, которая связана тягой с приводом заслонки. Привод обеспечивает заслонке возможность слегка приоткрываться, а возвратная пружина стремится удержать ее в закрытом положении. На карбюраторе установлено устройство, автоматически приоткрывающее воздушную заслонку на необходимую величину, что предотвращает переобогащение горючей смеси сразу после пуска. Устройство состоит из камеры с диафрагмой, пружины и тяги. Камера каналом связана с задроссельным пространством карбюратора. С началом устойчивой работы двигателя за дроссельной заслонкой происходит резкое увеличение разрежения, откуда по каналу оно передается в камеру. Диафрагма, преодолевая сопротивление пружины, перемещается и через тягу приоткрывает воздушную заслонку, обедняя смесь. Благодаря тому что заслонка закреплена на оси несимметрично, под действием разрежения, в смесительной камере она стремится открыться, «помогая» пусковому устройству. Воздушная заслонка связана с дроссельной заслонкой механизмом, обеспечивающим приоткрывание дроссельной заслонки при полном закрытии воздушной. Величина приоткрывания дроссельной заслонки должна обеспечить стабильную работу холодного двигателя при прогреве. По мере прогрева двигателя водитель вручную открывает воздушную заслонку и прикрывает дроссельную, снижая частоту вращения коленчатого вала до минимально устойчивой.
Экономайзер мощностных режимов

Для получения от двигателя максимальной мощности необходима обогащенная горючая смесь. Для ее приготовления карбюратор оборудован специальной системой, называемой экономайзером мощностных режимов. Система обеспечивает поступление дополнительного топлива в распылитель, минуя главный топливный жиклер. Для включения экономайзера мощностных режимов применяется пневматический или механический привод. Пневматическийпривод срабатывает при падении разрежения в смесительной камере, а не по мере открывания дроссельной заслонки. Это дает возможность в нужной степени обогащать смесь при разгоне автомобиля, обеспечивая хорошую приемистость, и сохранять обедненную смесь при равномерном движении, обеспечивая экономичность. При прикрытой дроссельной заслонке разрежение из задроссельного пространства поступает по каналу к диафрагме экономайзера. При этом диафрагма сжимает возвратную пружину, а ее толкатель не касается шарика клапана экономайзера, и клапан закрыт. При открытии дроссельной заслонки разрежение под ней (соответственно и у диафрагмы) уменьшается. Под действием пружины диафрагма смещается, и ее толкатель, утапливая шарик клапана, открывает канал экономайзера. Дополнительное топливо из поплавковой камеры поступает в распылитель главной дозирующей системы, обогащая смесь.
Эконостат

Эконостат предназначен для дополнительного обогащения горючей смеси на режимах максимальных нагрузок при высокой частоте вращения коленчатого вала. Эконостат — это распылитель, установленный в самой верхней части смесительной камеры, над диффузором. Топливо в него подается непосредственно из поплавковой камеры по каналу, в котором установлен топливный жиклер, предотвращающий переобогащение горючей смеси. Иногда, для более тонкой настройки экономайзера, в верхнюю часть канала дополнительно устанавливается воздушный жиклер. Через него подводится воздух, который смешивается в канале с топливом. Поскольку выходное отверстие распылителя расположено в зоне низкого разрежения, экономайзер вступает в работу только при полном открывании дроссельной заслонки. При этом частота вращения коленчатого вала должна быть достаточно высокой, чтобы в зоне выходного отверстия распылителя возникло разрежение, достаточное для подъема топлива в канале до уровня распылителя. Поступающее через распылитель топливо смешивается с потоком топливо-воздушной смеси, дополнительно обогащая ее.
Двухкамерный карбюратор
Для улучшения смесеобразования и распределения горючей смеси по цилиндрам необходимо обеспечить низкое сопротивление движению воздуха через диффузор карбюратора при больших нагрузках и поддерживать достаточное разрежение в нем при малых нагрузках. Этим требованиям в наибольшей степени удовлетворяет конструкция двухкамерного карбюратора с последовательным включением камер. Первая камера — основная — обеспечивает работу двигателя на режимах холостого хода, а также при малых и средних нагрузках. Вторая — дополнительная — включается в работу при больших нагрузках. Привод дроссельной заслонки второй камеры может быть механическим или пневматическим. В первом случае начало открывания заслонки второй камеры происходит при определенном угле открытия дроссельной заслонки первой камеры. Во втором случае момент открывания зависит от величины разрежения в смесительных камерах.
www.vazdriver.ru
Принцип работы и устройство карбюратора
На первый взгляд карбюратор может показаться очень сложным устройством. Однако небольшой объём теоретических знаний поможет полностью разобраться с его принципом работы. Что, в свою очередь, позволит самостоятельно выполнять чистку и регулировку карбюратора. Для выполнения этих операций на должном уровне достаточно базовой информации.
Как работает карбюратор

Независимо от модели, принцип работы карбюратора аналогичен. Конструктивно любой карбюратор выполнен по следующей схеме: канал для создания топливовоздушной смеси, в котором есть специальное калибровочное отверстие для входа воздуха, поплавковая камера и выход для готовой смеси.
При работающем моторе во впускном коллекторе (элемент, соединяющий силовой агрегат и топливную систему) создаётся пониженное давление, по отношению к атмосферному. Это приводит к возникновению вакуума в карбюраторе. Благодаря этому в карбюратор, по специальному сужающемуся каналу затягивается воздух и выполняется захват бензина из топливной камеры. В процессе эти ингредиенты смешиваются, что приводит к созданию топливовоздушной смеси, которая воспламеняется в КЗ (камере сгорания) и заставляет двигаться поршни. Количество топлива в готовой смеси зависит от давления, создаваемого в смешивающей камере. Благодаря тому, что камера соединена с атмосферой, из-за разницы давления, бензин поднимается вверх, смешиваясь с воздухом. Далее смесь поступает в камеру сгорания. Сужение прохода ускоряет движение воздуха, что приводит к ещё большему его разряжению.
Подача топлива с воздухом

Управление подачей топлива и воздуха осуществляется педалью газа, она соединена с воздушной заслонкой (ВЗ) и элементом, перекрывающим поплавковую камеру (ПК). Когда педаль свободна, мотор работает на холостом ходу (ХХ). Заслонка почти полностью закрывает калиброванный канал подачи воздуха, а игла проём в топливной камере. Деталь для перекрытия поплавковой камеры выполнена в виде иглы, разделённой на несколько частей, каждая из которых имеет свою толщину. Таким образом, чем выше она поднимается, тем больше происходит подача топлива. Воздушная заслонка работает по такому же принципу, чем шире проём, тем больше поток.
Что такое холостой ход карбюратора — ХХ

Холостой ход можно сравнить с режимом ожидания. Он необходим для стабильного поддержания нужных оборотов в момент, когда автомобиль не едет, чтобы мотор не заглох. В этот случае, воздушная смесь насыщена минимальным количеством топлива, необходимым для поддержания стабильной работы системы.При отпущенной педали газа, игла золотника максимально перекрывает главный канал подачи бензина. Воздушная заслонка остаётся чуть открытой. Проход, через который осуществляется подача бензина, размещён за воздушной заслонкой. Горючая смесь начинает поступать по этому каналу только тогда, когда в карбюраторе есть увеличенное разряжение, которое возникает при сильном открытии воздушной заслонки. Для создания топливовоздушной смеси на ХХ в конструкции предусмотрен дополнительный канал подачи кислорода. В нём есть специальный элемент для регулировки качества горючей смеси. Чем сильнее закручен винт, тем больше смесь насыщается бензином. Увеличиваются обороты холостого хода, и наоборот — откручивание винта снижает их. Таким образом, выполняя регулировку этого винта можно добиться оптимальных опций, повысить экономичность.
Для правильной дозировки ингредиентов горючей смеси, в местах забора устанавливаются жиклёры. Они представляют собой специальный элемент с определённым диаметром прохода, который не позволяет расходовать топлива или воздуха выше установленной нормы. Также жиклёр может выполнять функцию регулировочного винта.
Для чего нужна поплавковая камера в карбюраторе

1 — держатель оси поплавка;
2 — язычок поплавка;
3 — поплавок
ПК является одним из основных элементов карбюратора, в котором находится топливо. Уровень жидкости в камере регулируется и контролируется с помощью специального поплавка. К нему прикреплена иголка. Она закрывает канал подачи горючей смеси из бензобака. При уменьшении уровня топлива, поплавок начинает опускаться, а иголка поднимается. При заполнении камеры поплавок поднимается и уровень стабилизируется.
В карбюраторе предусмотрен механизм дополнительного подсоса управления ДЗ. Этот элемент предназначен для ручного обогащения смеси. Для этой функции предусмотрен дополнительный канал, он меньше, чем основной. Управление механизмом подсоса реализовано специальным рычагом на приборной панели. Сначала необходимо вытянуть полностью на себя элемент, тем самым максимально открыть заслонку, по мере прогрева мотора рычаг нужно постепенно вернуть в исходное положение.
Регулировка карбюратора
Регулировка карбюратора может осуществляться только на хорошо прогретом моторе. Независимо от конструкции, принцип выполнения калибровки элементов идентичный.
- Поплавковая камера. Регулировка и контроль уровня жидкости в ёмкости осуществляется с помощью поплавка, соединённого проволокой с иглой. Уровень необходимого топлива в камере указан в руководстве по эксплуатации конкретной модели автомобиля. Сверьте текущие показатели, замерьте с помощью штангенциркуля высоту зеркала. Если уровень выше нормы, аккуратно возьмите в руку поплавок и прогните его вниз методом механического воздействия на проволоку. Если уровень топлива ниже нормы — поднимите его.
- Настройка ХХ. Оптимальное количество оборотов на ХХ составляет 800-900 единиц. Закрутите винт качества смеси до упора и выкрутите его на 4-5 оборота обратно. Закрутите до упора винт количества и открутите 3 раза. Включите двигатель, постепенно начните закручивать первый винт, в процессе обороты должны поднять и начаться нестабильная работа мотора. Когда начнётся этап неустойчивости, начните закручивать регулировочный элемент, пока двигатель снова не начнёт работать стабильно. В завершение выполните корректировку винтом количества.
- Регулировка жиклёров. С помощью подсоса нужно закрыть воздушную заслонку. Хвостовик тяги должен находиться в конце паза штока ПУ карбюратора. При отклонении следует устранить подгибанием тяги. Затем нужно снять крышку, а потом замерить зазор от кромки стенки камеры до ВЗ. Необходимые показатели указаны в руководстве по эксплуатации. Настройка выполняется с помощью регулировочного винта ПУ.
vipwash.ru
Простейший карбюратор
Процесс приготовления горючей смеси из мелко распыленного топлива и воздуха, происходящий вне цилиндров, называется карбюрацией, а прибор, в котором происходит приготовление горючей смеси определенного состава в зависимости от режима работы двигателя, называется карбюратором.
Простейший карбюратор состоит из воздушного патрубка, поплавковой камеры с поплавком и игольчатым клапаном, смесительной камеры, диффузора, главного дозирующего устройства — распылителя и топливного жиклера, дроссельной заслонки.
Поплавковая камера служит для поддержания постоянного уровня топлива у распылителя (1,5—2 мм).
В смесительной камере происходит смешивание паров топлива с воздухом, образуется топливовоздушная смесь.
Распылитель (тонкая трубка) служит для подачи топлива в центр смесительной камеры.
Жиклер (калиброванное отверстие) дозирует количество топлива, проходящего к распылителю.

Впускная система карбюраторного двигателя
1 — трубопровод; 2 — отверстие в поплавковой камере; 3 — диффузор; 4 — распылитель; 5 — дроссельная заслонка; 6 — смесительная камера; 7 — жиклер; 8 — поплавковая камера; 9 — поплавок; 10 — игольчатый клапан.
Диффузор (короткий патрубок, суженный внутри) увеличивает скорость воздушного потока в центре смесительной камеры, чем достигается увеличение разряжения у носика распылителя.
Дроссельная заслонка регулирует количество горючей смеси, подаваемой в цилиндры двигателя, уменьшая или увеличивая проходное сечение смесительной камеры.
Простейший карбюратор работает следующим образом. При такте впуска, из-за создаваемого поршнем разрежения, воздух через воздушный патрубок поступает в диффузор. В диффузоре скорость воздуха, а следовательно, и разряжение увеличиваются. Под действием перепада давлений между поплавковой камерой и диффузором топливо через жиклер распылителя поступает в диффузор, подхватывается потоком воздуха, распыляется и испаряется, образуя топливовоздушную смесь. Из смесительной камеры горючая смесь по впускному трубопроводу поступает в цилиндры двигателя. По мере открытия дроссельной заслонки скорость потока воздуха и разряжение в диффузоре возрастают, что увеличивает расход топлива. Однако необходимого повышения расхода топлива не происходит, горючая смесь обогащается. При работе двигателя на различных режимах простейший карбюратор не может обеспечить горючую смесь постоянного состава.
Вспомогательные устройства карбюратора….
www.autoezda.com
Как работает карбюратор?
Современные двигатели используют управляемую электроникой систему, которая называется впрыском топлива (или инжектором), который должен регулировать топливно-воздушную смесь ровно с той минуты, как Вы повернёте ключ и до того времени, когда Вы выключаете двигатель, когда доедете до места назначения. Но пока эти умные гаджеты не были изобретены, практически все двигатели опирались на гениальное устройство по регулированию воздушно-топливной смеси, называемой карбюраторами. Ведь то, сколько именно топлива и воздуха поступает в двигатель, должно изменяться от момента к моменту, в зависимости от того, как быстро Вы едете и множества других факторов. И именно регулированием этого соотношения занимается карбюратор. Давайте поближе взглянем на то, что это такое, как устроен и как работает карбюратор!
Если Вы читали статью о том, как работает двигатель внутреннего сгорания, то Вы знаете, что их работа основана не только на физических механических процессах, но и химических тоже: их работа построена вокруг химической реакции под названием «сгорание», когда Вы сжигаете топливо в окружении воздуха, и, таким образом, превращаете тепловую энергию в механическую, а смесь из топлива и воздуха превращаете не без огромной помощи каталитического нейтрализатора в углекислый газ и воду в качестве выхлопных газов. Но для эффективного сжигания топлива Вы должны использовать много воздуха. Это относится не только к автомобильному двигателю, но и ко всем другим процессам горения: к восковой свече, открытому костру и даже пожару в каком-либо доме.

Так выглядит современный многокомпонентный карбюратор
И да, в случае с костром Вам никогда не придётся беспокоиться о том, что слишком много или слишком мало воздуха поступает в него для его оптимального горения. В случае с пожаром в помещении, напротив, отсутствие воздуха имеет гораздо более важное значение. Кстати, цвет огня покажет Вам, достаточно ли ему кислорода — так, синий цвет огня означает, что он пресыщен кислородом, а красный цвет сигнализирует о его недостатке. Нужно знать, что для двигателя вредно как слишком малое количество воздуха в топливо-воздушной смеси, так и слишком большое его количество.
Что такое карбюратор?
Вот почему бензиновые двигатели спроектированы так, чтобы в цилиндры подавалось всегда нужное количество воздуха, чтобы топливо сгорало должным образом и целиком. Получение правильной топливно-воздушной смеси в каждый нужный определённый момент — это результат работы карбюратора, который представляет собой довольно простую конструкцию: трубку, которая позволяет воздуху и топливу поступать в двигатель через клапаны, смешивая их вместе в различных количествах, чтобы удовлетворить широкий спектр различных дорожных условий. Карбюраторы были придуманы примерно в конце 19-го века, когда они были впервые разработаны автомобильным «пионером» (и учредителем компании Mercedes) Карлом Бенцем (1844-1929). А карбюратор на самом первом мотоцикле Harley Davidson был выполнен из консервной банки — видите, мы не шутим, когда говорим, что карбюратор — это очень простая вещь.
Тем не менее, сегодня карбюраторные автомобили почти не производят, так как в наши времена он попросту стал пережитком прошлого — ему на смену пришли очень умные, управляемые бортовым компьютером чипсеты, называемые инжекторами или системами (независимого) впрыска топливо-воздушной смеси в цилиндры. Однако, с тем, что не забывать о том, что когда-то существовало такое гениальное творение человечества, как карбюратор, и пишется данная статья. Кроме того, есть также возможность переделать карбюраторную систему питания на инжекторную.
Как карбюратор работает?
Карбюраторы немного отличаются по дизайну и сложности между собой в зависимости от конкретного производителя, применяемости в конкретном автомобиле и, конечно же, развития своего производства (ведь карбюраторы устанавливались на машины в течение почти века).

Простейшим (причём, существующим) карбюратором, по существу, является большая вертикальная трубка с потоком воздуха над цилиндрами двигателя со второй горизонтальной трубкой, соединённой с первой с одной стороны и с каналом подачи топлива на другой стороне — посмотрите на рисунок выше. В то время как воздух проходит вниз по первой трубке, он проходит через участок в этой трубке, который значительно уже всей трубки (примерно посередине этой трубки), что заставляет его ускориться и уменьшает его давление. Такой эффект имеет своё научное название — эффект Вентури. Падение давления воздуха создаёт всасывающее действие, и в камеру теперь всасывается топливо.
Воздушный поток заставляет топливо присоединиться к нему, и это именно то, что нам нужно, не правда ли? Но как мы можем регулировать воздушно-топливную смесь? Карбюратор имеет два поворотных клапана выше и ниже показанной на нашем рисунке трубки Вентури. В верхней части находится клапан под названием дроссель, который регулирует то, сколько воздуха может проникать в трубку. Если дроссель закрыт, то поступает очень мало воздуха вниз по трубке, а за счёт эффекта Вентури засасывается больше топлива, так что двигатель получает обогащённую топливную смесь. Это удобно, когда двигатель холодный при первом его запуске и работает довольно медленно.
Внизу нашей трубки — уже ниже её сужения — есть второй клапан, который называется дроссельная заслонка. Чем более открыта дроссельная заслонка, тем больше воздуха проходит через карбюратор и больше топлива он увлекает за собой непосредственно в цилиндры. А большое количество топлива и воздуха, проходящего в двигатель, даёт больше энергии и больше мощности нашему двигателю, и в конечном итоге наша машина едет быстрее. То есть именно открытие дроссельной заслонки заставляет автомобиль ускориться. Дроссель подключен к педали акселератора в автомобиле (или ручке акселератора на руле мотоцикла).
Между тем, в том месте, где топливо входит в вертикальную трубку, устройство карбюратора немного сложнее, чем мы описали его выше. В качестве дополнения к топливной магистрали есть своего рода мини-топливный бак под названием поплавковая камера (маленький бачок с поплавком и игольчатым клапаном внутри). В то время как топливо из поплавковой камеры поступает в карбюратор, логично, что уровень топлива в камере опускается. Внутри камеры поверх топлива плавает специальный поплавок, который падает вместе с уровнем топлива. Когда поплавок опускается ниже определенного уровня, открывается игольчатый клапан, позволяя камере пополнить запасы топлива. После того, как камера снова заполнится топливом, поплавок поднимается и закрывает клапан, в результате чего подача топлива снова отключается. Если Вы видели, как работает сливной бачок унитаза, то, в общем-то, это тот же принцип работы: когда Вы смываете воду из унитаза, бачок опустошается и поплавок опускается вниз, сгибая рачаг, который открывает поступление воды в бачок; а когда бачок снова наполняется до определённого уровня водой, то поднятый поплавок вновь закрывает доступ воды — таким образом, если кто-то Вас спросит, что общего между двигателем и унитазом, Вы знаете, что ответить!
Давайте теперь представим, как работает простейший карбюратор во всех его компонентах:

- Воздух поступает в верхнюю часть карбюратора из воздухозаборника автомобиля, предварительно очищаясь воздушным фильтром автомобиля.
- Когда двигатель запускается в первый раз, дроссель (синий) может быть установлен так, что почти блокирует верхнюю часть трубки, чтобы уменьшить количество воздуха, поступающего в неё (что даёт большее содержание топлива в топливо-воздушной смеси, поступающей в цилиндры).
- В центре трубки воздух проходит через узкую щель под названием Вентури. Это заставляет его его ускориться и вызывает падение его давления.
- Падение давления, в свою очередь, создаёт эффект всасывания на топливопроводе (справа), и топливо (оранжевое) попросту втягивается в трубку.
- Дроссельная заслонка (зелёная) умеет поворачиваться, чтобы открыть или закрыть трубку. Когда дроссельная заслонка открыта, большое количество воздуха и топлива поступает в цилиндры, и двигатель производит больше мощности, и машина в результате едет быстрее.
- Смесь воздуха и топлива поступает в цилиндры.
- Топливо (оранжевое) подаётся из мини-топливного бака под названием поплавковая камера.
- Когда уровень топлива падает, поплавок в камере падает вместе в ним и открывает клапан в верхней части.
- Когда этот клапан открывается, топливо поступает в поплавковую камеру из основного бензобака. Это вновь заставляет топливо вместе с поплавком подниматься и на определённом уровне поднятия поплавок этот закрывает клапан и перекрывает подачу топлива.
Регулировка карбюратора
На самом деле карбюратор работает «нормально» на полном газу. В этом случае дроссельная заслонка параллельна длине трубки, что позволяет максимальному количеству воздуха проходить через карбюратор. Если дроссель закрыт, то поток воздуха создаёт хороший вакуум в трубке Вентури и этот вакуум втягивает дозированное количество топлива через специальное сопло. Вы можете увидеть пару винтов на карбюраторе на фото ниже. Один из этих винтов (с маркировкой «Hi») контролирует, сколько топлива поступает в трубку Вентури на полном газу.
Когда двигатель работает на холостом ходу, дроссель почти закрыт, и это создаёт почти вакуум в трубке. Такой вакуум отлично втягивает в себя топливо через крошечное отверстие, называемое жиклёром. Другой винт из пары обозначен «L» и регулирует количество топлива, которое протекает через жиклёр.
Оба этих винта представляют собой просто игольчатые клапаны. Поворачивая их, Вы регулируете, сколько топлива будет поступать в камеру карбюратора в тех или иных обстоятельствах. Когда Вы регулируете их, Вы напрямую контролируете, сколько топлива проходит через жиклёры и основную трубку.
howcarworks.ru
Устройство карбюратора и его разновидности
В разное время на автомобили устанавливались разные виды силовых агрегатов.
Современные двигатели оснащаются системами впрыска топлива, и рабочая смесь образуется либо во впускном коллекторе, либо непосредственно в камере сгорания цилиндра, если речь идет о непосредственном впрыске. В более старых бензиновых двигателях приготовление топливно-воздушной смеси и подачу ее в цилиндры силового агрегата осуществляется при помощи карбюраторов. Устройство карбюратора призвано обеспечить непрерывное образование рабочей смеси различного качества, соответственно режиму работы мотора.

Как он устроен
В простейшем случае данное устройство состоит из следующих основных элементов:
- поплавковой камеры;
- поплавка с игольчатым клапаном;
- дроссельной и воздушной заслонок;
- смесительной камеры с диффузором;
- распылителя;
- воздушных и топливных каналов с жиклерами.
Как он работает
Строение поплавковой камеры карбюраторов сходно со строением бачка унитаза. Через игольчатый клапан топливо поступает в нее до тех пор, пока поплавок не поднимется до максимального уровня и не перекроет подачу бензина. При снижении уровня поплавок опускается, открывается клапан, и горючее вновь поступает в камеру. Такое устройство позволяет поддерживать постоянный уровень топлива.

Через распылитель бензин попадает в смесительную камеру, где смешивается с потоком воздуха. Для лучшего смешивания смесительная камера снабжена диффузором, благодаря которому воздушный поток ускоряется, завихряется, и смесь получается более качественной. Чтобы подавать бензин дозировано, в распылитель вкручен жиклер, который представляет собой пробку, имеющую калиброванное отверстие. Также следует отметить, что распылитель расположен таким образом, что его выходное отверстие в смесительной камеры находится выше входного. Благодаря этому топливо не переливается в смесительную камеру даже когда автомобиль стоит под наклоном.
Приток атмосферного воздуха обеспечивается под действием разрежения, создаваемого в цилиндрах двигателя во время первого такта (поршень движется в нижнее крайнее положение, впускной клапан открыт, в цилиндре создается разрежение, которое стремится заполнить воздух).

Дроссельная заслонка необходима для изменения сечения проходного отверстия за смесительной камерой, с ее помощью регулируется количество топливно-воздушной смеси, поступающей в цилиндры двигателя. Она непосредственно связана с педалью газа. Водитель, нажимая на педаль, открывает заслонку, и чем больше угол открытия, тем большее количество рабочей смеси поступает в цилиндры.
На деле устройство карбюратора оказывается несколько сложнее, поскольку простейший карбюратор, описанный выше, не способен обеспечить двигатель оптимальной по составу рабочей смесью на всех режимах работы. Водитель, помимо количества топливно-воздушной смеси, должен иметь возможность управлять ее качеством. Сделать это он может при помощи рукоятки «подсоса», связанной с воздушной заслонкой.
При вытягивании рукоятки заслонка закрывается, в смесительную камеру попадает меньше воздуха, а разрежение заполняется бензином, который высасывается из поплавковой камеры более интенсивно. Таким образом, смесь обогащается. Данное обстоятельство особенно важно для пуска мотора в мороз, когда необходима богатая смесь, способная воспламениться при отрицательных температурах.
Не все карбюраторы одинаковы
Существуют различные типы карбюраторов, различающиеся по направлению воздушного потока:
- с нисходящим потоком;
- с восходящим потоком;
- с горизонтальным.
Для карбюраторов с нисходящим воздушным потоком характерны следующие особенности: лучшая наполняемость цилиндров рабочей смесью благодаря меньшему сопротивлению потоку смеси. Как следствие, немного возрастает мощность двигателя (на 3-4%). Второе преимущество таких карбюраторов заключается в более удобном обслуживании, поскольку они располагаются выше. Эти преимущества обуславливают более широкое их применение в автомобилях, чем других.
Наиболее существенный недостаток карбюраторов с нисходящим потоком является то, что при возникновении неисправностей, неправильной эксплуатации или плохом испарении бензина горючее в чистом виде стекает во впускной трубопровод, а из него в цилиндры двигателя, смывая смазку с зеркала, после чего попадает в картер и разжижает масло.
Главное достоинство карбюраторов с горизонтальным потоком – лучшая форма впускного трубопровода (он имеет меньшее число изгибов).
Карбюраторы с восходящим потоком применялись на ранних этапах автомобилестроения, на современные машины они не устанавливаются.

В зависимости от количества цилиндров двигателя устройство карбюраторов может усложняться. Так, в восьми — и двенадцатицилиндровых моторах форма и размеры впускного коллектора не позволяют обеспечить равное наполнение топливно-воздушной смесью всех цилиндров. Для устранения этой проблемы необходимо применение сдвоенных карбюраторов. Соответственно, устанавливается и два впускных коллектора.
Сдвоенный карбюратор, несмотря на более сложное устройство, обеспечивает большую топливную экономичность двигателя и мощность. В отличие от обычного, одинарного, он имеет две смесительных камеры, две дроссельных заслонки, расположенных на одной оси, два главных дозирующих устройства и устройства холостого хода. В остальном эти разные виды имеют одинаковое строение.
znanieavto.ru
