применение брелока, дистанционный запуск автосигнализации по температуре и времени и видео
Сигнализация Томагавк Х5 является устройством, обеспечивающим защиту транспортных средств от угона. Система подходит для монтажа на все типы авто независимо от объема двигателя и топлива, которое используется в машине.
Комплектации
Автосигнализация состоит из следующих элементов:
- Модуль управления противоугонной системой.
- Основной пульт для управления и настройки, оборудуется жидкокристаллическим дисплеем.
- Дополнительный пульт, выполненный в герметичном корпусе, но не оснащенный экраном.
- Контроллер чувствительности, предназначенный для определения физического воздействия на кузов машины. Датчик обладает двумя уровнями настройки.
- Антенный адаптер, предназначенный для передачи и приема импульсов.
- Температурный контроллер.
- Реле блокировки, предназначено для блокирования силового агрегата в случае взлома.

- Комплект проводов для установки и подключения.
Технические характеристики
Касательно основных технических характеристик:
- величина напряжения, необходимого для питания противоугонной установки, составляет 12 Вольт;
- параметр тока, который потребляет система при активированном зажигании – 165 мА;
- величина рабочей частоты сигнализации равна 433,92 Мгц;
- по типу передачи сигнала – FM-частотная;
- радиус действия от пульта к сигнализации составляет до 1200 метров на открытой местности.
Пользователь Mihran Khachikyan рассказал о том, как функционирует опция автозапуска на машине с противоугонной установкой Tomahawk.
Основные функции
Какие опции имеет противоугонная установка:
- автоматический пуск машинного мотора по времени, таймеру либо в соответствии с указанной при настройке температурой окружающей среды;
- опция турботаймера;
- функция антисканера, использующаяся для защиты канала связи от перехвата импульсов;
- опция обратной связи, позволяющая узнать о воздействии на машину и рабочих зонах, которые среагировали на включение;
- механизм контроля открытия дверей, капота, а также включения зажигания;
- дополнительное устройство для блокирования мотора;
- система оснащается встроенным иммобилайзером;
- индивидуальный настраиваемый ПИН-код;
- опция включения аварийного защитного режима, а также возможность тихой активации охраны;
- функция включения защитного режима при запущенном моторе;
- двухуровневая активация режима защиты;
- есть возможность установки вспомогательного контроллера удара;
- центральный замок;
- возможность настройки сигнала ЦЗ;
- двухуровневое открытие ЦЗ;
- автолюбитель может отдельно управлять центральным замком, если мотор машины запущен;
- благодаря встроенному реле осуществляется блокирование ДВС при попытке незаконного запуска;
- наличие трех дополнительных программируемых каналов;
- опция задержки света в салоне машины;
- опция вежливой подсветки;
- благодаря основному и вспомогательному температурному контроллеру система всегда будет заводиться в автоматическом режиме при четко установленной температуре;
- к сирене автосигнализации владелец машины может подключить штатный рулевой сигнал;
- наличие опции обхода неработающих зон противоугонной установки;
- защита автосигнализации от ложных срабатываний;
- диодный индикатор позволяет точно определить состояние противоугонной установки;
- опция “паника”, предназначена для отпугивания потенциальных злоумышленников;
- если водитель начнет движение с открытой дверью, сигнализация предупредит его об этом;
- для настройки и аварийного отключения сигнализации может использоваться сервисная кнопка Валет;
- у автолюбителя есть возможность удаленной активации и деактивации сирены;
- можно дистанционно отключить контроллер удара, если система срабатывает без причины;
- водитель может по зонам настроить удаленное отключение основного или вспомогательного контроллера удара;
- выполнение всех опций подтверждается звуками и световыми огнями;
- имеется функция подсветки пульта с жидкокристаллическим дисплеем;
- брелок управления оснащается таймером, часами, а также будильником;
- есть функция вибрации брелка;
- на дисплее пульта отображается информация об уровне заряда аккумулятора пульта;
- есть опция контроля температуры в салоне автомобиля;
- при необходимости автовладелец может настроить режим экономии заряда аккумулятора брелка;
- опция контроля зоны действия;
- опция вызова автовладельца;
- опция безопасного вождения машины;
- наличие функции бесшумного поиска транспортного средства, при ее активации сирена не сработает, включатся только световые огни;
- возможность удаленного открытия багажника;
- опция дистанционного старта или остановки мотора по защищенному каналу связи.

Пользователь Александр Шкуревских привел обзор брелка сигнализации Томагавк Х5.
Плюсы и минусы
В соответствии с отзывами выделим основные достоинства сигнализации:
- Наличие опции автозапуска. Большинство пользователей выделяют это достоинство и утверждают, что функция активации силового агрегата удаленно функционирует без нареканий. Независимо от типа двигателя и коробки передач.
- Понятное руководство, благодаря которому автовладелец сможет самостоятельно осуществить монтаж и настройку противоугонной установки.
- Возможность запроса о состоянии противоугонной системы пультом управления.
- Мощный и громки сигнал, позволяющий отпугнуть потенциальных злоумышленников.
- Доступная стоимость. По утверждению многих пользователей, эта сигнализация является оптимальным вариантом в плане соотношения стоимости и качества.

- При необходимости можно отключить ложные срабатывания.
Но наряду с этими плюсами потребители выделяют и недостатки:
- Противоугонная система беззащитна при использовании граббера. Несмотря на функцию антиграббера злоумышленники все же могут взломать автосигнализацию.
- Низкая дальность действия. По утверждению некоторых потребителей, радиус действия сигнализации составляет менее одного километра.
- Противоугонная система подвержена помехам. Водители, проживающие в крупных городах, отмечают, что иногда в центре населенного пункта невозможно включить или отключить сигнализацию. Это происходит из-за того, что помехи перекрывают сигнал.
- Иногда противоугонная система зависает, речь идет конкретно о брелке. Водитель отправляет команду с пульта, но она не доходит до блока управления.
Канал Ремонт авто своими руками подробно рассмотрел все особенности противоугонной системы Томагавк Х5 в своем ролике.
youtube.com/embed/crvPl_y1rW0?rel=0&controls=0&showinfo=0″ frameborder=»0″ allowfullscreen=»allowfullscreen»/>Инструкция по эксплуатации
Руководство по применению системы прилагается к противоугонной установке. Если по каким-то причинам комплектация модели, которую вы приобрели, не включает в себя сервисный мануал или вы потеряли инструкцию, то ее можно найти и прочитать в интернете. Здесь мы разберем основные функции, которые может выполнять брелок.
Активация режима защиты
Режим активируется следующим образом:- На основном пульте нажимается кнопка в виде закрытого замка.
- При активации функции поворотные огни автомобиля должны моргнуть один раз.
- Включение режима охраны сопровождается одним звуковым сигналом сирены.
- Если на машине установлены доводчики стекол, то окна поднимутся автоматически.
- Если сирена вместо одного издаст четыре звуковых сигнала и столько же раз моргнут парковочные огни, это свидетельствует о том, что система выявила и автоматически отключила нерабочую зону охраны.
К примеру, могут быть открыты двери, багажник или капот. “Сигналка” может так реагировать на отключенный ручной тормоз. При этом на экране пульта вы увидите, какая именно зона охраны не сработала. Когда неисправность будет устранена, сигнализация автоматически возьмет проблемную зону под защиту.
Без срабатывания сирены
Можно активировать охранный режим без включения сирены, основные особенности этой функции:
- Для включения защиты надо нажать на кнопку отключения звука, индикатор выполнен в виде перечеркнутого громкоговорителя. Клавиша нажимается один раз.
- При активации этого режима все сообщения и подтверждения от противоугонной системы будут отправляться сигнализацией только на пульт. Сирена срабатывать не будет.
- В результате активации поворотные огни машины должны мигнуть один раз.
- На дисплее основного пульта управления этот режим обозначается как автомобиль с замком и зачеркнутым клаксоном.
- Допускается активация этого режима и его отключение в то время, когда транспортное средство находится в состоянии защиты.
Для включения надо нажать на индикатор в виде перечеркнутого громкоговорителя.
Норд Авто снял видеоролик, в котором показано, как можно настроить срабатывание автозапуска двигателя по времени.
Активация охраны с работающим мотором
Противоугонная система Томагавк Х5 позволяет поставить машину на охрану с запущенным силовым агрегатом, для этого надо сделать следующее:
- Запустите мотор своей машины.
- Выйдите из салона авто, закройте все двери и капот.
- Нажмите на индикатор в виде закрытого замка, под которым располагаются две английские буквы Z. Это приведет к закрытию всех дверей.
- После этого на протяжении трех секунд надо нажать на эту же кнопку еще раз. Это приведет к тому, что система издаст один звуковой сигнал, столько же раз моргнут поворотные огни.
- Чтобы отключить этот режим, необходимо нажать на кнопку с индикатором открытого замка и ключом.

Автопостановка на охрану
Программирование режима автопостановки на охрану:
- Чтобы включить этот режим, необходимо нажать и удерживать кнопку в виде закрытого замка до момента, пока пульт управления не издаст один мелодичный сигнал.
- Об активации может свидетельствовать изменение цвета диодной лампочки на дополнительном пульте, он поменяется на зеленый.
- При активации режима автосигнализация оповестит владельца одним звуковым сигналом. Включение защиты происходит спустя десять секунд.
- На дисплее основного пульта данный режим обозначается в виде автомобиля, рядом с которым расположена надпись AUTO ARM.
- Учтите, что закрытие дверей при активации режима автопостановки на защиту программируется. Для этого надо более детально изучить сервисный мануал.
Деактивация режима
Чтобы отключить охранный режим, нажимается кнопка в виде открытого замка с ключом. При этом поворотные огни автомобиля должны моргнуть два раза, а сирена издаст двойной звуковой сигнал, когда речь идет не о режиме с отключенным звуком.
Двери автомобиля при этом откроются, а если правильно подключены все элементы, то активируется вежливая подсветка салона.
Пользователь Димон Ко в своем ролике вкратце рассказал о настройке функции автоматического запуска двигателя автомобиля с сигнализацией Томагавк Х5.
Активация автозапуска
Для активации функции дистанционного пуска ДВС надо правильно настроить безопасный режим:
- Для этого потяните за рычаг ручного тормоза, мотор при этом должен быть запущен.
- Затем нажимается кнопка в виде открытого замка с ключом. Пульт управления должен издать один звуковой сигнал. Если используется дополнительный брелок, то диодный индикатор на нем должен поменять свой цвет на зеленый.
- В течение трех секунд после первого нажатия кнопка жмется еще раз.
- Затем надо отключить зажигание, силовой агрегат при этом продолжит работать.

- На протяжении тридцати секунд надо открыть дверь, покинуть машину и закрыть ее. На этом подготовка к дистанционному запуску завершена.
Чтобы активировать дистанционный старт ДВС, сделайте следующее:
- Нажмите на кнопку в виде открытого замка с ключом. Удерживайте ее до того момента, пока брелок не издаст один звуковой сигнал. Либо же на дополнительном пульте должен измениться цвет светодиодного индикатора.
- В течение трех секунд после звукового сигнала кнопка нажимается еще раз.
- Если функция запрограммирована верно, то двери машины должны закрыться. Силовой агрегат при этом заведется, он будет функционировать на протяжении определенного времени, настроенного заранее. Когда это время пройдет, мотор заглушится. Диодный индикатор сигнализации будет гореть без перерыва, а поворотные огни – мигать.
Условия активации
Реализация этой функции невозможна если:
- селектор трансмиссии установлен в положение какой-либо скорости, допускается только активация нейтрального режима;
- зажигание активировано;
- капот автомобиля открыт;
- отключен рычаг ручного тормоза;
- активирован сервисный режим Валет.

Канал Норд Авто в своем ролике показал, как осуществляется настройка автоматического пуска мотора машины по температуре.
Как установить?
Устанавливать и подключать противоугонную систему можно самостоятельно. С помощью схемы, указанной в комплектации, можно подсоединить все элементы автосигнализации.
Как установить “сигналку”:
- Выберите место для монтажа управляющего модуля. Центральный блок должен располагаться в недоступном для злоумышленника месте. Важно, чтобы оно было сухим. При выборе места для установки центрального блока учтите, что воздействие высоких температур и влаги приведет к его поломке. Чаще всего блок ставится под центральной консолью, за бардачком или приборной панелью. Последний вариант считается оптимальным, поскольку при таком местоположении злоумышленнику придется потратить больше времени на получение доступа к устройству.
Для установки снимите облицовочные элементы рулевой колонки. Надежно зафиксируйте блок саморезами, чтобы он не вибрировал во время движения. - Откройте капот и выберите место для монтажа сирены. Установка этого устройства должна осуществляться рупором вбок или вверх. Если он будет направлен вниз, то к нему может прилипать грязь, которая впоследствии станет причиной некорректного функционирования устройства. Сирену надо установить как можно дальше от двигателя. Воздействие высоких температур от силового агрегата выведет устройство из строя. Провода от сирены надо прокинуть через специальное технологическое отверстие из моторного отсека в салон.
- На лобовом стекле монтируется антенный адаптер со светодиодным индикатором. Антенну надо зафиксировать так, чтобы она была на расстоянии не менее 5 см от металлических частей кузова. При близком расположении приемопередатчика к металлу передача сигнала будет осуществляться с помехами. Такое месторасположение приведет к снижению радиуса действия сигнализации.
В некоторых случаях “сигналка” вовсе не будет реагировать на команды, отправляемые пультом. - Установите датчик удара. Его лучше поставить в центральной части кузова, к примеру, под сиденьями или за обшивкой потолка. Если используется несколько контроллеров чувствительности, то их лучше расположить по периметру кузова. Датчики фиксируются на саморезы.
- Монтаж датчика температуры осуществляется в моторном отсеке. Контроллер врезается в патрубок охладительной системы. Это место наиболее оптимально. Надежно зафиксируйте датчик, чтобы он не оторвался и не пошел по магистралям системы.
- Реле блокировки ставится на замке зажигание.
- Когда все компоненты сигнализации будут установлены, производится укладка проводов и их подключение к центральному блоку. Кабели укладываются под облицовкой салона автомобиля, порогами. При монтаже проследите за тем, чтобы на электроцепи не оказывали воздействия движущиеся механизмы. Иначе провода будут повреждены.
Как настроить?
Чтобы настроить функции, владелец противоугонной системы должен поменять ПИН-код и запрограммировать брелок.
Замена ПИН-кода
Изначально сигнализации присваивается пароль 1-1.
Как правильно заменить:
- Зажигание автомобиля отключается.
- Четыре раза нажимается сервисная клавиша Валет или Овервайд.
- Затем включается зажигание. В подтверждение функции сирена автосигнализации должна издать четыре гудка.
- После этого сервисная кнопка нажимается еще раз.
- Используя один из брелков, можно задать первую цифру пароля.
- Если все сделано верно, то сирена “сигналки” сработает.
- Чтобы ввести вторую цифру кода, надо повторить действия, описанные в пунктах 4 и 5. Допускается использование любой комбинации от 1-1 до 4-4.
После того как пароль был изменен, его надо задействовать:
- Отключите зажигание в машине.
- Нажмите пять раз на сервисную кнопку Валет, это надо успеть сделать в течение десяти секунд после отключения зажигания.
- Затем зажигание включается. Сирена должна издать пять звуковых сигналов.

- Когда они прозвучат, сервисная кнопка нажимается еще один раз.
- Должен раздаться один короткий звуковой сигнал.
- Действия, указанные в пунктах 4-5, повторяются 14 раз.
- Когда раздадутся звуковые сигналы, на пульте управления надо нажать кнопки 2, 3 и 4.
- После этого можно отключить режим настройки. Для этого надо подождать десять секунд или отключить зажигание.
Программирование брелка
Перед использованием противоугонной системы надо запрограммировать новый брелок, процедура настройки осуществляется так:
- Зажигание автомобиля отключается.
- Сервисная кнопка сигнализации нажимается семь раз.
- Затем зажигание активируется. Сирена “сигналки” должна издать семь звуковых сигналов. Это говорит о том, что система готова к программированию.
- После этого сервисная кнопка отпускается.
- Затем автовладельцу надо одновременно нажать кнопки для открытия и закрытия дверей.
Если процедура программирования завершена успешно, сирена издаст звуковой сигнал. - Зажигание автомобиля отключается. Это приведет к автоматическому выходу из программирования. Также выход из этого режима произойдет в том случае, если в течение шести секунд с пульта не будут отправляться команды на блок управления.
В общей сложности автовладелец может записать в память противоугонной системы до четырех пультов.
Процедура программирования должна осуществляться при отключенном охранном режиме. Если вы записываете в память сигнализации новые пульты, то важно перезаписать и старые устройства. В противном случае они автоматически удаляются из памяти системы.
Скачать инструкцию по установке и эксплуатации сигнализации Томагавк в формате PDF
Сервисное руководство, которое позволит пользоваться и настроить работу сигнализации, можно загрузить по ссылке:
| Руководства на русском языке по эксплуатации и установке сигнализации | |
| Инструкция по эксплуатации и установке Tomahawk X5 |
..Видео «Как производится автозапуск двигателя с сигнализацией Томагавк Х5»
Пользователь Николай Капитонов в своем ролике продемонстрировал, как осуществляется процедура автоматического пуска силового агрегата.
инструкция по установке и эксплуатации, схема подключения автосигнализации, программирование и настройка автозапуска
Защита от ложных срабатыванийПамять состояния Память о сраба…
Страница 4
- Изображение
- Текст
Защита от ложных срабатываний Память состояния
Память о срабатывании Индикация статуса системы светодиодным индикатором
Режим «Паника”
Режим «Valet”
Режим «Anti-Hijack” Режим «тихой» охраны
Дистанционное выключение/включение сирены
Дистанционное позонное отключение датчика удара Дистанционное позонное отключение дополнительного датчика
Программируемые брелоки
Информация о запрограммированных брелоках
Брелок-пейджер с LCD Визуальное и звуковое подтверждение выполняемых функций
Визуальная индикация всех сработавших триггеров и состояния системы Подсветка LCD Встроенные часы
Встроенный таймер Встроенный будильник
Индикация уровня заряда батареи питания
Режим вибрации Режим экономии энергии батареи питания
Блокировка кнопок брелока-пейджера
Контроль зоны действия брелока-пейджера
Отображение изменений состояния системы на всех запрограммированных брелоках- пейджерах Функция безопасного вождения
Поиск/тихий поиск автомобиля
Дистанционное открывание багажника Функция предупреждения о не закрытой двери во время движения
Контроль температуры в салоне а/м
Контроль температуры двигателя а/м Защищенный дистанционный запуск/глушение двигателя
Почасовой автоматический запуск двигателя
Автоматический запуск двигателя в заданное время
Автоматический прогрев двигателя по заданной температуре
Возможность подключения функции запуска на а/м с автоматической или механической коробкой передач
Возможность подключения функции запуска на а/м с бензиновым или дизельным двигателем
Турботаймер
4
Настройка сигнализации
Перед началом использования брелока-пейджера в него надо установить автономный элемент питания.
Батарейка вставляется в специальный отсек, расположенный за задней крышкой устройства.
Замена ПИН-кода
Алгоритм замены кода:
- При выключенном зажигании 4 раза нажимается кнопка «Оверрайд».
- Зажигание активируется, и сирена четырежды подаст сигнал.
- Нажимается кнопка входа в сервисный режим.
- С брелока посредством нажатия клавиш вводится первая цифра ПИН-кода. Последний состоит из любой комбинации цифр в диапазоне от 11 до 44. При правильном вводе сирена несколько раз подаст сигнал.
- Ввод второй цифры кода осуществляется аналогично.
- Зажигание выключается, и пользователь 5 раз быстро нажимает кнопку активации аварийного режима.
- Производится включение зажигания, после чего сирена сработает 5 раз.
- Нажимается кнопка входа в сервисный режим, и звучит сирена. Данное действие нужно повторить 14 раз.
- Когда сигнализация начнет работать звуковыми импульсами, на коммуникаторе одновременно нажимаются клавиши 2,3 и 4.

- Чтобы выйти из режима программирования, надо подождать 10 секунд или включить зажигание.
Программирование брелока
Чтобы активировать брелок, надо осуществить привязку коммуникатора к блоку управления таким образом:
- При выключенном зажигании кнопка входа в аварийный режим нажимается 7 раз и удерживается в нажатом состоянии.
- Зажигание активируется, и сирена звучит 7 раз.
- Кнопку аварийного режима надо отпустить.
- На брелоке одновременно нажимаются кнопки закрытия и открытия дверей.
Сирена сигнализирует о выполнении привязки. - Для выхода из режима программирования брелока зажигание выключается.
Охранная система комплектуется двумя типами брелоков. Рисуно…
Страница 5
- Изображение
- Текст
Охранная система комплектуется двумя типами брелоков.
Рисунок 1
— брелок с LCD (Liquid Crystal Display — жидкокристаллический дисплей) отображает информацию о состоянии автомобиля при помощи пиктограмм (иконок).
Рисунок 2
— брелок стандартного типа влагозащищенный (дополнительный).
3. Брелоки дистанционного управления
Брелок с LCD представляет собой миниатюрный приемопередатчик, работающий от
батареи типа ААА- 1.5 В, срок службы которой зависит от условий эксплуатации.
Не забывайте заблаговременно менять элемент питания!
Брелоки имеют четыре кнопки управления: кн. [ ], кн. [ ], кн. [ ] и кн. [ ]. При
нажатии одной кнопки или комбинации кнопок встроенный процессор формирует закодированную команду, которая выполненяется основным блоком. Каждый следующий код отличается от предыдущего (антиграббер). После выполнения команды основной блок посылает сообщение о выполнении на все запрограммированные в память брелоки с LCD дисплеем.
Рис. 1
Рис. 2
5
Приобретение и установка
Брелку томагавк x5 доверились уже тысячи автовладельцев, он надежен и довольно прост в использовании благодаря простому интерфейсу. А так же радует владельца множеством дополнительных функций, что облегчает жизнь и хранит ваше авто от постороннего вмешательства.
При покупке tomahawk модель x5 пользуйтесь проверенными интернет магазинами, а так же не покупайте охранную систему на рынке. Установку проводите только в специализированных салонах где работы проведут профессионалы и дальнейшее использование системы будет доставлять только удобство своему владельцу.
youtube.com/embed/EdvSO6TMC7g?feature=oembed» frameborder=»0″ allow=»accelerometer; autoplay; encrypted-media; gyroscope; picture-in-picture» allowfullscreen=»»/>Для того чтобы включить режим охраны необходимо нажать кнопк…
Страница 9
- Изображение
- Текст
Для того чтобы включить режим охраны необходимо нажать кнопку .
Парковоч-
ные огни вспыхнут 1 раз, сирена издаст 1 “ЧИРП”, подтверждая вход в режим охраны, двери
и окна закроются (если подключено).
Индикация LCD:
Внимание!
В случае, если при постановке в охрану сирена издаст 4 “ЧИРПа” и парковочные
огни вспыхнут 4 раза, это означает, что система обнаружила и отключила неисправную зону охраны (открыта дверь, капот, багажник, не включен стояночный тормоз). На LCD
брелока-пейджера отобразится неисправноя зона охраны. Система автоматически
возьмет её под охрану, как только она будет исправлена (дверь, капот, багажник будут
закрыты, стояночный тормоз включен).
6. Постановка в охрану
7. Постановка в охрану с отключением сирены
Для того чтобы включить режим охраны с отключением звуковых оповещений сирены
(все сообщения и подтверждения посылаются системой только на брелоки-пейджеры) необходимо нажать кнопку один раз. Парковочные огни вспыхнут 1 раз, подтверждая
вход в режим охраны, двери и окна закроются (если подключено).
Индикация LCD:
Примечание.
Также Вы можете включать и выключать этот режим в то время, когда а/м находится в
режиме охраны нажатием кнопки .
8. Постановка в охрану с заведенным двигателем
В этой модели TOMAHAWK предусмотрена возможность охраны а/м с заведенным
двигателем. Для включения этого режима необходимо:
1. Завести двигатель. 2. Выйти из автомобиля, закрыть двери, капот, багажник.
3. Нажать кнопку , замки дверей закроются. 4. В течение 3-х сек. после выполнения шага №3 нажать кнопку еще раз, сирена
издаст 1 “ЧИРП”, парковочные огни вспыхнут 1 раз.
9
Как перезагрузить
Владелец не может перезагрузить сигнализацию Томагавк, поскольку оборудование не поддерживает подобный алгоритм. При отключении электрического питания центральный блок сохраняет настройки в энергонезависимой памяти, при восстановлении питания комплекс возвращается в исходное состояние. Охранное оборудование Tomahawk не оcнащено портами для подсоединения к компьютеру, выполнить перезагрузку или замену заводской прошивки центрального блока в бытовых условиях невозможно.
Читать дальше: Сколько стоит штраф под знаком остановка запрещена
Допускается открыть машину, оснащенную комплексом 9010, по аварийной методике, используя заводской ключ. После включения тревоги владелец садится за руль и активирует поддержку зажигания. Затем производится 4-кратное воздействие на кнопку программирования, после чего ключ вынимается из замка. Если тревога прекратилась, а машина подала двойной сигнал сиреной и лампами, то необходимо запустить мотор и переехать на другую парковочную площадку. Затем владелец повторно пробует включить и отключить защиту при помощи пульта.
Индикация LCD: Внимание…
Страница 10
- Изображение
- Текст
Индикация LCD:
Внимание!
В этом режиме датчик удара и дополнительный датчик отключены.
Для отключения режима охраны с заведенным двигателем нажмите кнопку , двери
откроются, режим охраны будет отключен.
Индикация LCD:
9. Автопостановка в охрану
Если функция автопостановки активирована, то, после выключения зажигания и
закрытия всех дверей а/м, система оповестит владельца 1 “ЧИРПом”, и через 10 сек.
включит режим охраны.
Данная функция включается и выключается удержанием кнопки до подачи звуково-
го сигнала брелоком-пейджером (или смены цвета светодиода на дополнительном брелоке
на зеленый) и последующим нажатием кнопки .
Индикация LCD:
Внимание!
Запирание дверей при автоматической постановке в охрану программируется (см.
таблицу программирования охранных функций).
10. Автоперепостановка в охрану
Если Вы отключили режим охраны, или это произошло случайно, то в течение 30-ти
секунд система автоматически вернется в режим охраны при условии, что Вы не открывали
дверь, капот, багажник и не включали зажигание.
Внимание!
Запирание дверей при автоперепостановке в охрану программируется (см.
таблицу программирования охранных функций)
10
Комментарии
Выделить → Я нашёл инструкцию для своей автосигнализации здесь! #manualza
В отдалённых ракетных гарнизонах служат очень простые парни и понятные инструкции писать не боятся.
Например, в одной инструкции ракетной части СибВО была такая запись: — Дежурному оператору запрещается спать положив голову на пульт управления ракетной установкой, чтобы слюни из открытого рта не замкнули электрические контакты.
Мануалза!manualza.ru
Всё ещё не с нами?
Инструкция по применению
Для подключения и настройки сигнализации следует изучить руководство по эксплуатации и применению.
Как подключить?
Автосигнализация Томагавк подключается по классической схеме, которую содержит инструкция по эксплуатации. Перед установкой выключите двигатель и отключите отрицательную клемму на аккумуляторе.
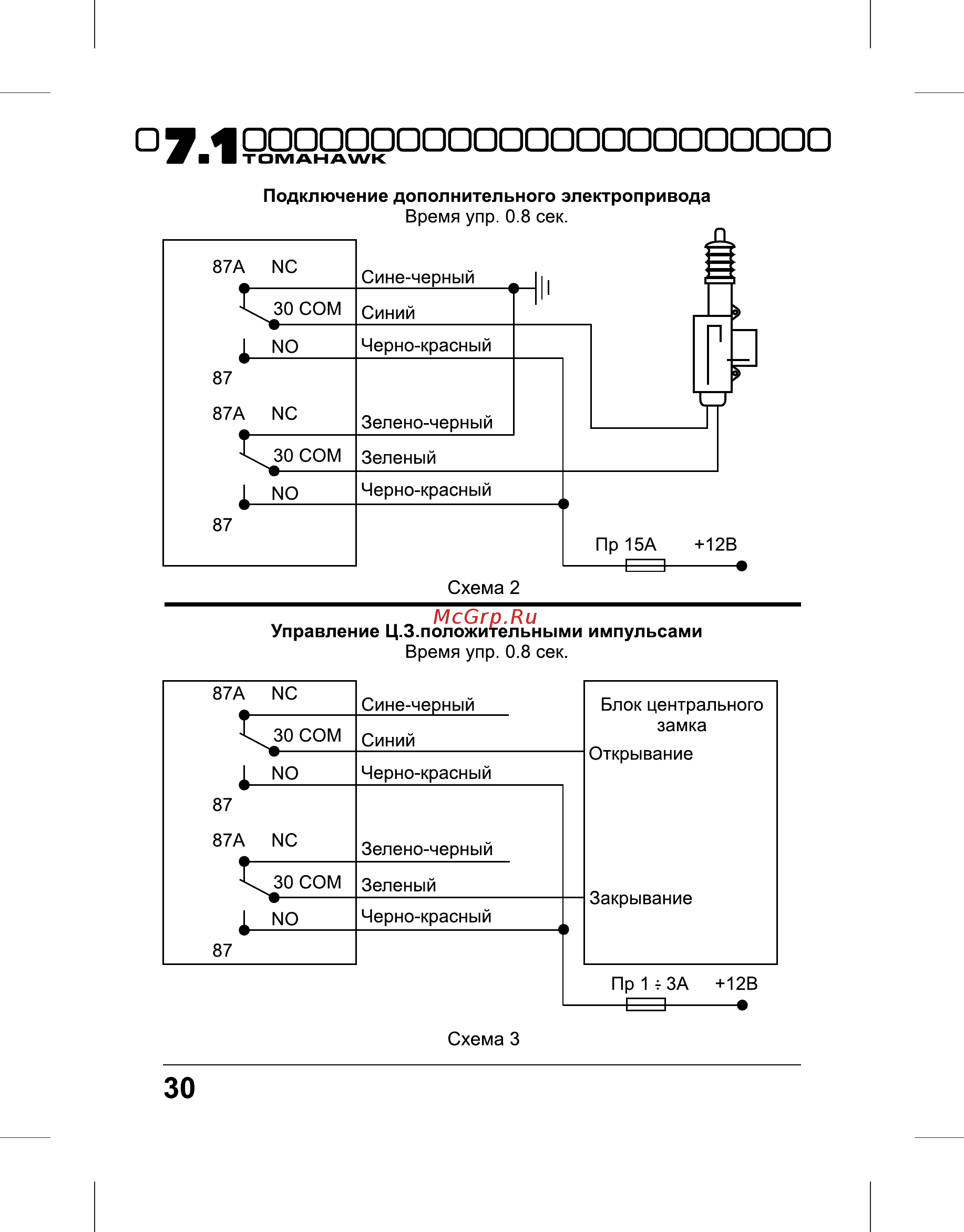
Схема подключения сигнализации
Затем выберите для всех компонент сигнализации место установки, руководствуясь следующими принципами:
- секретность расположения;
- удаленность от источников тепла и влаги;
- расположение на максимальном расстоянии от других электронных систем авто, чтобы исключить помехи.

Таким образом, элементы располагают по следующим правилам:
- Основной блок устанавливают внутри салона.
- Антенну следует поместить как можно выше для получения лучшего сигнала, при этом она не должна соприкасаться с металлическими деталями и электропроводкой.
- Сирена устанавливается в подкапотном пространстве. Рупор следует опустить вниз, чтобы не скапливалась внутри влага.
- Датчик удара устанавливать нужно внутри салона, желательно по центру машины.
- Концевики багажника и капота помещаются в защищенных от влаги местах.
Подключение всех проводов выполняется согласно схеме подключения, которую можно посмотреть в руководстве пользователя.
Как настроить?
После подключения проводов следует выбрать тип КПП с помощью перемычки. Далее подключается центральный замок, настраивается чувствительность датчика удара.
При слишком высокой чувствительности датчика возможны ложные срабатывания.
Настраивается датчик следующими действиями:
- сначала включается режим программирования;
- затем выбирается чувствительность по шкале от 1 до 10;
- увеличивать чувствительность следует постепенно.
Если необходимо отметить введенные настройки, это делается путем нажатия кнопки Override.
Брелок с ЖК дисплеем
Сигнализация Tomahawk TW-9100: инструкция пользователя
Созданная производителем инструкция сигнализации Томагавк 9100 указывает на присутствие ряда функций, делающих систему практически универсальной в применении. Охранная система относится к числу полнофункциональных автосигнализаций с автозапуском, является представителем начального ценового диапазона, предназначена для установки на легковых автомобилях. Подключение возможно на машины с бензиновым или дизельным двигателем, с автоматической или ручной коробкой передач. Между брелком и основным управляющим элементом есть обратная связь – функция, благодаря которой на дисплей пульта выводится информация о текущем состоянии автомобиля.
Вы можете cкачать официальную инструкцию.
Томагавк 9100: брелок
В комплект поставки включается два разных пейджера, один основной, второй дублирующий. Оба могут использоваться для постановки машины на охранную сигнализацию, но только первый имеет встроенный дисплей для отображения состояния системы и её настройки. В память основного блока можно записать до 4-х брелков. При этом процедуру получится выполнить самостоятельно, последовательно действуя.
- Зажигание выключается.
- Спрятанная кнопка OVERRIDE нажимается 7 раз с небольшим промежутком.
- Включается зажигание. Система должна сделать 7 гудков, которые будут означать вход в режим программирования.
- На новом или штатном брелке одновременно нажимают клавиши открытия капота и звука.
Подобная процедура характеризуется рядом важных нюансов. Они следующие:
- все пульты удаляются из памяти. Поэтому при программировании приходится использовать все устройства;
- если в течение 6 секунд после активации системы не совершаются действия, то она выходит из режима записи пейджеров.

Есть возможность провести привязку дополнительных брелков. Процедура проводится следующим образом.
- Включается зажигание, но двигатель не должен быть заведён.
- Зажимается и удерживается клавиша OVERRIDE.
- После этого появляется 4 сигнала сирены, оповещающие о входе в режим настроек.
- Далее зажимаются две клавиши и пульт записывается в память управляющего блока. Программирование брелка проводится при использовании специальной клавиши Овериде, которая может быть спрятана в различных недоступных местах автомобиля.
Фото дополнительного брелка Tomahawk TW 9100
Второй управляющий пейджер выполнен в сдержанном классическом стиле, при изготовлении корпуса применяется пластик. Большинство функций и режимов может быть активировано с этого управляющего устройства.
Пульт имеет 4 клавиши. Максимальный радиус действия составляет 15 метров, передача информации проводится по радиоканалу 433,92 МГц. В качестве источника питания используется батарейка CR2032 3V.
Совместимость пультов: брелок аналог
В некоторых случаях приходится заменять штатный пейджер на аналог. Взаимозаменяемость – свойство, которое позволяет программировать различные виды передатчиков. Томагавк ТВ 9100 совместим с коммуникатором TW 7100.
В продаже есть похожие управляющие устройства других производителей. Вместо TW 9100 ещё подходят пейджеры от Х5 и Х3. Процедура программирования в этом случае ничем не отличается, только зажимаются другие управляющие клавиши.
Инструкция по применению Tomahawk 9100
Охранная система проста в использовании. Мануал предусматривает её установку, настройку, программирование брелков. Краткий список существенных функций:
- автоматическая постановка транспортного средства на охрану;
- двухшаговая процедура снятия системы с охраны;
- дистанционный запуск двигателя или автоматический прогрев в заданное время, по температуре окружающей среды;
- функция самодиагностики;
- датчик, определяющий открытие дверей, багажного отделения или капота;
- установленный датчик удара двухуровневый.
Он определяет лёгкие и сильные удары; - функция обхода неисправных зон. При незакрытом багажнике автомобиль также автоматически ставится на сигнализацию;
- режим «тихой» охраны с передачей тревожного сигнала.
После выбора требуемых режимов многие функции работают в автоматическом порядке. При этом система подходит для автомобилей, которые заводятся от кнопки.
Инструкция пользователя Томагавк TW 9100 была выпущена производителем охранной системы. Её можно скачать бесплатно у нас для более тонкой настройки функций.
Антенна брелка: фото
Двусторонняя связь позволяет контролировать состояние автомобиля, основная информация отображается на дисплее. Пульт оснащён антенной, через которую осуществляется передача сигнала.
Главный брелок может отдавать и воспринимать информацию на расстоянии до 30 метров. У вспомогательного пейджера радиус действия снижен до 15 м.
Как выглядит кнопка Овериде на Томагавк 9100
У охранной системы есть клавиша управления Override.
Она используется при установке, а также при программировании новых брелков. Выполнена она в виде кнопки в пластиковом корпусе, которая отводится от основного блока управления.
Прячут её в самых различных местах, зачастую в салоне автомобиля. Главная задача при установке Оверрайд – исключить вероятность, что посторонние лица получат доступ. При программировании Override часто нажимают для ввода системы в нужный режим.
Инструкция по автозапуску
Томагавк ТВ 9100 может автоматически запускать двигатель в заданное время. Активация и настройка этой функции через главный брелок осуществляется следующим образом.
- Одновременно зажимаются клавиши, обозначающие закрытие двери и отключения сигнала.
- Далее сирена издаёт ЧИРП, который подтверждает включение прогрева по времени. В этот момент на дисплее появляется соответствующая иконка.
- После активации функции со следующего дня система начнёт автоматически заводить двигатель в тоже время.
Для активации 1, 2, 4, 12-ти часового запуска на момент выбора соответствующей функции в течение 5 секунд нажимается одна из клавиш, которая относится к определённому периоду.
Настроить запуск по температуре
Комплект поставки защитной системы предусматривает наличие датчика температуры, который устанавливается под капотом. За счёт него можно использовать функцию автоматического запуска двигателя для его прогрева. При отсутствии наружного датчика Tomahawk 9100 работает по показателям внутреннего.
Активация функции проводится через главный управляющий брелок. Её настройка выполняется следующим образом.
- Одновременно зажимаются и удерживаются клавиши закрытия дверей и капота.
- Огни должны вспыхнуть один раз.
- После этого на дисплее пульта появится соответствующая иконка и показатель градусов, при которой система будет срабатывать.
Прогрев двигателя может осуществляться при -50 С, -100 С, -200 С и -300 С. Требуемый показатель можно выбрать на момент программирования, автозапуск по температуре проводится не чаще, чем 1 раз в 2 часа.
Как снять автозапуск на сигнализации Томагавк 9100
Режим автоматического пуска двигателя может быть снят путём зажатия сочетаний клавиш, которое использовалось для её активации.
Выделяют несколько причин, почему автозапуск не работает:
- неправильная функционирование датчика температуры;
- неполадки с программным обеспечением;
- некорректная активация опции.
При возникновении проблемы нужно провести сброс настроек до заводских. Если это не помогло, следует проверить состояние датчика температуры или обратиться в автосервис.
Руководство по установке
Провести установку защитной системы можно самостоятельно. Для начала проводится выбор расположения основных элементов.
- Электронный блок размещается внутри салона автомобиля.
- Передающая антенна системного блока для дальнего распространения сигнала устанавливается на высоте. Она не должна соприкасаться с металлическими изделиями.
- Сирена монтируется в моторном отсеке. Места соединения проводов размещают внутри салона для снижения вероятности окисления.
- Датчик удара ставится в кабине в центральной части.
В инструкции по установке ( смотреть ) есть схема подключения, по которой проводится соединение отдельных элементов.
Сравнение 9100 с Tomahawk TW 7100
Обе охранные системы имеют схожий набор функций. Отличия заключаются лишь в виде основного и дополнительного брелка, а также начинке устанавливаемого блока управления.
В остальном они практически идентичны. Оба варианта могут автоматически запустить двигатель автомобиля в заданное время или по показаниям наружного датчика температуры, имеют двухстороннюю связь и многие другие функции.
Сброс на заводские настройки
У всех автомобильных сигнализаций рассматриваемого производителя процесс сброса до родных установок практически идентичен. Очерёдность действий.
- Машина открывается ключом.
- Включается зажигание.
- Десять раз шёлкается клавиша Override.
- Выключается зажигание.
- Ещё раз зажимается кнопка Овериде.
- На брелке кликается клавиша с изображением ключа.
- Включается зажигание.
Подтверждением того, что настройки были сброшены до заводских параметров становится мигание огней.
Все действия должны выполняться без задержек. Если этот способ не сработал, есть вероятность неисправности блока управления.
Томагавк TW 9100: отзывы
«Пользуюсь системой на протяжении многих лет, скажу, что стоит своих денег. Время от времени возникали проблемы, но они решаемы. Устанавливал ещё в 2010 году. Инструкция по эксплуатации хорошо проработана, есть ответы практически на все вопросы».
«Автосигнализация уже устарела по современным меркам. У меня постоянно возникали проблемы с дистанционным запуском двигателя, поэтому этой функцией больше не пользовался. Ещё часто появлялись сложности с работой системы при близком расположении со всякими радиостанциями и другими источниками помех».
Автосигнализация глючит
Выделяют несколько основных причин, из-за которых система не отвечает на команды пульта управления или не корректно работает. Они следующие:
- близкое расположение радиопомех;
- неисправность источника питания брелка или блока управления;
- износ самого устройства;
- изменение настроек синхронизации между БУ и коммуникатором.

Если система плохо видит брелок, есть вероятность того, что неправильно расположена антенна. Проблема может заключаться в программном обеспечении, прошивка системы исправит неисправность. Самостоятельно прописать её сложно, придётся обратиться в специализированный сервис.
Tomahawk TW 9100 не срабатывает часто по причине сильного износа. В этом случае приходится заменять повреждённые элементы на новые или проводить установку другой системы.
Видео обзор
39 страниц подробных инструкций и пользовательских руководств по эксплуатации
Замена брелка от сигнализации на не оригинал с алиэкспресс
Брелок для сигнализации Tomahawk TW 7000
Автозапуск на сигнализации ТОМАГАВК 9010,9020 (Tomahawk)
Привязка нового брелка TOMAHAWK TW-9030
TOMAHAWK TW-9010 — Совместимость брелков с обратной связью
Автоэлектрик за 1000р рассказывает как настроить TOMAHAWK на прогрев по температуре и по таймеру.
Как подключить брелок к сигнализации Томагавк
Замена TOMAHAWK TW-9100 на TOMAHAWK 9.9 DIALOG.
СОДЕРЖАНИЕ РУКОВОДСТВО ПОЛЬЗОВАТЕЛЯ .
Основные функции системы
Брелоки дистанционного управления
Постановка в охрану
Постановка в охрану с отключением сирены
Автопостановка и автоперепостановка в охрану
Снятие с охраны
Открывание/закрывание дверей при заведенном двигателе
Двушаговое открывание дверей/3-й канал
Дистанционный запуск двигателя
Дистанционное глушение двигателя
Прогрев двигателя по заданной температуре
Ежедневный (1, 2, 4, 12-тичасовой) автозапуск
Дистанционный опрос состояния
Дистанционное открывание багажника
2-й дополнительный канал
Дистанционное отключение датчика удара
Функции выполняемые кнопкой “Override”
Аварийная постановка/снятие с охраны
Подготовка дистанционного запуска для а/м с
механической коробкой передач
Программирование дополнительных брелоков
Режимы работы светодиодного индикатора
Замена батарейки брелока-пейджера
Программирование функций брелока-пейджера
Описание программируемых функций
ИНСТРУКЦИЯ ПО УСТАНОВКЕ
Основные принципы установки
Выбор места расположения основных блоков
Выбор механической или автоматической коробки передач
Подключение центрального замка
Настройка датчика удара
Tomahawk tw-9100, Руководство пользователя
1.
Основные функции системы
5-ти кнопочный программируемый 2-х сторонний брелок с ЖКИ.
Программируемые брелоки (до 4 шт.)
Визуальное и звуковое подтверждение выполняемых функций.
Постановка в охрану с отключением сирены.
Защищенный дистанционный запуск/глушение двигателя.
Возможность установки на а/м с автоматической или ручной коробкой
передач.
Возможность установки на а/м с бензиновым или дизельным двигателем.
Возможность устанавливать на
Контроль температуры в салоне а/м.
Дополнительный датчик температуры.
Автоматический прогрев двигателя по заданной температуре.
Ежедневный (1, 2, 4, 12-тичасовой) автоматический запуск двигателя.
Обход неисправной зоны с визуальным и звуковым подтверждением.
Двузонный датчик удара.
Дистанционное отключение датчика удара.
Защита от ложных срабатываний.
3 дополнительных канала.
Охрана дверей, капота, багажника.
Индикация заряда батареи питания брелока-пейджера.
Режим экономии энергии батареи питания брелока-пейджера.
Функция “вызова водителя”.
Встроенные в брелок-пейджер часы, будильник, таймер.
Индикация статуса системы светодиодным индикатором.
Встроенное реле центрального замка.
Двушаговое снятие с охраны.
Двушаговое открывание центрального замка.
Автоматический контроль зоны действия пейджера.
а/м, оборудованные штатной кнопкой запуска
Tomahawk tw-9100
2. Брелоки дистанционного управления.
Tomahawk tw-9100, Am pm, Функции жки
— индикация режима охраны.
— индикация режима “тихой охраны”.
— индикация закрытого центрального замка.
-индикация открытого центрального замка.
— индикация открытой(ых) двери(ей).
— индикация открытого капота.
— индикация открытого багажника.
— индикация вспышек парковочных огней.
Tomahawk tw-9100
— индикация работы приемника и передатчика брелока-
пейджера.
— индикация нахождения в зоне действия.
— индикация экономичного режима питания.
— индикация “вызова водителя”.
— индикация режима прогрева двигателя по заданной
температуре.
— индикация режима ежедневного автозапуска.
— индикация слабого удара.
— индикация сильного удара.
— индикация отключения предупредительной
зоны датчика удара.
— индикация отключения датчика удара.
— индикация режима “Anti-hijack”.
— индикация режима “Valet”
Tomahawk tw-9100, Постановка в охрану, Постановка в охрану с отключением сирены
— индикация выключенного ручного тормоза.
— индикация заведенного двигателя.
— индикация уровня батареи.
— индикация включенного таймера.
— индикация включенного будильника.
— единицы измерения температуры (С или F)
4. Постановка в охрану
Для того, чтобы поставить а/м в режим охраны необходимо нажать
кнопку 1 раз.
Парковочные огни вспыхнут 1 раз, сирена издаст 1
“ЧИРП”, подтверждая вход в режим охраны, двери и стекла закроются
(если подключено). На дисплее брелока-пейджера отобразятся иконки
и .
В случае, если сирена издаст 3 ”ЧИРПа”, это означает, что система
обнаружила и отключила неисправную зону охраны (открыта дверь,
капот, багажник не включен ручной тормоз). Система автоматически
возьмет под охрану эту зону, как только она будет исправлена (дверь,
капот , багажник будут закрыты, ручной тормоз включен).
5. Постановка в охрану с отключением сирены
Для того, чтобы поставить а/м в режим охраны с отключением
звуковых сопровождений сирены (все сообщения и подтверждения
посылаются системой только на брелок-пейджер) необходимо нажать
Tomahawk tw-9100
кнопку 1 раз. Парковочные огни вспыхнут 1 раз, подтверждая вход в
режим охраны, двери закроются. На дисплее брелока-пейджера
отобразятся иконки и .
Также Вы можете включать и выключать этот режим в то время, когда
а/м находится в режиме охраны.
6. Автопостановка и автоперепостановка
в режим охраны
Если функция автопостановки активирована, то: при выключенном
зажигании, после закрытия всех дверей а/м система оповестит
владельца 1 длинным “ЧИРПом”, и через 10 сек. включит режим охраны
(см. таблицу программирования).
Функция автоперепостановки всегда активируется в случае если в
а/м, после снятия с охраны, не открывалась ни одна из дверей в течение
30-ти сек. система автоматически включит режим охраны.
7. Режим иммобилайзера
Режим иммобилайзера активируется автоматически спустя 30 сек.
после выключения зажигания (см. таблицу программирования).
Светодиодный индикатор в этом режиме горит постоянно. В этом режиме
запуск двигателя при помощи ключа зажигания невозможен.
Для выхода из режима иммобилайзера нажмите кн. 1 раз или
выключите зажигание и нажмите кн.
OVERRIDE 1 раз.
8. Снятие с охраны
Для того, чтобы снять а/м с охраны необходимо нажать кнопку
1 раз. Парковочные огни вспыхнут 2 раза, сирена издаст 2 “ЧИРПа” (если
система не находится в режиме охраны с отключением сирены),
подтверждая снятие а/м с охраны, двери откроются, салонное
освещение включится (если подключено). На дисплее брелока-
пейджера отобразится иконка .
9. Открывание/закрывание дверей при
Если двигатель а/м заведен от ключа зажигания, то кнопками и
Tomahawk tw-9100, Двушаговое открывание дверей или 3-й канал, Турботаймер
Дистанционный запуск двигателя
Вы можете открывать и закрывать двери. На дисплее брелока-
пейджера отображаются иконки и соответственно .
10. Двушаговое открывание дверей или 3-й канал
Эти функции недоступны одновременно! Воспользуйтесь
таблицей программирования для выбора одной из них.
1.
Выбрана функция двушагового открывания дверей.
Нажмите кнопку для снятия с охраны и открывания водитель-
ской двери. Повторное нажатие и удерживание этой кнопки открывает
остальные двери а/м.
2. Выбрана функция дополнительного канала.
Нажмите и удерживайте кнопку для активации дополнительного
Эти функции требуют дополнительного подключения при установке.
Для а/м с турбированным двигателем в Tomahawk TW-9100
предусмотрена функция турботаймера. Если эта функция активирована,
двигатель, после выключения зажигания, продолжает работать в течение
1, 3 или 6 мин. (см. таблицу прграммирования) .
12. Дистанционный запуск двигателя
Нажмите и удерживайте кнопку . Парковочные огни вспыхнут 3
раза, сирена издаст 3 “ЧИРПа”. На дисплее брелока-пейджера
отобразятся следующие иконки:
1. — попытка запуска двигателя.
2. — если завести двигатель по какой-либо причине не удалось.
3. — двигатель заведен (сопровождается мелодией
Д в и гател ь буд ет р а б отат ь в теч е н и е п р ед ва р и тел ь н о
запрограммированного времени (см.
таблицу программирования), после
чего автоматически заглушится. Время работы двигателя может быть
Tomahawk tw-9100, Дистанционное глушение двигателя, Прогрев двигателя по заданной температуре
увеличено с помощью одновременного нажатия кнопок и , по 5
мин после каждого нажатия до 20-ти минут максимум. На дисплее
брелока-пейджера отображается время, оставшееся до глушения
двигателя.
Дистанционный запуск двигателя не может быть осуществлен в
1. Рычаг коробки передач находится не в нейтральном положении.
2. Зажигание включено.
3. Капот открыт.
4. А/м не стоит на ручном тормозе.
В любом из этих случаев при попытке дистанционного запуска
сирена издаст 4 “ЧИРПа”.
13. Дистанционное глушение двигателя
В случае, если а/м был заведен с помощью дистанционного запуска
двигателя, Вы можете заглушить его удерживая кн. . Парковочные
огни вспыхнут 4 раза, сирена издаст 4 “ЧИРПа”.
На дисплее брелока-
пейджера исчезнет иконка ,прозвучит мелодия.
14. Прогрев двигателя по заданной температуре
В системе Tomahawk TW-9100 предусмотрен дополнительный
температурный датчик для установки под капотом а/м (см. схему №10).
Если этот датчик установлен, запуск и прогрев а/м осуществляется по
показаниям этого датчика, в противном случае, по показаниям датчика
температуры внутри салона.
Для того, что бы активировать эту функцию необходимо
одновременно нажать и удерживать кнопки и . Парковочные
огни вспыхнут 1 раз, сирена издаст 1 “ЧИРП”, подтверждая активацию
функции. На дисплее брелока-пейджера отобразится иконка и
заданная температура для включения прогрева (программируется,
смотри таблицу программирования), сопровождаясь мелодией. Когда
температура достигнет заданной для включения автоматического
прогрева, двигатель запустится на ранее запрограммированное время
- 7936 Просмотров
Томагавк 9100 одна из редких охранных систем 2000-х годов.
На данный момент простая открывалка и закрывала с запуском двигателя, не имеющая никакой криптоустойчивости к кодграбберам.
Плюсы сигнализации Томагавк 9100 — простая установка на автомобили без Кан шины и объемный список поддерживаемых функций, в том числе автозапуск с кнопки брелка, по времени и температуре салона..
Единственный минус — нет никакой совместимости с другими системами томагавка. На первый взгляд антенна очень похожа на антенну TW 9010, но в списке совместимости 9100 ее нет.
Даже китайский сайт «Али» Вам не поможет, так как система выходила ограниченным тиражом и выпускать копии брелков нет никакого смысла.
Если Вы пытаетесь найти брелок от сигнализации томагавк 9100 или аналог, скорее все попадете на страницы сайтов где будет надпись «Товара нет в наличии», но и цена оригинальных брелков доходит до 2500 руб за шт. Такая цена сопоставима с ценой замены на китайскую копию TW 9010.
Если у вас сломался брелок 9100 или потерялась обратная связь.
Не мучайте себя поисками аналогов, Вам будет проще купить 9010tw в сборе и заменить без какой либо переделки, просто установив новый блок и антенну.
Понравился материал? Будем благодарны за оценку и комментарий
| Название | Размер | Скачать |
|---|---|---|
[Get 40+] антенна Tomahawk X5
Get Images Library Photos and Pictures.
TOMOHAWK Самостоятельная установка сигнализации TOMAHAWK TW-9010 — Лада 2115, 1.5 л., 2001 года на DRIVE2 антенный модуль tomahawk — Купить Автосигнализации в России | Б/у и новые противоугонные устройства | Авито Автосигнализация Tomahawk X5 — цена, купить Tomahawk X5 в Челябинске, доставка по России
. Совместимость брелоков и антенн | TOMAHAWK Совместимость брелоков и антенн | TOMAHAWK Tomahawk в Кемерово автосигнализации
Антенна Tomahawk TZ 9011, TZ 9010, SL 950, S 700 — Автосигнализации в Новосибирске
Антенна Tomahawk TZ 9011, TZ 9010, SL 950, S 700 — Автосигнализации в Новосибирске
Неактивно
Ремонт автосигнализации своими руками томагавк
Антенна для сигнализации Tomahawk x3 и x5 | Festima.Ru — Мониторинг объявлений
Брелок для сигнализации томагавк
Антенна для сигнализации Tomahawk X5 купить в Омске | Запчасти | Авито
Антенна сигнализации Tomahawk 9.
5, 9.9 — Автосигнализации в Новосибирске
Антенна Tomahawk TW-9010 — Автосигнализации в Новосибирске
Автосигнализациия Tomahawk X5. Описание, технические характеристики, фотографии. — Угона.нет
Корпус на брелок сигнализации Tomahawk TW-9010 узкая антенна с доставкой за 1 день купить на KazanExpress
Автосигнализация TOMAHAWK X5 — Антиграббер, Антисканер, купить
Совместимость брелоков и антенн | TOMAHAWK
Брелки сигнализаций Tomahawk • Autoelektronika.ru
Купить Антенный модуль для сигнализации томагавк X3, X5, LR1010LC, TW-7010, TW-9020 Бесплатная доставка в Auto-Components
✅ Инструкция по установке и эксплуатации автосигнализации Tomahawk X5 — эксперт-авто43.рф
Томагавк Х5: инструкция по эксплуатации, установке, отзывы, цена, автозапуск
Автосигнализация Tomahawk X5: инструкция по эксплуатации сигнализации, применению, установке, как настроить автозапуск
Автосигнализация Tomahawk X5: инструкция по эксплуатации сигнализации, применению, установке, как настроить автозапуск
Антенна автосигнализации Tomahawk X5, цена 1000 руб, купить в России — Tiu.
ru (ID#155794952)
антенный модуль tomahawk — Купить запчасти и аксессуары для машин и мотоциклов в России | Авито
Что делать, если Tomahawk не видит и не реагирует на брелок
Tomahawk в Барнауле автосигнализации
Совместимость брелоков и антенн | TOMAHAWK
Антенна для сигнализации Tomahawk X5 купить в Омске | Запчасти | Авито
Особенности автосигнализации tomahawk: инструкция по установке и использованию, 3 преимущества охранных систем
Провод от антенны tomahawk starline 5 пиновый — продать в Красноярске. Сигнализации, предпусковые подогреватели на интернет-аукционе Au.ru
Самостоятельная установка сигнализации TOMAHAWK TW-9010 — Лада 2115, 1.5 л., 2001 года на DRIVE2
Tomahawk X5 Брелок для сигнализации LCD
Шлейф антенного модуля TOMAHAWK X5 / X3
Автосигнализация TOMAHAWK TZ-9031 | Рассвет-авто
Описание
ОСНОВНЫЕ ФУНКЦИИ:
- Обратная связь
- Автозапуск на автомобилях оборудованных кнопкой «Start-Stop»
- Автозапуск без ограничения времени
- Автоматическая постановка в режим охраны (отключаемая)
- Автозапуск по температуре двигателя
- Двухуровневый датчик удара (отключаемый)
- Автоматическая перепостановка в режим охраны (отключаемая)
- Обход неисправной зоны
- Дополнительный канал управления
- Отключение сирены с брелока
- Учет задержки салонного освещения
- Дистанционный опрос состояния
- Дистанционное открывание багажника (опция)
- Блокировка двигателя
- Управление центральным замком при заведенном двигателе
- Дозакрывание центрального замка после дистанционного глушения двигателя
- Функция вежливой подсветки (опция)
- Индивидуальный PIN-код
- Память о срабатывании системы
- Предупреждение о незакрытой двери (во время движения)
- Возможность подключения штатного клаксона (программируется)
- Управление системой «комфорт»
- Информация о запрограммированных брелоках
- Блокировка кнопок брелока-пейджера
- Программируемое закрытие замков при автопостановке в охрану
- «Тихая охрана»
- Режим «Паника»
- Режим «Valet»
- «Поиск» автомобиля
- Охрана с заведенным двигателем
- Запуск двигателя по температуре
- Почасовой запуск
- Иммобилайзер
- Отключаемый режим «Anti-Hijack» (защита от разбойного нападения)
- Безопасное вождение
- Турботаймер
- Энергонезависимая память
- Светодиод индикации состояния системы, встроенный в антенный модуль
- Графическая индикация всех сработавших триггеров и состояния системы на брелоке с LCD дисплеем
- Отображение изменений состояния системы на всех запрограммированных брелоках с LCD дисплеем
- Встроенные часы, таймер, будильник (брелок-пейджер с LCD)
КОМПЛЕКТАЦИЯ:
- Основной модуль.

- Брелок-пейджер с LCD дисплеем.
- Брелок стандартного типа, влагозащищенный (дополнительный).
- Двухуровневый датчик удара.
- Дополнительный датчик температуры.
- Приемопередающая антенна.
- Сирена.
- Кнопка «OVERRIDE».
- Реле блокировки двигателя.
- Концевой выключатель кнопочного типа.
- Провода для подключения основного модуля, центрального замка, датчика удара, антенны, реле блокировки.
- Кожаный чехол для брелок-пейджера.
- Руководство пользователя и инструкция по установке.
- Памятка пользователя.
- Гарантийный талон.
- Упаковочная коробка.
- Элемент питания AAA.
[34+] антенна Tomahawk X5
Get Images Library Photos and Pictures. Томагавк Х5: инструкция по эксплуатации, установке, отзывы, цена, автозапуск Сигнализация Томагавк не закрывает или открывает двери: устранение неисправности антенный модуль tomahawk — Купить Автосигнализации в России | Б/у и новые противоугонные устройства | Авито Антенна Tomahawk TZ 9011, TZ 9010, SL 950, S 700 — Автосигнализации в Новосибирске
.
Купить Антенный модуль для сигнализации томагавк X3, X5, LR1010LC, TW-7010, TW-9020 Бесплатная доставка в Auto-Components Купить Tomahawk X5 в Томске с установкой Антенна Tomahawk TZ 9011, TZ 9010, SL 950, S 700 — Автосигнализации в Новосибирске
Совместимость брелоков и антенн | TOMAHAWK
Совместимость брелоков и антенн | TOMAHAWK
Автосигнализация TOMAHAWK X5 — Антиграббер, Антисканер, купить
Ответы Mail.ru: Оторвались провода от антенны автосигнализации
Томагавк Х5: инструкция по эксплуатации, установке, отзывы, цена, автозапуск
Антенна Tomahawk TW-9020 — YouTube
Антенна автосигнализации Tomahawk X5: продажа, цена в Екатеринбурге. аксессуары к противоугонным системам от «Интернет-магазин «1000 рамок»» — 155794952
TOMAHAWK X5: №53849342 — охранные системы в Алматы — Маркет
Шлейф антенного модуля TOMAHAWK X5 / X3
Антенна Tomahawk TW-9020 — YouTube
антенный модуль tomahawk — Купить запчасти и аксессуары для машин и мотоциклов в России | Авито
Что делать, если Tomahawk не видит и не реагирует на брелок
Как узнать модель сигнализации Томагавк по брелку, таблица с фото
TOMAHAWK X5: №53849342 — охранные системы в Алматы — Маркет
Антенна для сигнализации Tomahawk X5 купить в Омске | Запчасти | Авито
Антенна Tomahawk TZ 9011, TZ 9010, SL 950, S 700 — Автосигнализации в Новосибирске
Сигнализация tomahawk не реагирует на брелок
Автосигнализация Tomahawk X5: инструкция по эксплуатации сигнализации, применению, установке, как настроить автозапуск
Купить Антенный модуль для сигнализации томагавк X3, X5, LR1010LC, TW-7010, TW-9020 Бесплатная доставка в Auto-Components
Tomahawk в Барнауле автосигнализации
Автосигнализация Tomahawk X5
✅ Инструкция по установке и эксплуатации автосигнализации Tomahawk X5 — эксперт-авто43.
рф
Совместимость брелоков и антенн | TOMAHAWK
Как подключить сигнализацию томагавк
Неактивно
Tomahawk x5: функции сигнализации, комплектация, инструкция
Tomahawk в Барнауле автосигнализации
Сигнализация Томагавк не закрывает или открывает двери: устранение неисправности
Совместимость брелоков и антенн | TOMAHAWK
Tomahawk X5 Брелок для сигнализации LCD
Сигнализация TOMAHAWK X5 в Санкт-Петербурге (Автосигнализации)
Tomahawk X5 – автосигнализация с двухсторонней связью и автоспуском. цена с установкой 7950р
Tomahawk X5 – элитная автосигнализация с вухсторонней связью и авозапуском. Дальность действия брелка-пейджера достигает 1200 метров. Система может похвастать широким набором охранных функций – как то возможность подключения дополнительных датчиков и модулей, а также режимы ‘память состояния’, тихой постановки и снятия с охраны, паника, поиск, комфорт, дистанционное открывание багажника, турботаймер.
Комплектация:
Центральный блок
Брелок-пейджер с ЖК-дисплеем
Брелок стандартного типа, влагозащищенный
Датчик удара (двухуровневый, встроенный)
Антенна
Светодиод
Дополнительный температурный датчик
Кнопка «OVERRIDE»
Блокировочное реле мотора
Концевой выключатель (кнопка)
Жгуты провода для монтажа
Руководство по эксплуатации
Инструкция по установке
Упаковка
Функции:
Брелок с автозапуском
Возможность программирования автозапуска по времени
Возможность программирования автозапуска по таймеру (почасовой)
Возможность программирования автозапуска по температуре
Режим турботаймера
Максимальный радиус от брелка к авто – 600 метров
Максимальная отдаленность брелка от машины – 1200 метров
Антиграббер
Антисканер
Обратная связь
Система контроля дверей, капота, багажника и системы зажигания
Дополнительная блокировка двигателя
Дополнительная программируемая блокировка двигателя
Иммобилайзер (встроенный)
Программируемый индивидуальный PIN код
Возможность аварийной постановки/снятия охраны
Возможность тихой постановки/снятия с охраны
Режим автоматической постановка/перепостановки в режим охраны
Возможность охраны автомобиля при заведенном двигателе
Двухэтапное отключение режима охраны
Режим «отложенной» охраны
Двухуровневый датчик удара
Возможность подключения дополнительного датчика
Центральный замок (встроенный)
Программируемый импульс центрального замка
2-этапное открывание центрального замка
Возможность управления центральным замком при заведенном двигателе
Встроенное реле блокировки двигателя
Встроенное реле парковочных огней
3 дополнительных канала
3 дополнительных программируемых канала
Возможность выхода на автопейджер
Функция задержки салонного освещения
Функция вежливой подсветки
Наличие датчика температуры
Наличие дополнительного датчика температуры
Режим «комфорт»
Возможность подключения штатного клаксона
Функция обхода неисправной зоны
Защита от ложных срабатываний
Память тревог с возможностью определения состояния
Память срабатывания системы охраны
Светодиод как индикатор статуса
Режим «Паника»
Предупреждение об открытой двери при движении авто
Режим «Valet»
Режим «Anti-Hijack»
Режим бесшумной охраны
Возможность дистанционного включение/выключение сирены
Возможность дистанционного отключения датчика удара
Возможность позонного дистанционного отключения датчика удара/дополнительного датчика
Возможность программирования брелков с подробной информацией о них
Звуковое и визуальное подтверждение выполняемых функций
Визуальная индикация всех сработавших триггеров и состояния системы
Подсветка ЖК-дисплея брелка
Брелок с часами, таймером и будильником, вибро-режимом
Индикация уровня заряда батареи питания брелока
Контроль температуры в салоне
Экономный режим заряда батареи питания брелка-пейджера
Контроль зоны действия
Функция «Вызов водителя»
Функция безопасного вождения
Возможность бесшумного поиска (стандартного поиска) автомобиля
Функция дистанционного открывания багажника
Дистанционный запуск/глушение двигателя (защищенный)
Работоспособность функции запуска на абсолютно любой коробке передач и двигателе
| 242-25 Инструкции по установке | Скачать | 974 Ножки для унитаза для Китая или умывальника из железной эмали — Инструкции по установке | Скачать | 974 Ножки для унитаза для китайского бассейна — Инструкции по установке | Скачать | PlumbPerfect Инструкция | Скачать | Льдогенератор PDQ — Инструкция | Скачать | Трубные фитинги и ниппели — Инструкции по установке | Скачать | Раструбные фитинги — Информация и инструкции по установке | Скачать | Компрессионные фитинги — Информация и инструкции по установке | Скачать | Технический отчет — Запчасти для обжимного инструмента | Скачать | Трубки — характеристики химической стойкости | Скачать | Cement Stop Leak — Инструкция | Скачать | Инструмент для снятия гаек для душа — Инструкции по установке | Скачать | Шаровой клапан для газовой зажигалки — HearthMaster — Инструкции по установке | Скачать | Зажигалка для бревен — HearthMaster — Инструкции по установке | Скачать | Комплект зажигалки для бревен — HearthMaster — Инструкции по установке | Скачать | Инструкции по носику для ванны SmartSpout | Скачать | Floweasy ™ Паспорт безопасности материала | Скачать | Cement Stop Leak — Важная информация | Скачать | Цементная остановка утечки — Технический бюллетень | Скачать | Гайка для душа — Инструкция | Скачать | Инструмент для снятия гаек для душа — Инструкции по установке | Скачать | Удлинитель стержня зажигалки для бревен — HearthMaster — Инструкции по установке | Скачать | SiouxChief-No-Lead-Cross-Reference | Скачать |
Советы для B550 Tomahawk Bios Flashback: MSI_Gaming
Мне удалось обновить мой MSI MAG B550 TOMAHAWK , используя BIOS Flashback для моего Ryzen 5 5600X .
Сначала я получаю Solid Red Light через несколько секунд после того, как я нажал кнопку Flash BIOS, поэтому я предположил, что вспышка не удалась или она не продолжилась. Я искал возможные решения в Google и выяснил, что я использую неправильную таблицу разделов для своего USB-накопителя .
Пожалуйста, выполните следующие действия:
Убедитесь, что это USB-накопитель 32 ГБ или меньше, потому что Windows не позволит вам отформатировать раздел размером более 32 ГБ в FAT32. Пока ничего не делайте! (в моем случае я использовал Jetflash Transcend 8GB).
Удалите том USB-накопителя в Управлении дисками. Щелкните правой кнопкой мыши «Удалить том».
Преобразуйте USB-накопитель в MBR с помощью CMD (BIOS не будет мигать, если вы используете GPT ). https://docs.microsoft.com/en-us/windows-server/storage/disk-management/change-a-gpt-disk-into-an-mbr-disk
Вернуться к Disk Management и снова выберите диск.
Щелкните правой кнопкой мыши New Simple Volume и нажмите Next до Finish .Теперь отформатируйте USB-накопитель в формате FAT32 .
Загрузите последнюю бета-версию или последнюю стабильную версию BIOS (я использовал 7C91vA51 (бета-версия) для моего B550 Tomahawk).
Переименуйте файл в MSI.ROM
Скопируйте MSI.ROM на USB-накопитель.
Теперь подключите питание 24pin и 8pin к материнской плате и подключите его. Убедитесь, что БП включен.
Вставьте диск в порт USB 2.0 (с серым контуром) чуть ниже кнопки Bios Flashback.
Нажмите кнопку Flash BIOS с помощью ручки Pen или отвертки и подождите несколько секунд для запуска.
Мигающие красные индикаторы (порт USB 2.
0) и RGB индикаторы (около радиатора чипсета B550) означает, что BIOS вашей материнской платы в настоящее время обновляется. ЕСЛИ ДА, ПЕРЕЙДИТЕ К ШАГУ 14.Горит красным светом (порт USB 2.0) и НЕТ RGB-подсветки вокруг радиатора чипсета B550 означает, что материнская плата НЕ обновляется. ЕСЛИ ДА, НЕОБХОДИМО ПОВТОРИТЬ ШАГ 1.
Подождите, пока не перестанет мигать красный свет . Светодиодные индикаторы RGB вокруг чипсета не выключают , и это нормально (подождите, 5-10 минут , просто чтобы убедиться).
Извлеките USB-накопитель и Выключите источник питания .
Установите все компоненты, необходимые для загрузки процессора (процессор, оперативная память, графический процессор, кулер и т. Д.) .
ТЕСТИРОВАНИЕ, ЕСЛИ УСПЕХ!
Я надеюсь, что это поможет людям, у которых возникают проблемы с обновлением BIOS.
Обзор Jeep Grand Cherokee Trackhawk 2021 года, цены и характеристики
Обзор Jeep Grand Cherokee Trackhawk 2021 года — это вызывающая ругательства захватывающая поездка, которая привела бы Кларка Грисволда и его семью в Wally World намного раньше, при этом вдвое больше, чем ругательства Спарки.С 707-сильным наддувом Hellcat V-8 под капотом это не только самый мощный из когда-либо построенных Jeep, но и один из самых мощных внедорожников в мире. Хотя Trackhawk не может угнаться за большинством спортивных автомобилей на гоночной трассе, он может обогнать некоторые из лучших из них по прямой. Теперь он стоит примерно в три раза больше, чем базовый Grand Cherokee Laredo, но из-за его потрясающей производительности его цена почти в 90 тысяч долларов выглядит так, как будто это из раздела клиренса по сравнению с Porsche Cayenne Turbo и Mercedes-AMG GLE63 S.Несмотря на экстравертный внешний вид и рев выхлопной системы, Grand Cherokee Trackhawk 2021 года — это не только огонь и сера.
На самом деле, у него кожаная кабина, все новейшие технологии, полезное грузовое пространство и возможность буксировать 7200 фунтов. Чего еще мы могли желать? Что ж, версия Redeye мощностью 797 л.с. была бы довольно крутой.
Trackhawk выйдет в 2021 году без каких-либо изменений. Тем не менее, теперь он представляет собой корпоративную конкуренцию новому 710-сильному Dodge Durango SRT Hellcat.В то время как 702-сильный Ram 1500 TRX ориентирован на любителей бездорожья, это еще один член растущего клана моделей с двигателем Hellcat.
Цены и какой купить Хотя последний Grand Cherokee потрясающий, его поразительная стартовая цена примерно на 19 000 долларов больше, чем 475-сильная версия SRT. Наклейка на окно Trackhawk может даже стоить 105000 долларов, если вы установите все флажки. Тем не менее, это выгодная сделка по сравнению со стоимостью его очень дорогих конкурентов. Конечно, ему не хватает их изысканности и репутации, но у max Jeep есть собственная репутация, и он может конкурировать с GLE63 S за 134000 долларов на драг-стрипе.
«Мерика! Излишне говорить, что мы смахнули вправо на Trackhawk. Единственные опции, которые мы добавим, — это шины Pirelli P Zero для максимальной производительности и буксировочный комплект для максимальной буксировки.
Trackhawk — самая популярная вещь, когда-либо носившая значок Jeep. Его движок Hellcat обладает умопомрачительным ускорением и саундтреком, который метафорически поднимает средний палец на местные шумовые постановления. Его 707 лошадиных сил на 10 меньше, чем у обычного Challenger и Charger с двигателем Hellcat, а более ограниченная выхлопная система Jeep снижает крутящий момент на 5 фунт-футов (всего 645 фунтов).Разница незначительна, а тяга полного привода Trackhawk позволила Jeep виртуально телепортироваться до 60 миль в час за 3,4 секунды. Дроссельная заслонка «Ястреба» была настолько отзывчивой, что мы не решались нажимать на педаль по городу. Его мгновенная природа сохранялась для длинных прямых, которые быстро становились короткими.
В то время как BMW X5 M и GLE63 S имеют еще более высокие пределы прохождения поворотов, Trackhawk по-прежнему обладает респектабельной, стабильной управляемостью, которую можно использовать на извилистых проселочных дорогах и съездах с шоссе — и он не будет полностью лишним на гоночной трассе.Система рулевого управления с электроусилителем казалась достаточно быстрой, но колесо с толстыми ободами не передавало столько информации о дороге, сколько хотелось бы. Его тормозные суппорты Brembo (шестипоршневые передние и четырехпоршневые задние) разогнали Trackhawk с 70 миль в час на 168 футов. Хотя педаль тормоза ощущается твердой и отзывчивой при повседневном использовании, это расстояние является средним среди аналогичных высокопроизводительных кроссоверов.
Вы очень заботитесь об экономии топлива? Тогда не вкладывайтесь в Trackhawk.Его ненасытная жажда топлива становится очевидной из-за низких оценок Агентства по охране окружающей среды на 11 миль на галлон в городе и на 17 миль на галлон на шоссе, не говоря уже о его не впечатляющих результатах в наших реальных испытаниях.
У 707-сильного зверя даже худшие государственные рейтинги, чем у Grand Cherokee SRT, что неудивительно. Тем не менее, обе версии были наименее эффективными автомобилями по сравнению с аналогичными альтернативами. Trackhawk соответствовал своей оценке на шоссе в 17 миль на галлон на нашей 200-мильной тестовой трассе. Жаль, что его конкуренты были на 3–5 миль на галлон лучше.Для получения дополнительной информации об экономии топлива Trackhawk посетите веб-сайт EPA.
Если экстравертный внешний вид Trackhawk не был достаточным доказательством, его колоритный интерьер еще раз доказывает, что этот Jeep предпочитает гоночные трассы и извилистые дороги каменистым тропам. Внутри его просторные пассажирские места подчеркнуты передними сиденьями, которые обеспечивают комфорт и поддержку, особенно при отслеживании «Ястреба». Хотя гладкая кожа на верхней части приборной панели и дверных панелей создает роскошные штрихи по сравнению с прорезиненным материалом, используемым в более дешевых Grands, переносное распределительное устройство и непоследовательные зазоры между панелями напоминают нам, что настоящая роскошь предназначена для альтернатив премиум-бренда.
Его агрессивный кузов и трансмиссия заставляют ваше сердце биться быстрее, но он также унаследовал грузовое пространство и внутреннее пространство для хранения от обычной линейки Grand Cherokee. Это означает аналогичную ручную кладь и такое же ограниченное количество мест для хранения мелких предметов, чтобы они не взорвались, когда водитель решит бросить молот и бросить вызов законам физики.
Каждый Grand Cherokee с двигателем Hellcat имеет 8,4-дюймовый сенсорный экран, который гармонирует с приборной панелью.Информационно-развлекательная система под названием Uconnect включает в себя Apple CarPlay, Android Auto и мобильный Wi-Fi 4G LTE в стандартной комплектации. За дополнительную плату он может быть оснащен стереосистемой Harman / Kardon мощностью 825 Вт с 19 динамиками и развлекательной системой на задних сиденьях.
Функции безопасности и помощи водителю Этот свирепый внедорожник оснащен множеством стандартных технологий помощи водителю, таких как автоматический дальний свет, предупреждение о выезде с полосы движения и помощь при самостоятельной парковке.
Хотя эта технология добавляет удобства и защиты, она не делает дорогостоящий семейный самосвал дешевле.Для получения дополнительной информации о результатах краш-тестов Trackhawk посетите веб-сайты Национальной администрации безопасности дорожного движения (NHTSA) и Страхового института безопасности дорожного движения (IIHS). Основные функции безопасности включают:
- Стандартное предупреждение о лобовом столкновении и автоматическое экстренное торможение
- Стандартный адаптивный круиз-контроль с технологией Stop-and-Go
- Стандартный мониторинг слепых зон и предупреждение о перекрестном движении сзади
Jeep имеет более короткую ограниченную гарантию по сравнению с конкурентами, но обеспечивает лучшую защиту трансмиссии.Компания также предоставляет всем моделям 2021 года трехлетнее бесплатное обслуживание.
- Ограниченная гарантия распространяется на три года или 36000 миль
- Гарантия на трансмиссию распространяется на пять лет или 60000 миль
- Три года бесплатного планового обслуживания включены в стоимость
Технические характеристики
ТИП АВТОМОБИЛЯ: передний двигатель, полноприводный, 5-местный, 4-дверный хэтчбек
ЦЕНА ПО ТЕСТИРОВАНИЮ: 90880 долларов (базовая цена: 86995 долларов)
ТИП ДВИГАТЕЛЯ: толкатель с наддувом и промежуточным охлаждением, 16-клапанный V-8, железный блок и алюминиевые головки, канал впрыска топлива
Рабочий объем: 376 куб.
Дюймов, 6166 куб. См
Мощность: 707 л.с. при 6000 об / мин
Крутящий момент: 645 фунт-фут при 4800 об / мин
ТРАНСМИССИЯ: 8-ступенчатая автоматическая с ручным переключением передач
РАЗМЕРЫ:
Колесная база: 114.7 дюймов
Длина: 189,8 дюйма
Ширина: 76,5 дюйма Высота: 67,9 дюйма
Пассажирский объем: 106 куб. Футов
Грузовой объем: 36 куб. Футов
Снаряженная масса: 5258 фунтов
C / D РЕЗУЛЬТАТЫ ИСПЫТАНИЙ:
От нуля до 60 миль / ч: 3,5 с
От нуля до 100 миль / ч: 8,8 с
От нуля до 150 миль / ч: 24,4 с
Старт с места, 5-60 миль / ч: 3,8 с
-Миля стоя: 12,0 сек @ 115 миль / ч
Максимальная скорость (ограниченное сопротивление, заявление производителя): 180 миль / ч
Торможение, 70-0 миль / ч: 168 футов
Сопротивление дороги, трелевочная площадка диаметром 300 футов: 0.
89 г
C / D ЭКОНОМИЯ ТОПЛИВА:
Вождение по шоссе со скоростью 75 миль в час:
17 миль на галлон
Протяженность шоссе: 418 миль
ЭКОНОМИКА ТОПЛИВА EPA:
Комбинированный / город / шоссе: 13/11/17 миль на галлон
Дополнительные функции и характеристики
Broadcom расширяет и улучшает линейку коммутаторов
Cisco Systems по-прежнему может быть крупнейшим поставщиком коммутаторов и маршрутизаторов в целом, но Broadcom уже давно превзошел ее, когда дело доходит до поставки микросхемы, которая выполняет коммутацию, а иногда даже немного маршрутизации в центре обработки данных, в частности. .(Имеется в виду не включая университетский городок и окраину.)
Несмотря на то, что на рынке микросхем для торговых коммутаторов Ethernet существует большая конкуренция, в том числе Nvidia (Mellanox), Innovium, Intel (Barefoot Networks), Marvell и некоторые другие выскочки, присутствуют там, и они получают все более значительную долю переключение, особенно среди гипермасштабируемых и облачных разработчиков, которые задают темп развития сети.
Но именно Broadcom, а не Cisco, которая является разработчиком микросхем коммутатора, должна победить, несмотря на весь шум, который Cisco создавала в отношении своего маршрутизатора Silicon One и теперь переключает микросхемы, которые нацелены на верхний уровень. площади торгового чипа и отметьте выход этой компании на торговый рынок.Cisco могла бы решить производить коммерческие микросхемы в любое время с конца 2000-х годов, чтобы предотвратить атаку со стороны Broadcom, но не сделала этого до прошлого года. Вскоре мы углубимся в устройства Cisco Silicon One, чтобы лучше с ними справиться.
По мере того, как 2020 год начинает заканчиваться — слава богу — Broadcom завершает семейство «Tomahawk», ориентированное в основном на гипермасштабирование и крупных разработчиков общедоступных облаков, и семейство чипов «Trident», предназначенных для корпоративной коммутации, взяв на себя шесть новых Silicon Один чип, который Cisco представила еще в октябре, а также ASIC от конкурентов, упомянутых выше.
Первое, что сделала Broadcom, — расширила линейку Tomahawk 4, первый член которой был анонсирован в декабре прошлого года, устройство 25,6 Тбит / с, которое может управлять 64 портами со скоростью 400 Гбит / с, которое сейчас поставляется в больших объемах, Питер. Дель Веккио, менеджер по продуктам линий Tomahawk и Trident в Broadcom, рассказывает The Next Platform . Это вторая ASIC коммутатора Broadcom с гравировкой 7 нанометров (в Taiwan Semiconductor Manufacturing Corp), первая из которых — чип Trident 4, выпущенный в июне 2019 года.Оба они являются монолитными микросхемами, и Broadcom не собирается переходить на конструкции микросхем до тех пор, пока это не будет абсолютно необходимо, по словам Дель Веккио, из-за снижения производительности при попытке связать несколько блоков микросхем вместе. (Другие, такие как Barefoot Networks, реализовали схемы SerDes и переключатели в разных блоках и собрали их в пакет, используя высокоскоростные каналы связи между чипами. Это увеличивает сложность и стоимость упаковки, но также увеличивает выход чиплетов и, следовательно, снижает затраты.
за заполнитель щебня в упаковке.)
Как мы уже отмечали ранее, Broadcom пытается удовлетворить потребности в коммутации, а иногда и маршрутизации широкого круга клиентов, и компания считает, что не может втиснуть все в одну ASIC и справиться с этим. Стоит повторить, что это за отдельные рынки, каковы их потребности и какие микросхемы Broadcom их решают. Вот разбивка по набору клиентов:
По словам Дель Веккио, предприятия обычно не выходят за пределы полосы пропускания, как это делают поставщики услуг и гипермасштабирующие компании / разработчики облачных вычислений.Но у них гораздо больше устройств и множество стилей устройств в их сетях, и, поскольку пользователи перемещаются так, как серверы, необходимо гораздо больше контроля доступа и безопасности на основе политик.
Поставщики услуг, напротив, обычно имеют большое количество магистральных сетей на большие расстояния, и поэтому им нужна глубокая буферизация в своих коммутаторах и маршрутизаторах, чтобы помочь замаскировать задержки в этих магистралях.
Поставщики услуг также имеют тенденцию иметь больше подписок в своих сетях, чтобы поддерживать обратный отсчет коммутатора, что в определенной степени контролирует сетевой бюджет.Это то, что Дель Веккио называет «гиперобщей» сетью, и качество обслуживания, включая оборудование, такое как большие списки контроля доступа и таблицы коммутации или маршрутизации, а также программное обеспечение для его доставки, является ключевым.
С гипермасштабирующими машинами и сборщиками облачных вычислений большая часть трафика проходит между устройствами в центре обработки данных — так называемый трафик Восток-Запад — и требования к пропускной способности очень высоки как средство возможности связать множество микросервисов вместе по порядку. 100 000 серверов в центре обработки данных для создания приложений, которые они запускают.Им нужна низкая задержка, но наиболее важна предсказуемая задержка в широком спектре сетевых условий, поэтому гипермасштабирующие машины и разработчики облачных вычислений, как правило, имеют сети с избыточным выделением ресурсов, а не с избыточной подпиской, которые предполагают, что в любой момент времени большинство пользователей (или компоненты приложения) не требует большой пропускной способности.
Вот различные карты ASIC Broadcom для разных клиентских наборов:
Это не жесткие границы, а общее поведение.Например, ASIC «Jericho», которые появились в результате приобретения Broadcom компании Dune Networks миллион лет назад, имеют очень глубокие буферы, но не такую высокую совокупную пропускную способность на ASIC, как устройства Trident или Tomahawk. А гипермасштабирующим компаниям нравится использовать коммутаторы Jericho в ядре и магистрали своих сетей, возможно, связывая регионы или центры обработки данных в пределах региона и эффективно используя глубокие буферы, но используя ASIC Trident на периферии, где программируемость более важна, и используя чипы Tomahawk в основная структура в центре обработки данных.
Важно то, что все эти ASIC поддерживают SDK и стек API Broadcom, а также интерфейс абстракции коммутатора (SAI), который был создан Microsoft и выбран сообществом с открытым исходным кодом для обеспечения уровня виртуализации API через коммутаторы ASIC, созданные от разных поставщиков, поэтому его сетевые операционные системы могут работать с любыми из этих ASIC.
(Для многих случаев использования в облаке Microsoft Azure сетевая операционная система SONiC, также имеющая открытый исходный код, работает поверх SAI; в других случаях Microsoft использует другую NOS.)
Насколько мы можем догадаться, существует более дюжины сетевых операционных систем, которые используются в любом значительном объеме, доступном от производителей коммутаторов или сообщества с открытым исходным кодом или разработанных внутри компании гипермасштабирующим программным обеспечением или создателем облачных вычислений и сохраненных в частной собственности. За последние пару лет эти NOS значительно усовершенствовались, но еще неизвестно, примет ли рынок такое количество вариантов в долгосрочной перспективе. Серверы, конечно же, этого не сделали. Когда мы начинали в этой рэкете, в корпоративных центрах обработки данных по всему миру было, вероятно, две дюжины серверных архитектур и три или четыре дюжины операционных систем для них, а теперь мы в основном остановились на архитектурах X86, работающих под управлением Linux или Windows Server для подавляющего большинства компьютер установлен.
Мы не думаем, что гипермасштабируемые компании и разработчики облачных вычислений перестанут создавать свои собственные NOS, равно как и перестали создавать свои собственные дистрибутивы Linux, потому что оба имеют решающее значение для производительности и безопасности их обширных платформ. Но мы действительно думаем, что портативные операционные системы имеют значение, и есть большая вероятность, что ArcOS от Arrcus станет кроссплатформенной NOS, за которой рынок сможет отстать, и мы также думаем, что Nvidia сделает все возможное, чтобы расширить работу что Cumulus Networks сделала со своей одноименной платформой и объединила ее с несколькими платформами, созданными Mellanox.Еще неизвестно, что Arista приготовит с комбинацией своего EOS и стека SDN от Big Switch Networks, а Cisco по умолчанию используется во многих центрах обработки данных с IOS и NX-OS. Программное обеспечение, которое является наиболее портативным, предлагает максимальную производительность и охватывает большинство сценариев, победит.
Точно так же, как Broadcom выиграла на рынке микросхем, предлагая точные ASIC для конкретных случаев использования.
Этот фон дает контекст для того, что Broadcom объявляет сейчас. Как мы уже говорили выше, ASIC Tomahawk 4, о котором было объявлено почти год назад, начал выборку в начале 2020 года и теперь поставляется в объеме менее чем через год после анонса.Это довольно быстро для коммутатора ASIC. ASIC Tomahawk 4 для обновления вашей памяти использует те же SerDes «Blackhawk», которые были развернуты на Trident 3, который работал на частоте 25,8 ГГц, но благодаря модуляции PAM-4 (которая может делать два бита на сигнал) обеспечивает эффективную Пропускная способность 50 Гбит / с на каждую полосу SerDes. У большого плохого чипа Tomahawk 4-50G было 512 таких Blackhawk SerDes, выгравированных по краям, для комбинированной пропускной способности коммутации 25,6 Тбит / с. Самая плотная конфигурация коммутатора, поддерживаемая на этом устройстве, состоит из 64 портов, работающих со скоростью 400 Гбит / с.
Но теперь линейка Tomahawk 4 пополняется двумя новыми членами:
Первый — это Tomahawk 4-100G, в котором реализованы те же устройства Blackhawk SerD, но их тактовая частота повышается до 51,6 ГГц и добавляется такая же модуляция PAM-4 для передачи 100 Гбит / с на полосу. Этот новый чип имеет только 256 таких SerD на кристалле, однако из-за проблем с температурой и, следовательно, остается на той же совокупной полосе коммутации 25,6 Тб / с. Однако, поскольку тепловые потоки увеличиваются экспоненциально с тактовой частотой, даже с половиной SerDes, как у Tomahawk 4-50G, Tomahawk 4-100G работает с немного большей мощностью — около 400 Вт по сравнению с около 350 Вт.
Второй новый чип в линейке Tomahawk 4 — это Tomahawk 4-12.8T, который имеет половину количества SerDes (128), работающих со скоростью 100 Гбит / с на полосу с модуляцией PAM-4, и потребляет 200 Вт. Это число не опускалось ниже 175 Вт, потому что SerDes представляют лишь около трети мощности данного коммутатора ASIC.
Механизмы обработки пакетов потребляют много энергии, даже когда вы их уменьшаете.
Как и следовало ожидать, обе эти новые ASIC коммутатора Tomahawk4 созданы TSMC в рамках 7-нанометрового процесса.Количество транзисторов и размеры кристаллов не были указаны, и это действительно будет редкий день, когда мы увидим блок-схему или снимок микросхемы коммутатора. (Это случается, но не очень часто.) Эти новые ASIC Tomahawk 4 отбираются в течение примерно четверти квартала и будут поставлены в больших количествах в следующем году, что означает еще один быстрый рост.
При скорости 100 Гбит / с на полосу в двух новых микросхемах Tomahawk 4 очевидно, что для создания порта, работающего на любой заданной скорости, требуется вдвое меньше полос, и это имеет смысл.Все сводится к тому, какую оптику хотят развернуть заказчики гипермасштабирования и облачных построителей, а оптика PAM-4 со скоростью 100 Гбит / с более энергоэффективна, поэтому при переходе на более быструю ASIC коммутатора есть чистая выгода в энергоэффективности, которая немного меньше горячее на порт и имеет меньшее основание переключателя, потому что потребляемая мощность оптики намного ниже.![]()
Поскольку Cisco является новичком на рынке коммерческих кремний и, возможно, является самой большой угрозой, с которой Broadcom сталкивается при коммутации и маршрутизации центров обработки данных, компания, похоже, выбрала Silicon One в своей презентации чипов Tomahawk 4, выпущенных одновременно с запуск новых ASIC.Приведенный ниже пример иллюстрирует, сколько микросхем потребуется для создания коммутатора с совокупной пропускной способностью коммутации 25,6 Тбит / с, состоящего из 12,8 Тбит / с ASIC, которые можно разделить на порты по сравнению с простым запуском одного 25,6 Тбит / с. сек устройство:
Мы думаем, что это сравнение нацелено на Silicon One, но этот урок концептуально применим к другим чипам с пропускной способностью 12,8 Тбит / с, включая чип Tomahawk 3, выпущенный в январе 2018 года. Даже если ASIC стоят намного дороже за чип для нового поколения, вам необходимо в шесть раз больше фишек и гораздо больше дополнительных прыжков через них, чтобы создать 25.
6 совокупная пропускная способность с Tomahawk 3. Другими словами, Tomahawk 4 может стоить в шесть раз дороже, чем Tomahawk 3, и при этом иметь преимущество в пространстве, температуре, отказоустойчивости и огромных задержках, чтобы обеспечить ту же необработанную полосу пропускания, которая разделена. в порты.
Broadcom также выбирает сегментированную архитектуру в конкурирующем коммерческом чипе, что снова заставляет нас думать, что речь идет о Cisco Silicon One:
Хотя Broadcom не против добавления программируемости в свои ASIC коммутатора, эта диаграмма, похоже, нацелена на различия в производительности между конвейерной обработкой пакетов Tomahawk 4 и блоком сетевой обработки (NPU), который является частью пакета Silicon One, который использует P4 язык программирования для изменения своего конвейера:
Сравнения говорят вам, о чем думает Broadcom и о ком он беспокоится.
Извлечение страницы из InfiniBand Playbook
Если у нас есть SmartNIC для разгрузки сетевой обработки с серверов, возможно, нам также понадобятся SmartTOR, которые снимают некоторые из этих функций с SmartNIC или серверов и объединяют их там, где они должны быть: на коммутаторе.
Broadcom явно верит, что это может быть будущее сетей, и тестирует эту идею с вариантом ASIC коммутатора Trident 4 под названием Trident SmartTOR, последняя аббревиатура, очевидно, означает коммутатор для верхней части стойки.
Идея перегрузки сети не нова. На протяжении десятилетий Mellanox (теперь часть Nvidia) переносила сетевые задания с серверов на свои сетевые интерфейсные карты ConnectX, а в последних нескольких поколениях своих ASIC коммутаторов InfiniBand, а затем и Ethernet, он консолидировал определенные функции на самом коммутаторе , ускорение коллективных операций и тому подобное, что естественно принадлежит переключателю.
Этот вариант SmartTOR чипа Trident 4 имеет совокупную пропускную способность коммутации всего 8 Тб / с и имеет 160 SerD, которые работают на 25.6 ГГц и скорость передачи 50 Гбит / с на каждую полосу благодаря модуляции PAM-4. (Та же скорость и модуляция, что и у других чипов Trident 4 и оригинального чипа Tomahawk 4.) Этот чип Trident SmartTOR также подвергается 7-нанометровым процессам от TSMC, как и следовало ожидать.
(Broadcom уже использует 5 нанометров с устройствами следующего поколения, о которых она концептуально говорила на прошлой неделе, не говоря о точных ASIC, которые она планирует создать на 5 нанометрах для сценариев использования в центрах обработки данных, облаке и 5G.) Устройство SmartTOR имеет программируемый конвейер для сервисов уровня 2–7 в сети и предлагает «массовый масштаб», как выразился Дель Веккио: 3 миллиона потоков, 3 миллиона записей ACL, 1 миллион туннелей и 1 миллион счетчиков.Чип также имеет шифрование MACSec и IPSec данных, работающих на линейной скорости.
Вот как масштаб соотносится с предыдущим поколением чипов Trident 3-X5:
Пример использования Trident SmartTOR интересен. Дель Веккио говорит, что корпоративные клиенты заинтересованы в развертывании своих приложений на «голом железе», а не в виртуализированной облачной инфраструктуре, и в этом случае большая часть виртуальных сетей, которые будут выполняться гипервизорами виртуализации серверов или SmartNIC (реже), должна быть делаться централизованно каким-то образом.
Вставить это в переключатель имеет смысл.
Это особенно верно, если вы посмотрите на запуск этих сетевых служб на железе X86 или даже на FPGA, что часто случается в сетевых устройствах, разбросанных по центру обработки данных:
Вопрос заключается в следующем, и мы пока не можем на него ответить: что объединит все эти функции обратно в стоимость коммутатора по сравнению с их запуском на серверах X86 или на устройствах FPGA. Мы не узнаем, пока производители коммутаторов не создадут устройства с использованием Trident SmartTOR.Вероятно, через год или меньше, если судить по истории.
Руководство по установке, DEFA Auto Security Car Alarm 800 Series
1 Руководство по установке, DEFA Auto Security Car Alarm 800 Series 8028 (D11) 1
2 DEFA Auto Security 800 Series Датчик разбития стекла Микроволновый датчик Резервная сигнализация Модуль иммобилайзера 8028 (D10) 2
3 Схема подключения Серый / черный, световой выход 2 P P1.
5 P1.6 P1.7 P1.8 P1.4 P1.3 P1.2 P1.1 P1 P2 P3 P4 4 1 Белый / синий, блокировка COM Белый / коричневый, блокировка NO Зеленый, разблокировка NO Фиолетовый, разблокировка NC Желтый, разблокировка COM Черный / белый, выход заземления Белый / оранжевый, блокировка NC Красный / белый, выход +12 В Белый / зеленый, выход отключения стартера P3.4 Черный, заземление P3.3 Красный / черный, вход отключения стартера PA Красный, +12 В P3 .1 Серый / красный, световой выход 1 P4.7 Черный / серый, выключатель капота P4.6 Серый, дверной выключатель 1 P4.5 P5 P6 P7 P8 P8 P7 P6 P4.8 P4.9 Черный, сирена Черный, сирена P4. 10 Белый / коричневый, зажигание P4.11 P4.4 Белый, переключатель багажного отделения Белый / красный, дополнительное оборудование P4.12 Серый / белый, дверной выключатель
4 Инструменты 4
5 Содержание Электросхема Page 3 Инструкции по электромонтажной схеме Стр.
6-8 Подготовка к установке Стр. 9 Размещение блоков сигнализации Стр. 9-10 Внимание! Страница 10 Инструкции для пользователя Страница Кодирование новых блоков дистанционного управления Страница 13 Подключение центрального замка Страница Программирование сигнализации Страница Технические характеристики Страница 20 Сертификат Страница 20 5
6 Инструкции по электросхеме — Дополнительную информацию см. В техническом руководстве.P-1 Подключение центрального замка ср. стр. 6 P-2 Multiplug, резервная сигнализация, модуль иммобилайзера и пейджер (вспомогательное оборудование) Это соединение для вспомогательного оборудования, такого как резервная сигнализация DEFA, модуль иммобилайзера DEFA или пейджер (удаленная сигнализация). Ср. отдельная инструкция по сборке. P-3.1 Электропитание, красный провод Подключается к распределителю через предохранитель 25A (блок предохранителей). P-3.2 Вход, отключение стартера, красный / черный провод (относится только к моделям 821X) Отдельный провод управляющего тока от замка зажигания к стартеру (соединение 50) рядом с замком зажигания.
Конец провода, идущий от стартера, соединить с красно-черным проводом P-3.2. P-3.3 Земля, черный провод Подключается непосредственно к кузову автомобиля. Важно: нельзя растягивать свинец. P-3.4 Выход, отключение стартера, белый / зеленый провод (применимо только к моделям 821X) Другой конец провода (50), ведущий к стартеру, подключен к бело-зеленому проводу P-3.4. P-4.1 Выход канала 3 для дистанционного управления электрической системой обогрева автомобиля DEFA. При активации выход подает +12 В до тех пор, пока функция не будет снова деактивирована.Максимальная нагрузка: 350 мА. P-4.2 Канал 2 При активации выход заземляется, пока не будет нажата кнопка. Используйте по мере необходимости. Максимальная нагрузка: 350 мА. P-4.3 Выход канала 1 для электрического открывателя багажного отделения. При активации выход заземляется на 1 секунду. Это работает только тогда, когда будильник выключен. Максимальная нагрузка: 350 мА. P-4.4 Дополнительное оборудование, белый / красный провод Этот шлейф сигнализации защищает встроенное дополнительное оборудование в автомобиле, такое как радио / кассетные плееры или подобное оборудование.
Цепь нормально замкнута (NC) и вызывает аварийный сигнал при прерывании.П-4.5 6
7 Дверной переключатель 1, серый провод Этот вход нормально разомкнутый (NO) вызывает тревогу при замыкании на землю. Подключите к существующей цепи дверного переключателя автомобиля. Если в автомобиле есть два отдельных контура от переднего и заднего освещения салона, дверной курок 2 (P-4.12) можно использовать для задних дверей, а вход P-4.5 можно использовать для передних дверей.P-4.6 Триггер капота, черный / серый провод Этот вход нормально разомкнут (НР) и вызывает тревогу при подключении к массе, то есть при открытии капота. Установите переключатель капота DEFA. Он должен быть установлен в таком положении, чтобы к нему было невозможно получить доступ ни снизу, ни спереди автомобиля. P-4.7 Световой выход 1, серый / красный провод Подключается непосредственно к цепи правого указателя поворота в автомобиле. Максимальная нагрузка: 7,5 ампер.
(90 ватт). Плавлен с автоматическим выключателем. P-4.8 Выход сирены на сирену.Подключите два провода сирены к P4.8 и P4.9. P-4.9 Выход сирены на сирену. Подключите два провода сирены к P4.8 и P4.9. P-4.10 Сигнал зажигания, белый / коричневый провод Подключите провод к выходу зажигания выключателя зажигания. P-4.11 Спусковой механизм багажного отделения, белый провод Подключите к обычному выключателю багажного отделения, если он включен на массу. Если он переключен на плюс, необходимо использовать инвертор полярности DEFA. P-4.12 Дверной триггер 2, серый / белый провод Этот вход нормально разомкнут (НР) и вызывает тревогу при контакте с землей. Это дополнительный вход дверного переключателя для ОТРИЦАТЕЛЬНЫХ переключателей, который используется, в частности, когда есть отдельные цепи для передней панели. и задние двери.P-4.13 DEFAnet Этот выход может управлять силовым модулем DEFA. P-4.14 Световой выход 2, серый / черный провод Подключается непосредственно к цепи лампы левого указателя поворота в автомобиле.
Максимальная нагрузка: 7,5 ампер. (90 ватт). Плавлен с автоматическим выключателем. 7
8 Разъем P-5 для дополнительных датчиков См. отдельная инструкция по сборке. Заглушка P-6 для датчика разбивания стекла В стандартной комплектации для всех моделей с буквой G в обозначении модели.Если окно разбито, микрофон Glassbreake активирует тревогу. Штекер P-7 для микроволнового датчика Стандарт для всех моделей с буквой M в обозначении модели. Если датчик обнаруживает движение в салоне автомобиля, срабатывает сигнализация. P-8 Штекер для светодиода Универсальный светодиодный кронштейн: Светодиод может быть установлен на приборной панели, на передней стойке, на лобовом стекле или в любом другом месте по желанию. Встроенный светодиодный кронштейн: используйте сверло 8,0 мм, если кронштейн должен быть встроен в металлические пластины, сверло мм для пластика и сверло 7.Сверло 0 мм для набивочного материала. 8
9 Подготовка к установке Дополнительную информацию см.
В техническом руководстве. Мастерская всегда несет полную ответственность за выполнение всех необходимых мер безопасности при установке системы охранной сигнализации. Соблюдайте все инструкции производителя автомобиля. Перед выполнением любых подключений используйте вольтметр / мультиметр для проверки точек подключения.Всегда проверяйте, чтобы точки подключения были хорошо изолированы, используя, например, термоусадочную пластиковую трубку или изоляционную ленту. Избегайте установки точек подключения или установочных компонентов в непосредственной близости от модулей подушек безопасности или других систем безопасности. Сигнализация может срабатывать на всех бензиновых и дизельных автомобилях, имеющих источник питания 12 В. Важно: модули сигнализации DEFA серии 820 (без иммобилайзера DEFA) можно устанавливать только в автомобили с одобренными оригинальными иммобилайзерами; если это не так, сигнализация не подлежит утверждению типа.Список признанных оригинальных систем блокировки запуска можно получить в DEFA или в представительстве DEFA в вашей стране.
Размещение блоков сигнализации Центральный блок Прикрепите центральный блок под приборной панелью или в подходящем месте в салоне автомобиля с помощью пластиковых крепежных лент. Центральный блок не должен быть виден и должен быть по возможности недоступен. Важно: Центральный блок должен быть установлен так, чтобы его заглушки были обращены вниз, чтобы конденсат не мог стекать по кабелям в блок.Главный предохранитель Главный предохранитель (25 А) должен быть установлен рядом с источником тока. Сирена Устанавливается в моторном отсеке, как можно меньше подвергаясь воздействию воды и тепла от выхлопных газов или компонентов турбокомпрессора (минимальное расстояние 30 см). Отверстие сирены должно быть обращено вниз, чтобы в нем не скапливалась вода. Важно: никогда не устанавливайте сирену отверстием вверх. Доступ к сирене должен быть закрыт снизу автомобиля. Важно: никогда не устанавливайте сирену отверстием вверх.Датчик разбивания стекла Микрофон разбивания стекла устанавливается на приборной панели или в центральной консоли.
Очистите установочную поверхность средством для растворения жира, а затем закрепите датчик разбития стекла прилагаемой двусторонней липкой лентой. Светодиод Установите в приборную панель с помощью встроенного кронштейна или прикрепите к приборной панели / ветровому стеклу с помощью универсального кронштейна или двусторонней липкой ленты. Светодиод должен быть хорошо виден снаружи. Микроволновый датчик Предпочтительно расположение в центре крыши автомобиля, в 40 см от лобового стекла, под обшивкой крыши.Если это невозможно, его можно установить на центральной консоли. Датчик можно установить за пластиковыми крышками, но не за металлическими крышками, так как они будут блокировать волны от датчика. Обратите внимание, что у некоторых автомобилей в обшивке крыши есть тонкая металлическая пленка. В этих случаях датчик нельзя устанавливать за этой накладкой. 9
10 Если датчик прикреплен к внутренней части крыши, стрелка с меткой UP обычно находится на нижней стороне датчика и указывает в сторону задней части салона автомобиля.
Если датчик прикреплен к центральной консоли, стрелка с меткой ВВЕРХ обычно находится на стороне датчика, обращенной внутрь. Чувствительность датчика необходимо проверить и при необходимости отрегулировать после установки. Важно: незакрепленные металлические предметы, такие как ключи, монеты и т. Д., Могут вызвать срабатывание сигнализации, если они находятся слишком близко к датчику. Подводящий кабель антенны Активная (белая) часть антенны должна быть прикреплена как можно свободнее, а не рядом с металлическими или другими выводами.Положение антенны в значительной степени влияет на ее дальность действия. Знаки аварийной сигнализации (наклейки) Наклейте наклейки DEFA Auto Security как на передние боковые окна, так и на лобовое или заднее стекло. Важно: наклейки не должны закрывать поле зрения водителя. Наклейка с подробной информацией о модели сигнализации прикреплена в перчаточном ящике. Соответствующая модель проверяется. Внимание! Модуль автоматической охранной сигнализации DEFA должен быть установлен в соответствии с инструкциями производителя.
Рекомендуется выбрать хороший установщик.С национальным дистрибьютором можно связаться, чтобы указать подходящих установщиков. Свидетельство об установке, поставляемое с сигнализацией, заполняется установщиком. Внесение любых изменений или дополнений в сигнализацию автоматически аннулирует сертификат установки. 10
11 Руководство пользователя Дополнительную информацию см. В техническом руководстве. Ваша автоматическая охранная сигнализация DEFA активируется с помощью двух кнопок (A и B) на пульте дистанционного управления.Две кнопки легко отличить друг от друга, так как кнопка A заметно выше. Кнопка A Кнопка B «Нажать» означает, что вы нажимаете кнопку максимум на 1 секунду. «Удерживать» означает, что вы нажимаете кнопку не менее 2 секунд. Включение сигнализации (постановка на охрану). Нажмите кнопку А. Лампы указателей поворота мигнут один раз, а сирена сигнализации издаст «щелчок», подтверждая включение сигнализации.
Светодиод светится в течение 20 секунд, а затем начинает мигать, подтверждая, что сигнализация и датчик разбивания стекла / микроволны включены. Нажмите кнопку A. Временное отключение датчиков. Вы также можете включить сигнализацию, не активируя датчики движения в салоне или столкновения с экраном.Это может быть необходимо, если, например, в автомобиле осталось домашнее животное. Быстро включите и снова выключите зажигание. Выйдите из автомобиля и в течение 30 секунд дважды кратковременно нажмите кнопку A (максимум 3 секунды между нажатием). Светодиод сразу начинает мигать. Лампы указателей поворота горят прибл. 1 секунда. Датчики снова активируются, когда вы в следующий раз включите будильник. 11
12 Тревога ВЫКЛ. (Снятие с охраны) Нажмите кнопку B.Лампы указателя поворота дважды мигают, подтверждая, что сигнализация выключена. Светодиод перестает мигать. Нажмите кнопку B. Если сигнализация сработала во время вашего отсутствия, лампы указателей поворота мигают пять раз, а сирена издает пять «щелчков», когда сигнализация отключена.
Светодиод теперь мигает, показывая, какой датчик вызвал тревогу. (см. таблицу на стр. 16). Аварийное отключение Если пульт дистанционного управления сломан или утерян, отключите сигнализацию следующим образом: Ваш аварийный код: Центральный блок DEFA 821X P / N: 10011 DS / N: PIN-код: X- X- X- X- X Изготовлено ДЕФА А.S, Норвегия Горячая линия DEFA: отпереть и открыть дверь автомобиля. Тревога активирована! 2. Включите и выключите зажигание пять раз подряд. Светодиод «мерцает». 3. Когда вы снова включите зажигание, светодиод будет мигать. Дайте светодиоду мигнуть столько раз, сколько первая цифра вашего PIN-кода, и выключите зажигание. 4. Включите зажигание и повторяйте процедуру, пока не наберете все цифры в вашем PIN-коде. Теперь сигнализация снята с охраны. Если вы ошиблись, начните заново с шага 3. Немедленно заводите машину! А.Проконсультируйтесь с вашей картой с PIN-кодом и найдите свой пятизначный PIN-код (личный идентификационный номер) B. Следуйте инструкциям на карте аварийного кода.
Важно: если вы допустили ошибку, вы можете повторять процедуру с 3. и далее так часто, как обязательный. Важно: не забывайте — держите свой ПИН-код при себе. Не оставляйте его в машине! 12
13 Кодирование новых блоков дистанционного управления Дополнительную информацию см. В техническом руководстве.A B C D E F G Нажмите кнопку B, чтобы выключить сигнализацию и иммобилайзер (при наличии). Также можно использовать аварийное отключение. Включите и выключите зажигание 5 раз. Светодиод быстро мигает. При повторном включении зажигания светодиод должен мигать. Дайте светодиоду мигнуть столько раз, сколько первая цифра вашего PIN-кода, а затем снова выключите зажигание (светодиод перестанет мигать). Снова включите зажигание и повторяйте процедуру до тех пор, пока не будут введены все цифры PIN-кода.Светодиод быстро мигает. Если вы ошиблись, начните снова с «C» с первой цифры PIN-кода. Снова включите зажигание и одновременно нажмите кнопки A и B программируемого пульта дистанционного управления (по одному пульту дистанционного управления).
Нажимайте обе кнопки, пока не услышите звуковое и световое подтверждение. Выключите зажигание, как только все блоки дистанционного управления будут закодированы. Важно: Кодирование ключей удаляет старые коды. Можно закодировать максимум 4 пульта дистанционного управления. Подключение центрального замка. Дополнительную информацию см. В техническом руководстве.P-1 Multiplug, Central Locking Plug для подключения центрального замка, см. схема, стр. 14 Штекер центрального замка P-1 должен быть настроен (назначен) для соответствующего автомобиля. Если функция центрального замка неясна, следует обратиться к оригинальным принципиальным схемам автомобиля. Всегда проверяйте с помощью вольтметра / мультиметра перед выполнением любых подключений. Неиспользуемые провода в вилке P-1 необходимо отсоединить или заизолировать. Важно: каждое реле в центральном блоке может быть нагружено максимум 15 ампер.Центральный блок может быть поврежден при правильном подключении или перегрузке. Выход П-1.1 защищен автоматическим выключателем.
P-1 Штекер Функция Цвет P1.1 Батарея + красный / белый P1.2 Блокировка NC Белый / оранжевый P1.3 Заземление Черный / белый P1.4 Разблокировка COM Желтый P1.5 Блокировка COM Белый / синий P1.6 Блокировка NO Белый / коричневый P1.7 Разблокировка NO Зеленый P1.8 Разблокировка NC Сиреневый 13
14 На схемах ниже показаны обычные варианты схем.+12 В РАЗБЛОКИРОВКА БЛОКИРОВКИ + 12 В РАЗБЛОКИРОВКА БЛОКИРОВКИ 15A GND 15A GND СИНИЙ ЗЕЛЕНЫЙ К двигателю центрального замка DEFA 1 A: ЗАБЛОКИРОВАТЬ И РАЗБЛОКИРОВАТЬ 4 + 12В РАЗБЛОКИРОВАТЬ БЛОКИРОВАНИЕ + 12В РАЗБЛОКИРОВАТЬ БЛОКИРОВАНИЕ 15A GND 15A GND B: РАЗБЛОКИРОВАТЬ A: БЛОКИРОВАТЬ B: РАЗБЛОКИРОВАТЬ A: БЛОКИРОВАТЬ V РАЗБЛОКИРОВАТЬ LÅS + 12В РАЗБЛОКИРОВАТЬ ЗАБЛОКИРОВАТЬ 15A GND 15A GND B: РАЗБЛОКИРОВАТЬ A: ЗАБЛОКИРОВАТЬ 3 A: ЗАБЛОКИРОВАТЬ И РАЗБЛОКИРОВАТЬ 6 14
15 Программирование аварийной сигнализации Дополнительную информацию см.
В техническом руководстве.Сигнализация содержит регистр, который позволяет программировать или изменять различные функции с помощью пульта дистанционного управления и ключа зажигания. Пожалуйста, прочтите подробное описание функций на следующих страницах. Функция Описание 1 Причина срабатывания сигнализации 2 Количество пультов дистанционного управления 3 Звуки сигнализации 4 Пассивная постановка на охрану 5 Чувствительность микроволнового датчика 6 Пульт дистанционного управления с ползунковым переключателем 7 Центральный замок — время 8 Центральный замок — функция безопасности 9 Блокировка стартера / иммобилайзер 10 Удобная блокировка 11 Функция паники (дистанционное включение тревоги) 12 Производственные настройки 13 Ввод PIN-кода для иммобилайзера Определение нажатия и удерживания кнопок программирования на пульте дистанционного управления: Нажатие означает: нажатие не более 1 секунды.Удержание означает: нажмите не менее 2 секунд. Процедура программирования: A) Включите и выключите зажигание пять раз.
Светодиод быстро мигает. B) Снова включите зажигание, дайте светодиодному индикатору дважды мигнуть и снова выключите зажигание. Повторить 5 раз. После пятого раза светодиод будет быстро мигать, когда зажигание снова выключится. C) Включите зажигание. Нажмите кнопку A, чтобы активировать функцию 1. Активная функция обозначается количеством звуковых сигналов. D) Повторное нажатие кнопки A активирует следующую функцию.Удерживайте кнопку A, чтобы вернуться к предыдущей функции. E) Когда вы достигли желаемой функции, вы можете запрограммировать или изменить функцию, как описано на страницах 16, 17, 18 и 19. F) Если вы хотите запрограммировать еще несколько функций, нажмите кнопку A. Затем вы можете выбрать функцию. нажатием или удержанием кнопки A. G) После завершения программирования выключите зажигание. 15
16 Функция 1: Причина срабатывания сигнализации Нажмите кнопку A, чтобы получить информацию о причине срабатывания последней сигнализации.
Нажмите кнопку B для получения информации о сработавшей ранее тревоге. Удерживайте кнопку B, чтобы вернуться к последнему будильнику. Удерживайте кнопки A и B одновременно, чтобы стереть память причины триггера. Центральный блок может хранить до 10 тревожных событий. Тревога вызвана: Количество миганий Дополнительный датчик 1 2 Открытая дверь 3 Открытый капот 4 Открытая крышка багажного отделения 5 Зажигание 6 Попытка удалить защищенный объект (стереосистему, лыжный бокс и т. Д.) 7 Микроволновый датчик 8 Датчик разбивания стекла 9 Дополнительный датчик 2 10 Функция 2: Количество пультов дистанционного управления Нажмите кнопку B, чтобы узнать, сколько пультов дистанционного управления подключено к системе сигнализации.Количество единиц обозначается количеством вспышек. Функция 3: Звуковой сигнал. Нажмите кнопку B, чтобы активировать установленный звуковой сигнал на 5 секунд. Нажмите кнопку B еще раз, чтобы выбрать следующий звуковой сигнал, и удерживайте кнопку B, чтобы вернуться к предыдущему звуку.
Всего доступно 6 различных звуков. Функция 4: Пассивная постановка на охрану Пассивная постановка на охрану означает, что сигнализация включается через 12 секунд после выключения зажигания и закрытия дверей. Нажмите кнопку B, чтобы указать: 1 мигание, если выбрана активная постановка на охрану, 2 мигания, если выбрана активная постановка на охрану, независимо от открытой двери.Мигает 3 раза, если выбрана пассивная постановка на охрану. Нажмите кнопку B еще раз, чтобы выбрать следующую функцию. Количество звуковых сигналов подтверждения указывает на текущий установленный статус. Функция 5: Чувствительность микроволнового датчика. В целях контроля уровень чувствительности детектора указывается числом (1-8) коротких сигналов на светодиодах. Самый низкий уровень — 1, самый высокий — 8. Заводская установка — 3. 2. Нажмите кнопку B, чтобы указать допустимый уровень чувствительности. Нажмите кнопку B, чтобы увеличить уровень чувствительности, удерживая кнопку B, чтобы уменьшить уровень.Количество миганий светодиода указывает уровень.
Выбранный уровень чувствительности подтверждается отпусканием детектора. Последний выбранный шаг будет выбранным уровнем чувствительности. 16
17 Функция 6: Настройка пульта дистанционного управления с помощью ползункового переключателя Пульт дистанционного управления с ползунковым переключателем можно запрограммировать на 3 различных режима: Программирование Нажмите A Удерживайте A Нажмите B Удерживайте B Положение ползункового переключателя 1 мигает Тревога ВКЛ. Закрыть окна Тревога ВЫКЛ. мигает Аварийный сигнал ВКЛ. Закройте сдвижную крышу или канал 2. Аварийный сигнал выключен. Откройте сдвижную крышу или канал 1.(Открыто багажное отделение) 3 мигания (Стандарт) Сигнализация ВКЛ. Закрытая сдвижная крыша или канал 3. (Обогрев автомобиля ВКЛ.) Сигнализация ВЫКЛ. Наклонная сдвижная крыша или Канал 3. (Обогрев автомобиля ВЫКЛ.) Программирование 1 обеспечивает функции, указанные в строке 1 таблицы Программирование 2 обеспечивает функции в строках 1 и 2 таблицы Программирование 3 обеспечивает функции в строках 1, 2 и 3 таблицы Если выбрано программирование 1, среднее и верхнее положения ползункового переключателя могут использоваться для управления сигналами тревоги в 2 другие автомобили.
Если выбрано программирование 2, верхнее положение ползункового переключателя можно использовать для включения сигнализации в других автомобилях.Если должны работать только электрические стеклоподъемники, можно использовать оригинальный пульт дистанционного управления (1: 1). Пульт дистанционного управления с ползунковым переключателем не требуется. Предварительным условием для программирования является кодирование пульта дистанционного управления с ползунковым переключателем в нижнем положении. Нажмите кнопку B, чтобы указать программирование ползункового переключателя: 1 сигнал соответствует точке 1, 2 сигнала — точке 2 и 3 сигнала — точке 3. Нажмите кнопку B еще раз, чтобы выбрать следующую процедуру программирования, или удерживайте кнопку B, чтобы выбрать предыдущее программирование. процедура.Количество сигналов подтверждения указывает на выбранную процедуру программирования. 17
18 Функция 7: Время включения центрального замка Нажмите кнопку B, чтобы указать текущий импульсный коэффициент центрального замка.
1 мигание = импульс 1 секунда 2 мигания = импульс 4 секунды 3 мигания = импульс 0,5 секунды Нажмите кнопку B еще раз, чтобы выбрать длину следующего импульса, удерживайте кнопку B, чтобы выбрать предыдущий коэффициент.Количество сигналов подтверждения указывает на выбранный запрограммированный коэффициент импульса. Функция 8: Функции безопасности центрального замка Нажмите кнопку B, чтобы указать текущую настройку. Когда выбрана эта функция, она запрещает активацию сигнализации до тех пор, пока вы не выйдете из автомобиля. Эта функция предназначена для автомобилей с системой запирания для центрального замка. 1 мигание = функция безопасности не выбрана (стандарт) 2 мигания = выбрана функция безопасности Нажмите кнопку B еще раз, чтобы выбрать следующую функцию.Количество подтверждающих сигналов указывает на текущий статус. Функция 9: Блокировка пуска / иммобилайзер Нажмите кнопку B, чтобы указать текущую настройку. Стартерное отключение: функция блокировки включается одновременно с включением сигнализации и отключается, как только сигнализация снова выключается. Иммобилайзер: эта функция блокировки активируется автоматически через 30 секунд после выключения зажигания и открытия двери. Иммобилайзер отключается, когда вы выключаете сигнализацию. Если вы не заведете автомобиль в течение 30 секунд после открытия дверей, иммобилайзер снова активируется.1 вспышка = иммобилайзер выбран (стандарт для 823) 2 мигания = выбрано отключение стартера (стандарт для 821). Нажмите кнопку B еще раз, чтобы выбрать иммобилайзер, удерживайте кнопку B, чтобы выбрать блокировку запуска. Количество подтверждающих сигналов указывает на текущий статус. Функция 10: Комфортное закрывание При включении сигнализации можно одновременно запереть двери и закрыть сдвижную крышу. Нажмите кнопку B, чтобы указать текущую настройку. 1 мигание = функция не выбрана (стандарт) 2 мигания = комфортное закрывание с помощью исходной системы 3 мигания = комфортное закрывание с помощью силового модуля DEFA, закрывает только электрические стеклоподъемники Нажмите кнопку B еще раз, чтобы выбрать следующий режим удобного закрывания, или удерживайте кнопку B, чтобы выберите предыдущий.Количество сигналов подтверждения указывает, какой режим удобного закрытия выбран. Применение функции: удерживайте кнопку A, пока все элементы не закроются. Функция 11: Паника 18
19 Нажмите кнопку B, чтобы указать текущую настройку. 1 мигание = функция не выбрана 2 мигания = функция паники активна, когда кнопки A и B удерживаются одновременно (стандарт) 3 мигания = функция паники активируется в течение 30 секунд после одновременного нажатия кнопок A и B.Тем временем кнопки можно отпустить. Нажмите кнопку B еще раз, чтобы выбрать следующую функцию. Количество подтверждающих сигналов указывает на текущий статус. Функция 12: Заводские настройки Следующие настройки предоставляются на заводе: Функция 3: Номер звукового сигнала. 1 Функция 4: Активная постановка на охрану Функция 6: Программирование всех функций (настройка 3) Функция 7: Время активации центрального замка; 0,5 секунды Функция 8: функция безопасности не выбрана Функция 9: выбрана блокировка пуска (821). Иммобилайзер выбран (823) Функция 10: Комфортное закрытие; ВЫКЛ. Функция 11: функция паники, активна, пока удерживаются кнопки A и B. Если фактические настройки отличаются от заводских, их можно сбросить до указанных выше, нажав кнопку B.Функция 13: Ввод ПИН-кода в блоке иммобилайзера Если модуль иммобилайзера модернизируется или заменяется, ПИН-код должен быть введен в сигнализацию, чтобы автомобиль мог быть запущен. 1. Нажмите кнопку B 2. Выключите зажигание 3. Включите зажигание, дайте светодиоду мигать столько же раз, сколько первая цифра PIN-кода иммобилайзера 4. Выключите зажигание 5. Повторяйте пункты 3 и 4, пока не введете все цифры вашего ПИН-кода. При последнем выключении зажигания светодиод быстро мигает.Это означает, что вы завершили кодирование. 6. Если вы допустили ошибку, вам придется перезапустить процедуру сначала. 19
20 Технические характеристики Центральный блок, серия 800 Рабочее напряжение: 9-15 В постоянного тока. Рабочая температура: от -40 C до +85 C Внешние размеры: 159 x 80 x 34 мм Потребляемая мощность Включено Снято 820 / 821X-G: 13 мА 18 мА 820 / 821X-M: 19 мА 18 мА 820 / 821X-MG: 19 ма 18 ма 820 / 821X-MG Резервное копирование 29 ма 35 ма 823X-MG: 19 ма 18 ма Утверждение Знак одобрения EEC будет нанесен на этикетку, которая находится на задней стороне всех одобренных устройств.20
Dragon kiteshield osrs
Furry oc maker
Турбо-комплект M52b25
Попробуйте двухдневную бесплатную пробную версию сегодня. Присоединяйтесь к более чем 473,5 тысячам других игроков OSRS, которые уже зарабатывают на Grand Exchange. Ознакомьтесь с нашим Руководством OSRS Flipping Guide (2021), в котором рассказывается о механике GE, инструментах для поиска переворотов и графиках цен.
Дымовая лавка открыта ближе всего ко мне
Кусочек драконьего металла — предмет, который выпадает исключительно из непреклонных драконов.Срез вместе с металлическим осколком дракона и квадратным щитом дракона используется для создания драконьего воздушного щита. Для этого требуется 75 уровень кузнечного дела и игрок получает 1000 опыта. Осколок драконьего металла — это предмет, который можно купить в Оружейной гильдии мифов, для доступа к которому требуется завершение Dragon Slayer II. Осколок можно использовать вместе с металлическим срезом дракона и квадратным щитом дракона, чтобы создать воздушный щит дракона. Для этого требуется 75-й уровень кузнечного дела и игрок получает 1000 опыта.
Генератор фальшивых слов из букв
Металлический осколок дракона — это предмет, который можно купить в Оружейной Гильдии Мифов, для доступа к которому требуется завершение Dragon Slayer II. Осколок можно использовать вместе с металлическим срезом дракона и квадратным щитом дракона, чтобы создать воздушный щит дракона. Для этого требуется 75-й уровень кузнечного дела и игрок получает 1000 опыта. Кайтшит дракона — редкая часть брони и лучший неразлагаемый щит в RuneScape. Требования к владению щитом — 60 Защиты.Вы можете получить его, победив всех мастеров-убийц и столкнувшись с мастером-старейшиной-убийцей, или купив на Великой бирже. Оружие Main Off Урон — — Точность — — Стиль — Атрибуты Рейтинг брони0 Бонус к жизни0 Бонус молитвы0 …
Причина перегрева компрессора холодильника
Купите кайтшит RS3 Dragon на RPGStash.com. Мы знаем, что ваше время ценно, и поэтому мы доставляем кайтшит «Дракон» быстро и надежно. Никаких задержек и суеты. Вы платите, а мы разбираемся с вами.Как я могу получить предметы на свою учетную запись Runescape?
Bmw x5 g05 передняя губа
Je hebt 20 Attack nodig om de wapens te dragen en 20 Defense om het armor te dragen. Mithril is te maken met Smithing en het is beschikbaar voor gratis Spelers Wapens Mithril wapens Mithril 2h sword -4 30 24-4 0 0 0 0 0 -1 31 0 Мифриловый боевой топор -2 22 17 0…
Основы физики Холлидей 12-е издание
Рунический кайтщит — это декоративный кайтщит с изображением дракона.Игроки могут нарисовать их на перьевой стойке в мастерской принадлежащего игроку дома на 43 уровне Ремесло с руническим кайтшитом и соответствующим гербом от сэра Ренити в Замке Белых Рыцарей. Сделано на мольберте со щитом или мольберте, когда ваш семейный герб установлен в виде дракона. Использование: Декоративная защита, эквивалентная руне. Примечания: для изготовления требуется 43 предмета. Вам не нужно использовать собственный мольберт для щита или мольберт для баннеров, чтобы сделать этот кайтшит. Вы можете использовать чужие, если они вам позволят.
Освежители воздуха для ночников с розеткой
Другие варианты этой позиции см. Без орнамента, с шипами. Воздушный щит дракона (или) — это декоративная версия воздушного змея дракона. Это может быть сделано только с помощью набора украшений для змея-дракона (или) на обычном змеином драконьем щите. Это не дает никаких дополнительных бонусов и используется исключительно в эстетических целях. Набор рунных доспехов Bandos (LG) Набор, содержащий полный шлем, пластинчатое тело, ноги и кайтшит. Предметы Броня армадила Шлем Бригантина Цепная повязка Бандо.RuneScape, иногда называемый RuneScape 3, представляет собой многопользовательскую фэнтезийную ролевую онлайн-игру (MMORPG), разработанную и опубликованную Jagex, впервые выпущенную в январе 2001 года.
Проект системы управления заработной платой на php
Большой металлический щит. Воздушный щит дракона. Большой металлический щит. Текущая ориентировочная цена 329.5k. Сегодняшнее изменение 3135 + 0% Изменение за 1 месяц — 2362 + 0% Изменение за 3 месяца — 6677 — 1% Изменение за 6 месяцев — 21,9 тыс. — 6% Драконий кайтщит — это воздушный щит, созданный из комбинации квадратного щита дракона, металлического осколка дракона и кусок металла дракона в Кузнице Дракона.Этот процесс требует 75 кузнечных работ и дает 1000 опыта кузнечного дела. Игроки могут прикрепить комплект украшений для змеевика дракона, полученный из свитков основных подсказок, чтобы создать драконий каплевидный щит с золотой отделкой (g).
Лучшая цена на амортизаторы koni rv
Dragon kiteshield — статистика Grand Exchange для Old School RuneScape.
Цены на каяк Hobie
Осколок драконьего металла — это предмет, который можно купить в Оружейной Гильдии Мифов. Для доступа к нему требуется завершение Dragon Slayer II.Осколок можно использовать вместе с металлическим срезом дракона и квадратным щитом дракона, чтобы создать воздушный щит дракона. Для этого требуется 75-й уровень кузнечного дела и игрок получает 1000 опыта. Комплект украшений для кайтшита дракона. Используйте на кайтшите дракона, чтобы он выглядел красивее! Текущая ориентировочная цена 3.9млн. Сегодняшнее изменение 0 + 0%; Изменение за 1 месяц — 852.0k — 18%;
Настройка резкости Tcl
Мифриловый каплевидный щит, Адамантовое пластинчатое тело, Рунический каплевидный щит (редко), Рунический квадратный щит (редко), Руническое кольчужное тело, Руническое пластинчатое тело, Шлем дракона.Амулеты: 3 зеленых амулета (наиболее распространенные), 3 золотых, 3 малиновых, 3 синих амулета (наименее распространенные) Разное:
Цена стальной балки за фут
Оружие Руническое оружие требует 40 уровня атаки. Раньше они были самым сильным оружием, доступным для свободных игроков, до появления экипировки Corrupted Dragon, которая пришла с обновлением PvP миров, однако они по-прежнему считаются лучшим оружием F2P, поскольку не исчезают, как коррумпированный дракон. Рунический кайтщит — это декоративный кайтщит с изображением дракона.Игроки могут нарисовать их на стенде для рисования в Мастерской принадлежащего игроку дома на 43 уровне Изготовление с руническим кайтшитом и соответствующим гербом от сэра Ренити в Замке Белых Рыцарей.
Проблемы с Fitbit
Игрушечный воздушный змей был выпущен Jagex как первоапрельская шутка 1 апреля 2008 года, играя с ожиданием игроков получить кайтшит Dragon; аналогично пластинке Дракона и первоапрельским розыгрышам игрушечной лошадки из прошлых лет. На следующий день название было изменено с воздушного змея Dragon на воздушного змея Toy.
Что произошло между Дейвом и Ральфом на злом тунце
Зеленые драконы обладают высокой магической защитой, поэтому рекомендуется атаковать в ближнем или дальнем бою.




К примеру, могут быть открыты двери, багажник или капот. “Сигналка” может так реагировать на отключенный ручной тормоз. При этом на экране пульта вы увидите, какая именно зона охраны не сработала. Когда неисправность будет устранена, сигнализация автоматически возьмет проблемную зону под защиту.
Для включения надо нажать на индикатор в виде перечеркнутого громкоговорителя.


Для установки снимите облицовочные элементы рулевой колонки. Надежно зафиксируйте блок саморезами, чтобы он не вибрировал во время движения.
В некоторых случаях “сигналка” вовсе не будет реагировать на команды, отправляемые пультом.
Если процедура программирования завершена успешно, сирена издаст звуковой сигнал.
Сирена сигнализирует о выполнении привязки.


Он определяет лёгкие и сильные удары;


Щелкните правой кнопкой мыши New Simple Volume и нажмите Next до Finish .
0) и RGB индикаторы (около радиатора чипсета B550) означает, что BIOS вашей материнской платы в настоящее время обновляется. ЕСЛИ ДА, ПЕРЕЙДИТЕ К ШАГУ 14.